поиск в избранное карта сайта
  Audi РЕМОНТ ОБСЛУЖИВАНИЕ ЭКСПЛУАТАЦИЯ АВТОМОБИЛЕЙ
Ауди А4, С4. Audi A4 / S4 (с 2000 года выпуска)

полные технические характеристики. диагностика. электросхемы
 
Главная
 
Audi
A4 / S4
1. Введение
2. Органы управления и приёмы безопасной эксплуатации
3. Текущий уход и обслуживание
4. Двигатель
5. Системы охлаждения, отопления и воздушного кондиционера
6. Системы питания, выпуска и снижения токсичности отработавших газов
7. Системы электрооборудования двигателя
8. Ручная коробка переключения передач
9. Автоматическая трансмиссия
10. Сцепление, приводные валы и дифференциал
11. Тормозная система
12. Подвеска и рулевое управление
13. Кузов
13.1. Общие сведения и меры безопасности при проведении кузовных работ
13.2. Чистка и уход
13.3. Ремонт незначительных повреждений кузовных панелей
13.4. Ремонт значительных повреждений кузова
13.5. Внешнее оборудование
13.5.1. Установка передней панели в положение для технического обслуживания
13.5.2. Снятие и установка крышки водосборного отсека
13.5.3. Снятие и установка переднего бампера
13.5.4. Снятие и установка локера заднего крыла
13.5.5. Снятие и установка локера переднего крыла
13.5.6. Снятие и установка переднего крыла
13.5.7. Снятие и установка заднего бампера
13.5.8. Снятие и установка / регулировка капота
13.5.9. Снятие и установка троса привода капота
13.5.10. Снятие и установка фиксатора замка
13.5.11. Снятие и установка облицовки передней двери
13.5.12. Снятие и установка облицовки задней двери
13.5.13. Снятие и установка двери
13.5.14. Регулировка двери
13.5.15. Снятие и установка рамы окна передней двери
13.5.16. Снятие и установка стеклоподъёмника
13.5.17. Снятие и установка электродвигателя привода стеклоподъёмника
13.5.18. Снятие и установка замка двери
13.5.19. Снятие и установка ручки двери
13.5.20. Снятие и установка цилиндра замка двери
13.5.21. Снятие и установка облицовки крышки багажника
13.5.22. Снятие, установка и регулировка крышки багажника
13.5.23. Снятие и установка замка багажника
13.5.24. Снятие и установка облицовки двери задка (Универсал)
13.5.25. Снятие и установка двери задка (Универсал)
13.5.26. Снятие и установка замка двери задка (Универсал)
13.5.27. Снятие и установка наружного зеркала
13.5.28. Снятие и установка молдингов
13.5.29. Снятие, установка и проверка сдвижной панели крыши
13.5.30. Снятие и установка накладки сдвижной панели крыши
13.5.31. Проверка и регулировка исходного положения сдвижной панели крыши
13.5.32. Снятие и установка уплотнителя сдвижной панели
13.5.33. Замена резинок щёток стеклоочистителя
13.5.34. Снятие и установка жиклёра стеклоомывателя ветрового стекла
13.5.35. Снятие и установка жиклёра омывателя заднего стекла
13.5.36. Снятие и установка рычага очистителя ветрового стекла
13.5.37. Снятие и установка рычага очистителя заднего стекла
13.5.38. Снятие и установка жиклёров фароомывателя
13.5.39. Регулировка рычагов стеклоочистителя
13.6. Оборудование салона
14. Бортовое электрооборудование
 


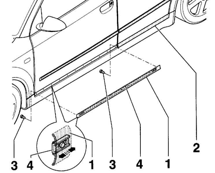
13.5.28. Снятие и установка молдингов

Молдинги приклеены к кузову и при их снятии разрушаются.

Снятие

 ПОРЯДОК ВЫПОЛНЕНИЯ

  1. Нагрейте частями молдинги (1) и (2) феном и отделите их от двери.

Установка

 ПОРЯДОК ВЫПОЛНЕНИЯ

  1. Очистите место, куда будет приклеиваться планка, бензином, обработайте силиконовым удалителем и просушите.

Молдинги следует приклеивать только при комнатной температуре. Для этого автомобиль и планки минимум за два часа до приклеивания должны быть размещены в помещении с комнатной температурой.

  1. Снимите защитную пленку (3) с двухсторонней клейкой лентой (4). Вставьте молдинг цапфами в отверстия на двери и приклейте.
  2. Нагрейте молдинг феном до температуры 40 °С и сильно прижмите или прокатайте.

После приклейки молдингов держите автомобиль в течение четырёх часов при комнатной температуре.

Молдинг нижней балки

Снятие

 ПОРЯДОК ВЫПОЛНЕНИЯ

  1. Выверните винты (3) и выдвиньте передний молдинг (1) назад из держателей.

Аналогичным образом снимите задний молдинг (2).

Установка

 ПОРЯДОК ВЫПОЛНЕНИЯ

  1. Установите молдинг на нижнюю балку, вдвиньте вперед в держатели и закрепите винтами.

« предыдущая страница
13.5.27. Снятие и установка наружного зеркала
^
к оглавлению
следующая страница »
13.5.29. Снятие, установка и проверка сдвижной панели крыши

Copyright © 2026 Все права защищены. Все торговые марки являются собственностью их владельцев.