поиск в избранное карта сайта
  Audi РЕМОНТ ОБСЛУЖИВАНИЕ ЭКСПЛУАТАЦИЯ АВТОМОБИЛЕЙ
Ауди А4, С4. Audi A4 / S4 (с 2000 года выпуска)

полные технические характеристики. диагностика. электросхемы
 
Главная
 
Audi
A4 / S4
1. Введение
2. Органы управления и приёмы безопасной эксплуатации
3. Текущий уход и обслуживание
4. Двигатель
5. Системы охлаждения, отопления и воздушного кондиционера
6. Системы питания, выпуска и снижения токсичности отработавших газов
6.1. Системы питания бензинового и дизельного двигателей
6.2. Система впрыска топлива бензинового двигателя
6.3. Система впрыска топлива дизельного двигателя
6.4. Системы выпуска и снижения токсичности отработавших газов. Турбокомпрессор
6.4.1. Снятие и установка системы выпуска. Замена центрального, дополнительного глушителя, концевой трубы
6.4.2. Корректировка прокладки системы выпуска / концевой трубы
6.4.3. Системы снижения токсичности выпуска - общая информация
6.4.4. Каталитический преобразователь
6.4.5. Снятие и установка каталитического преобразователя и лямбда-зондов
6.4.6. Турбокомпрессор - общая информация и меры предосторожности
6.4.7. Интеркулер - общая информация
7. Системы электрооборудования двигателя
8. Ручная коробка переключения передач
9. Автоматическая трансмиссия
10. Сцепление, приводные валы и дифференциал
11. Тормозная система
12. Подвеска и рулевое управление
13. Кузов
14. Бортовое электрооборудование
 


6.4.3. Системы снижения токсичности выпуска - общая информация

1 — Адсорбер системы EVAP
2 — От топливного бака
3 — Клапан управления продувкой адсорбера EVAP
4 — Контрольный клапан разрежения в адсорбере EVAP
5 — Кожух воздухоочистителя
6 — Турбокомпрессор
7 — Клапан управления дополнительным впуском воздуха
8 — Регулятор давления топлива
9 — К усилителю тормозов
10 — Вакуумный контрольный клапан
11 — Вакуумный усилитель
12 — К насосу определения утечек
13 — Вакуумная камера
14 — Вакуумный распределитель «T»
15 — Вакуумный контрольный клапан
16 — Э/м клапан дополнительного впуска воздуха

17 — Вентиляция картера
18 — Вакуумный контрольный клапан
19 — К насосу определения утечек
20 — Вакуумный контрольный клапан
21 — Охладитель турбокомпрессора
22 — Модуль управления клапаном дроссельной заслонки
23 — Клапан рециркуляции турбокомпрессора
24 — Впускной воздуховод
25 — Э/мотор насоса дополнительного впуска воздуха
26 — Выключатель ГУР
27 — Модуль управления клапаном дроссельной заслонки
28 — Клапан управления продувкой адсорбера EVAP
29 — Датчик давления нагнетаемого воздуха

Cхема соединения вакуумных линий. Двигатель V6

1 — Усилитель тормозов
2 — Вакуумный контрольный клапан
3 — Вакуумная камера (для переключающего клапана впускного воздуховода)
4 — Вакуумный контрольный клапан
5 — Корпус дросселя
6 — Вакуумная камера
7 — Кожух воздухоочистителя
8 — Впускной воздуховод
9 — Адсорбер системы EVAP
10 — Клапан управления продувкой адсорбера EVAP

11 — Регулятор давления топлива
12 — Вакуумный распределитель «T» к клапану EGR и К/В
13 — Вакуумный контрольный клапан
14 — Вакуумный распределитель «T» к К/В
15 — К К/В
16 — Переключающий клапан впускного воздуховода
17 — Э/магнитный клапан управления разрежением EGR
18 — Звукопоглотитель
19 — Контрольный клапан EGR

Бензиновые модели

В системах питания всех бензиновых моделей должен использоваться только неэтилированный бензин. Система управления двигателем функционирует таким образом, чтобы получить максимальную отдачу от двигателя при минимальном расходе топлива и токсичности отработавших газов. Система улавливания паров топлива предотвращает попадание их из топливного бака в атмосферу. Установлена система рециркуляции отработавших газов.

Система вентиляции картера

Для устранения утечек несгоревших углеводородов в атмосферу двигатель полностью герметизирован. Газы и пары масла, образующиеся в картере, через сетчатый фильтр попадают во впускной трубопровод и сгорают в цилиндрах вместе с топливом.

Газы удаляются из картера за счёт разницы давления в картере и впускном трубопроводе (давление в картере выше).

Каталитический преобразователь

Для снижения количества вредных выбросов в атмосферу на всех бензиновых моделях в систему выпуска встроен трёхфункциональный каталитический преобразователь. Система управления впрыском топлива имеет обратную связь, в которую включён лямбда-зонд. Этот датчик, установленный в системе выпуска, постоянно информирует блок управления о составе отработавших газов. В зависимости от полученных данных, блок управления корректирует качество смеси, подаваемой в камеры сгорания и, таким образом, оптимизирует сгорание топлива.

В лямбда-зонд встроен нагревательный элемент, включаемый блоком управления через специальное реле. Рабочая поверхность лямбда-зонда чувствительна к изменению содержания кислорода в газах. В зависимости от концентрации кислорода, датчик посылает сигналы разного напряжения. Если смесь переобогащена - содержание кислорода в отработавших газах очень низкое, датчик подаёт сигналы с низким напряжением. Напряжение увеличивается по мере обеднения смеси и увеличения содержания кислорода в газах. Наиболее эффективно преобразователь работает при оптимальном качестве горючей смеси (14.7 частей воздуха на 1 часть топлива). При оптимальной концентрации кислорода в отработавших газах происходит скачок в напряжении на датчике. Этот скачок является точкой отсчёта для блока управления при корректировке качества смеси.

Установлено по два датчика. Один - перед, а второй — после преобразователя. Этим достигается более точное отслеживание состава отработавших газов.

Система рециркуляции отработавших газов

Система рециркуляции отработавших газов позволяет снизить количество NOx в отработавших газах. Для этого небольшая часть отработавших газов подаётся во впускной трубопровод через специальный клапан. Клапан системы рециркуляции управляется блоком управления.

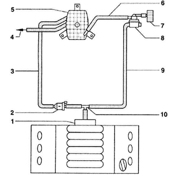
Система улавливания паров топлива

Линии системы улавливания паров топлива. Двигатель 1.8 л

1 — Вакуумный контрольный клапан
2 — Клапан управления продувкой адсорбера EVAP
3 — Выпускной трубопровод от клапана управления продувкой адсорбера EVAP
4 — Выпускной трубопровод от гравитационного клапана
5 — Адсорбер системы EVAP
6 — К насосу определения утечек
7 — Кожух воздушного фильтра

8 — Насос определения утечек
9 Вакуумный шланг впускного воздуховода к насосу определения утечек
10 — Вакуумная камера
11 — Контрольный клапан
12 — Вакуумный распределитель «T»
13 — Модуль управления клапаном дроссельной заслонки

Линии системы улавливания паров топлива. Двигатель V6

1 — Модуль управления активатором дроссельной заслонки
2 — Клапан управления продувкой адсорбера EVAP
3 — Выпускной трубопровод от клапана управления продувкой адсорбера EVAP
4 — Выпускной трубопровод от гравитационного клапана
5 — Адсорбер системы EVAP

6 — Вакуумный шланг впускного воздуховода к насосу определения утечек
7 — Кожух воздушного фильтра
8 — Насос определения утечек
9 — Вакуумный шланг впускного воздуховода к модулю управления активатором дроссельной заслонки
10 — Вакуумное соединение «T»

Для снижения выброса в атмосферу несгоревших углеводородов на все бензиновые модели устанавливается система улавливания топлива. Заправочная горловина топливного бака герметично закрывается крышкой, под топливным баком установлен угольный адсорбер. В нём собираются пары топлива, образующиеся в баке во время стоянки автомобиля, и хранятся там до тех пор, пока по сигналу блока управления не начнется продувка адсорбера. Тогда пары топлива начинают подаваться через клапан продувки во впускной трубопровод, там они смешиваются с рабочей смесью и далее сгорают обычным образом в камерах сгорания.

Для обеспечения нормальной работы двигателя на холостых оборотах и во время прогрева блок управления держит клапан закрытым. Таким образом предотвращается попадание несгоревшего топлива в преобразователь (при повышенных оборотах холостого хода смесь переобогащена). После прогрева двигателя клапан начинает открываться и закрываться, подавая пары топлива во впускной тракт.

Дизельные модели

Система управления двигателем функционирует таким образом, чтобы получить максимальную отдачу от двигателя при минимальных расходе топлива и токсичности отработавших газов. Для дополнительного снижения токсичности газов на автомобиль установлены несколько дополнительных систем. Система вентиляции картера снижаетутечки газов в атмосферу из системы смазки двигателя. Каталитический преобразователь снижает токсичность отработавших газов. Установлена система рециркуляции отработавших газов.

Система управляемой вентиляции картера

Для устранения утечек несгоревших углеводородов в атмосферу двигатель полностью герметизирован. Газы и пары масла, образующиеся в картере, через сетчатый фильтр попадают во впускной трубопровод и сгорают в цилиндрах вместе с топливом.

Газы удаляются из картера за счёт разницы давления в картере и впускном трубопроводе (давление в картере выше). На все дизельные модели установлен клапан вентиляции. Он находится на крышке головки блока и управляет потоком газов из картера.

Система рециркуляции отработавших газов

На все дизельные модели также установлена система рециркуляции отработавших газов. Эта система позволяет снизить количество NO x в отработавших газах. Для этого небольшая часть отработавших газов подаётся во впускной трубопровод через специальный клапан. Клапан системы рециркуляции контролируется блоком управления.


« предыдущая страница
6.4.2. Корректировка прокладки системы выпуска / концевой трубы
^
к оглавлению
следующая страница »
6.4.4. Каталитический преобразователь

Copyright © 2026 Все права защищены. Все торговые марки являются собственностью их владельцев.