поиск в избранное карта сайта
  ГАЗ РЕМОНТ ОБСЛУЖИВАНИЕ ЭКСПЛУАТАЦИЯ АВТОМОБИЛЕЙ
ГАЗ 2705, 33021 "ГАЗель" (с 1994 по 2002, и с 2003 года выпуска)

полные технические характеристики. диагностика. электросхемы
 
Главная
 
ГАЗ
2705, 33021 "ГАЗель"
1. Введение
2. Паспортные данные автомобиля
3. Технические данные и характеристики автомобилей
4. Органы управления и приборы
5. Двигатель
6. Трансмиссия
6.1. Сцепление
6.2. Коробка передач
6.3. Карданная передача
6.4. Задний мост
6.4.1. Возможные неисправности заднего моста и способы их устранения
6.4.2. Устройство заднего моста
6.4.3. Техническое обслуживание заднего моста
6.4.4. Регулировка заднего моста
6.4.5. Снятие моста с автомобиля
6.4.6. Разборка заднего моста
6.4.7. Разборка дифференциала
6.4.8. Осмотр и контроль технического состояния деталей заднего моста
6.4.9. Сборка дифференциала
6.4.10. Сборка заднего моста
6.4.11. Установка заднего моста на автомобиль
7. Ходовая часть
8. Рулевое управление
9. Тормозная система
10. Электрооборудование
11. Кузов автомобиля
12. Техническое обслуживание
13. Приложения
 


6.4.7. Разборка дифференциала

Разборку дифференциала необходимо производить в следующем порядке:
- отвернуть болты крепления ведомой шестерни, снять ведомую шестерню;

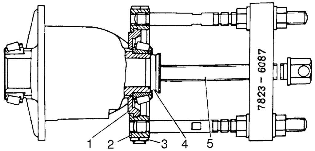
Снятие внутреннего кольца подшипника с коробки дифференциала
Рис. 5.38. Снятие внутреннего кольца подшипника с коробки дифференциала: 1 — вкладыш; 2 — опора; 3 — гайка; 4 — подпятник; 5 — винт съемника




— спрессовать внутренние кольца подшипников дифференциала с помощью съемника в сборе с вкладышами, как показано на рис. 5.38. Для того, чтобы заплечики вкладышей 1 вошли в выемки на коробке дифференциала, следует опоры 2 сжать болтами с гайками 3; спрессовать кольцо подшипника вращением винта 5.

« предыдущая страница
6.4.6. Разборка заднего моста
^
к оглавлению
следующая страница »
6.4.8. Осмотр и контроль технического состояния деталей заднего моста

Copyright © 2026 Все права защищены. Все торговые марки являются собственностью их владельцев.