поиск в избранное карта сайта
  Hyundai РЕМОНТ ОБСЛУЖИВАНИЕ ЭКСПЛУАТАЦИЯ АВТОМОБИЛЕЙ
Хендай Соната. Hyundai Sonata (с 2001 года выпуска)

полные технические характеристики. диагностика. электросхемы
 
Главная
 
Hyundai
Sonata
1. Общие сведения
2. Двигатель
3. Трансмиссия
4. Рулевое управление
5. Ходовая часть
6. Тормозная система
7. Кузов
7.1. Технические данные
7.2. Проверка неисправностей
7.3. Общие сведения
7.4. Уход за кузовом
7.5. Ремонт небольших повреждений кузова
7.6. Антикоррозионная защита и мойка автомобиля
7.7. Наружные элементы кузова
7.7.1. Переднее крыло
7.7.2. Капот
7.7.3. Крышка багажника
7.7.4. Передняя дверь
7.7.5. Задняя дверь
7.7.6. Молдинги
7.7.7. Люк в крыше автомобиля
7.7.8. Наружное зеркало заднего вида
7.7.9. Передний бампер
7.7.10. Задний бампер
7.8. Элементы салона
7.9. Ветровое стекло
7.10. Заднее стекло
8. Дополнительная система безопасности
9. Системы обогрева, вентиляции и кондициони-рования воздуха
10. Электрооборудование
11. Схемы электрооборудования
 


7.7.5. Задняя дверь

Снятие и установка

Использование ткани для снятия пружинной скобы крепления ручки стеклоподъемника
Рис. 7.6. Использование ткани для снятия пружинной скобы крепления ручки стеклоподъемника


На автомобилях с ручными стеклоподъемниками поднимите стекло и пометьте положение ручки стеклоподъемника. Снимите пружинную скобу крепления ручки стеклоподъемника, вставив кусок ткани между ручкой и обивкой двери и протягивая ткань в одну или другую сторону напротив концов скобы (см. рис. 7.6). После снятия скобы снимите ручку стеклоподъемника со шлицев вала.

Снятие крышки внутренней ручки открывания замка двери
Рис. 7.13. Снятие крышки внутренней ручки открывания замка двери


Выверните винт крепления крышки внутренней ручки двери, затем прижмите крышку в направлении петли двери и отделите ее от обивки двери (рис. 7.13).

Задняя дверь
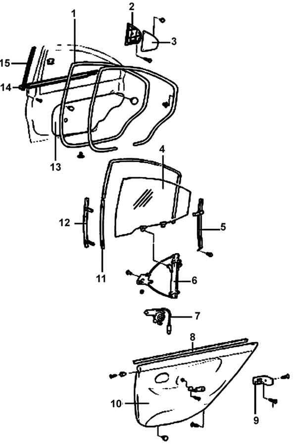
Рис. 7.14. Задняя дверь: 1 – уплотнитель передней двери; 2 – наружный дельтовидный молдинг;
3 – внутренний дельтовидный молдинг; 4 – стекло; 5 – задняя нижняя направляющая стекла; 6 – стеклоподъемник; 7 – электродвигатель стеклоподъемника; 8 – наружный уплотнитель стекла; 9 – кронштейн; 10 – обивка двери; 11 – направляющая стекла; 12 – передняя нижняя направляющая стекла задней двери; 13 – пылевлагозащитная пленка задней двери; 14 – наружный уплотнитель; 15 – молдинг бокового уплотнителя задней двери


Выверните три винта крепления обивки двери (рис. 7.14).

Использование съемника (1) для отделения обивки от двери
Рис. 7.8. Использование съемника (1) для отделения обивки от двери


Вставьте съемник обивки или отвертку с широким шлицем между обивкой двери и дверью, отожмите обивку от двери (см. рис. 7.8).
Снимите кронштейн внутренней ручки и внутреннюю ручку двери.
Снимите пылевлагозащитную пленку, постепенно отделяя ее от рамы двери.
Опустите стекло двери и снимите направляющую стекла и дельтовидный нижний паз.
Опустите стекло двери, снимите направляющую стекла и разделительный канал.
Момент затяжки болтов крепления стекла – 8–12 Н·м; задней нижней направляющей стекла – 8–12 Н·м.
Опустите стекло двери и выверните болты крепления стекла к стеклоподъемнику.

Снятие стекла двери
Рис. 7.11. Снятие стекла двери


Поднимая и одновременно наклоняя заднюю часть стекла, снимите стекло двери (см. рис. 7.11).
Выверните гайки крепления направляющей стеклоподъемника и снимите стеклоподъемник в сборе.
Момент затяжки – 4–6 Н·м.
Выверните болты крепления замка и снимите замок в сборе с тягами.
Выверните болты и снимите наружную ручку двери.
Снимите с задней двери боковые молдинги.
Установка проводится в последовательности, обратной снятию, с учетом следующего. При установке пленки уплотнения обивки двери бутиловая лента не должна располагаться поверх области крепления фиксаторов отделки двери.

Регулировка положения двери
Проверьте совмещение двери с кузовом, а затем проверьте равномерность зазора между передним и задним, верхним и нижним краями двери и кузовом.
Зазор по периметру двери и между элементами кузова должен быть равномерным.

ПРЕДУПРЕЖДЕНИЕ
Закрепите защитную пленку на кромку крыла, в месте установки петли.

Регулировка положения ударной пластины замка двери
Убедитесь, что дверь закрывается легко и без перекоса. Если дверь имеет люфт, затяните болты крепления шарниров двери.
При необходимости отрегулируйте положение двери относительно смежных поверхностей следующим образом:
– для последующей ориентации маркером обведите ударную пластину замка двери;
– ослабьте винты крепления ударной пластины и переместите внутрь или наружу, чтобы обеспечить надежное закрывание двери, наружная панель двери должна находиться на одном уровне с соседними элементами кузова. Передвиньте ударную пластину вверх или вниз для совмещения с пазом замка. Затем затяните винты и проверьте еще раз надежность закрывания замка и положение двери.

ПРЕДУПРЕЖДЕНИЕ
Держите наружную ручку двери в «открытом» положении и прижмите дверь к кузову, чтобы выровнять паз замка двери с ударной пластиной.

Стекло двери
Если стекло не поднимается равномерно при его закрывании, снимите обивку двери и, ослабив болты крепления к стеклоподъемнику, отрегулируйте наклон стекла в направлении вперед-назад.

« предыдущая страница
7.7.4. Передняя дверь
^
к оглавлению
следующая страница »
7.7.6. Молдинги

Copyright © 2026 Все права защищены. Все торговые марки являются собственностью их владельцев.