поиск в избранное карта сайта
  Mitsubishi РЕМОНТ ОБСЛУЖИВАНИЕ ЭКСПЛУАТАЦИЯ АВТОМОБИЛЕЙ
Мицубиси Кольт. Mitsubishi Colt (с 1983 по 1993 год выпуска)

полные технические характеристики. диагностика. электросхемы
 
Главная
 
Mitsubishi
Colt
1. Инструкция по эксплуатации автомобилей Mitsubishi Colt / Lancer / Mirage / Galant / Eterna / Saporro / Sigma / Magna / Cordia / Tredia / Precis с 1983 по 1993 год выпуска
2. Регулировка и текущее техническое обслуживание
3. Двигатель
4. Переборка двигателя
5. Системы охлаждения, отопления и кондиционирования воздуха
6. Система питания и выпуска отработавших газов
7. Электрооборудование двигателя
8. Системы снижения токсичности выхлопов
9. Механическая коробка передач
10. Автоматическая коробка передач
11. Сцепление и полуоси
12. Тормозная система
13. Подвеска и рулевое управление
13.1. Технические характеристики
13.2. Общее описание
13.3. Стабилизатор поперечной устойчивости передней подвески - снятие и установка
13.4. Распорка - снятие и установка
13.5. Стойка передней подвески и пружина - снятие, осмотр и установка
13.6. Амортизатор стойки подвески - замена
13.7. Рычаг подвески - снятие, осмотр и установка
13.8. Шаровые шарниры - проверка и замена
13.9. Поворотная цапфа и ступица - снятие и установка
13.10. Ступица переднего колеса и подшипник - замена
13.11. Стабилизатор поперечной устойчивости задней подвески (только модель Precis) - снятие и установка
13.12. Поперечная тяга - снятие и установка
13.13. Пружины задней подвески - снятие и установка
13.14. Амортизатор задней подвески - снятие и установка
13.15. Задняя ось - снятие, переборка и установка
13.16. Рулевое управление - общее описание
13.17. Рулевое колесо - снятие и установка
13.18. Промежуточный вал - снятие и установка
13.19. Рулевой механизм - снятие и установка
13.20. Наконечники рулевых тяг - снятие и установка
13.21. Чехлы рулевого механизма - замена
13.22. Насос системы гидроусиления рулевого управления - снятие и установка
13.23. Система гидроусиления рулевого управления - прокачка
13.24. Колеса и шины - общее описание
13.25. Регулировка передних колес - общее описание
13.26. Регулировка углов установки колес - общее описание
14. Кузов
15. Электрооборудование кузова
 


13.15. Задняя ось - снятие, переборка и установка

Снятие
1. Поднимите автомобиль и снимите задние колеса.
2.  Отсоедините тормозные трубки от колесных, цилиндров или суппортов.
3. Снимите тормозные барабаны или диски.
4. Снимите крепления тормозных трубок и отсоедините их от тормозных шлангов. Закройте концы трубок и шлангов.
5.  Снимите щитки тормозов с задней оси. Снимите тросики ручного тормоза с рычагов подвески.
6. Снимите заднюю секцию выхлопной системы.
Рычажная подвеска
7. Снимите пружины подвески.
8. Установите в центре задней оси или по бокам домкраты.

14.9а Элементы задней подвески, использующей продольные рычаги подвески
1. Правый рычаг подвески
2. Пыльник
3. Хомут
4. Втулка А
5. Амортизатор
6. Верхнее седло пружины
7. Пружина
8. Резиновый упор
9. Левый рычаг подвески
10. Шайба
11. Резиновая втулка
12. Крепление
13. Резиновый упор
14. Втулка В
15.   Стабилизатор устойчивости
поперечной



14.9б Поперечина подвески крепится к кузову при помощи двух пар болтов (указаны стрелками)



9. Открутите болты крепления поперечины к кузову (14.9а и 14.9б) и снимите поперечину и рычаги подвески.
Торсионная подвеска
10. Снимите поперечную тягу.
11.  Открутите нижние крепежные болты и гайки амортизаторов.
12.  Установите в центре задней оси или по бокам домкраты.

14.13 Элементы торсионной задней подвески



13. Открутите крепежные болты оси (14.13) и снимите заднюю ось.
Переборка (только для рычажной подвески)
14.  При переборке можно снять рычаги подвески для ремонта или замены и заменить втулки.

14.15 Сделайте установочные отметки на поперечине и рычагах подвески перед их снятием
1.
Поперечина
2. Резиновая втулка
3. Установочные отметки
4. Гайка



15. Сделайте установочные отметки на поперечине и рычагах (14.15).
16.  Открутите гайки, крепящие рычаг подвески к поперечине и снимите рычаги. Осмотрите втулки на наличие износа, трещин или повреждений. Замените их,  если  необходимо,  смазав  мыльной  водой  для облегчения установки.
17.  Если на автомобиле установлен стабилизатор поперечной устойчивости задней подвески, сделайте установочные отметки на штанге стабилизатора поперечной устойчивости.
18.  Снимите хомут пыльника и разведите рычаги подвески в стороны.

14.19 Снимите втулку, постукивая по ее окружности, чтобы она не застряла в трубке
1. Втулка



19. Зажмите правый рычаг подвески в тисках, снимите резиновый упор и выбейте втулку (14.19).

14.20 При помощи молотка и выколотки выбейте втулку В из рычага подвески
1.
Выколотка
2. Втулка



ЭО. Зажмите левый рычаг в тисках и выбейте втулку (14.20).
21. Смажьте новые втулки и седла пружин смазкой и установите их на место.
22. Смажьте поверхность правого рычага подвески и установите резиновый упор.
23.  Установите стабилизатор поперечной устойчивости, если необходимо.

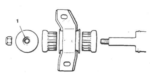
14.24 Крепления необходимо установить следующим образом
1. Зубцами к втулке



24.  Установите половинки поперечины на рычаги. Пока  не  затягивайте   крепежные   гайки  до   конца (14.24).
25.  Установите пыльник, заполните его смазкой и затяните хомут.
Установка (все модели)
26. Установка проводится в обратном порядке снятия.
27. Прокачайте тормозную систему.

« предыдущая страница
13.14. Амортизатор задней подвески - снятие и установка
^
к оглавлению
следующая страница »
13.16. Рулевое управление - общее описание

Copyright © 2026 Все права защищены. Все торговые марки являются собственностью их владельцев.