поиск в избранное карта сайта
  Mitsubishi РЕМОНТ ОБСЛУЖИВАНИЕ ЭКСПЛУАТАЦИЯ АВТОМОБИЛЕЙ
Мицубиси Галант. Mitsubishi Galant (с 1990 по 2001 год выпуска)

полные технические характеристики. диагностика. электросхемы
 
Главная
 
Mitsubishi
Galant
1. Введение
2. Органы управления
3. Настройки и текущее обслуживание
4. Двигатель
5. Системы охлаждения и отопления
5.1. Спецификации
5.2. Антифриз - общие сведения
5.3. Проверка исправности функционирования и термостата
5.4. Проверка состояния вентилятора системы охлаждения
5.5. Снятие и установка радиатора системы охлаждения
5.6. Проверка состояния водяного насоса
5.7. Снятие и установка водяного насоса
5.8. Проверка исправности функционирования и замена блока датчика измерителя температуры охлаждающей жидкости
5.9. Замена электромотора привода вентилятора отопителя
5.10. Снятие и установка теплообменника отопителя
5.11. Проверка исправности функционирования и обслуживание систем отопления и кондиционирования воздуха
5.12. Снятие и установка сборки панели управления функционированием отопителя и кондиционера воздуха, регулировка приводных тросов
6. Системы питания и выпуска
7. Электрооборудование двигателя
8. Системы управления двигателем
9. Ручная коробка передач
10. Сцепление и трансмиссионная линия
11. Тормозная система
12. Подвеска и рулевое управление
13. Кузов
14. Бортовое электрооборудование
 


5.9. Замена электромотора привода вентилятора отопителя

Детали установки вентилятора отопителя на моделях Mirage 1990 ÷ 1992 г.г. вып.

1 — Вещевой ящик
2 — Решетка громкоговорителя
3 — Передняя накладка дверного порога (модели с правосторонним рулевым управлением)
4 — Коленный упор (модели с правосторонним рулевым управлением)
5 — Монтажная рама вещевого ящика
6 — Коленный (модели без заднего отопителя)/поточный (модели с задним отопителем) воздуховод
7 — Разъем электропроводки приводного мотора вентилятора
8 — Шланг

9 — Блок управления системы распределенного впрыска (MPI)
10 — Вентиляторная сборка
11 — Кожух вентилятора
12 — Уплотнительная прокладка
13 — Гайка крепления крыльчатки
14 — Крыльчатка
15 — Приводной электромотор


Детали установки вентилятора отопителя на моделях Mirage 1993 ÷ 1996 г.г. вып.

1 — Секция нижней отделки
2 — Вещевой ящик
3 — Панель угловой отделки

4 — Монтажная рама вещевого ящика
5 — Резистивная сборка
6 — Сборка вентилятора отопителя с приводным мотором


Детали установки вентилятора отопителя на моделях Mirage 1997 ÷ 2000 г.г. вып.

1 — Резистивная сборка
2 — Сборка вентилятора отопителя с приводным электромотором
3 — Панель приборов

4 — Соединительный рукав (модели без К/В)
5 — Испаритель (модели с К/В)
6 — Кожух вентилятора


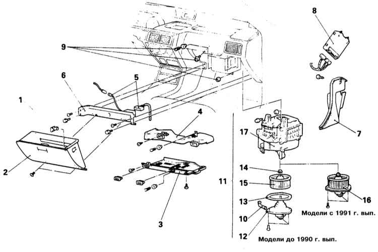
Детали установки вентилятора отопителя на моделях Galant 1990 ÷ 1993 г.г. вып.

1 — Упорный фиксатор
2 — Вещевой ящик
3 — Панель нижней отделки
4 — Рукав подачи воздуха в ножные колодцы
5 — Разъемы электропроводки реле управления MFI и датчика-выключателя подсветки вещевого ящика
6 — Монтажная рама вещевого ящика
7 — Передняя накладка дверного порога
8 — Модуль управления двигателем
9 — Крепеж испарителя (модели с К/В)/фиксаторы крепления воздуховода (модели без К/В)

10 — Шланг
11 — Сборка вентилятора с кожухом
12 — Приводной электромотор
13 — Уплотнительная прокладка
14 — Гайка крепления крыльчатки
15 — Крыльчатка
16 — Сборка вентилятора с приводным мотором
17 — Кожух вентилятора


Детали установки вентилятора отопителя на моделях Galant 1994 ÷ 1998 г.г. вып.

1 — Панель нижней отделки
2 — Резистивная сборка
3 — ECM компрессора К/В (модели с К/В)
4 — Сборка вентилятора отопителя
5 — Панель приборов

6 — Фиксатор
7 — Соединительный рукав (модели без К/В)
8 — Крепеж испарителя (модели с К/В)
9 — Кожух вентилятора



Детали установки вентилятора отопителя на моделях Diamante 1992 ÷ 1996 г.г. вып.

1 — Панель нижней отделки
2 — Рукав подачи воздуха в ножные колодцы
3 — Монтажная рама вещевого ящика
4 — Крепеж испарителя
5 — Сборка мотора переключения режима циркуляции
6 — Реле управления MFI

7 — Блок управления MFI
8 — Правый нижний кронштейн панели приборов
9 — Сборка вентилятора отопителя с кожухом
10 — Сборка вентилятора отопителя
11 — Кожух вентилятора


Детали установки вентилятора отопителя на моделях Diamante 1997 ÷ 2000 г.г. вып.

1 — Контроллер блокировки приводного ремня К/В
2 — Сборка вентилятора отопителя

3 — Реле высокоскоростного режима функционирования вентилятора отопителя


Рассматриваемые в настоящем Руководстве автомобили оборудованы системой дополнительной безопасности SRS, более известной как подушка безопасности. Прежде чем выполнять какие-либо работы вблизи сборки подушки или рулевой колонки, в обязательном порядке отключайте систему во избежание получения травм в результате случайного ее срабатывания, - отсоедините от батареи сначала отрицательный, затем положительный провод и обождите не менее двух минут, прежде чем приступать к обслуживанию компонентов, расположенных вблизи датчиков направленных перегрузок (см. Главу Бортовое электрооборудование). Изоляция и контактные разъемы электропроводки цепи SRS окрашены в ярко-желтый цвет. Не следует подключать к данной цепи никакие диагностические приборы!


Модели Mirage

Снятие

 ПОРЯДОК ВЫПОЛНЕНИЯ

1. Детали установки вентилятора отопителя на моделях Mirage показаны на иллюстрациях.
2. Отсоедините отрицательный провод от батареи.

Если установленная на автомобиле стереосистема оборудована охранным кодом, прежде чем отсоединять батарею удостоверьтесь в том, что располагаете правильной комбинацией для ввода аудиосистемы в действие!

3. Снимите правую секцию нижней отделки панели приборов (см. Главу Кузов).
4. Снимите сборку вещевого ящика и ее монтажную раму (см. Главу Кузов).
5. Отсоедините электропроводку от приводного мотора вентилятора отопителя.
6. Отсоедините и снимите резистивную сборку.
7. Отсоедините вентиляционную трубку приводного электромотора.
8. Выверните крепежные болты и снимите блоку приводного мотора. В случае необходимости замените крыльчатку вентилятора.


Установка

 ПОРЯДОК ВЫПОЛНЕНИЯ

1. Установите сборку приводного электромотора на свое штатное место и вверните крепежные болты.
2. Подсоедините к мотору электропроводку.
3. Подсоедините вентиляционную трубку.


Модели Galant 1993 ÷ 1993 г.г. вып.

Снятие

 ПОРЯДОК ВЫПОЛНЕНИЯ

1. Детали установки вентилятора отопителя на моделях Galant 1990 ÷ 1993 г.г. вып. показаны на иллюстрации.
2. Отсоедините отрицательный провод от батареи.

Если установленная на автомобиле стереосистема оборудована охранным кодом, прежде чем отсоединять батарею удостоверьтесь в том, что располагаете правильной комбинацией для ввода аудиосистемы в действие!

3. Снимите фиксатор вещевого ящика.
4. До упора откройте крышку вещевого ящика и выверните нижние винты крепления сборки. Снимите вещевой ящик.
5. Снимите правую секцию нижней отделки панели приборов (см. Главу Кузов).

Обратите внимание, что некоторые из крепежных винтов закрыты декоративными крышками, которые предварительно необходимо снять.

6. Снимите рукав подачи воздуха в ножной колодец переднего пассажира.
7. Рассоедините 10-контактный разъем на задней стороне монтажной рамы вещевого ящика. Отсоедините электропроводку от датчика-выключателя подсветки ящика (также установлен на монтажной раме).
8. Выверните четыре крепежных болта и снимите монтажную раму вещевого ящика.
9. Отсоедините небольшой воздушный шланг, идущий от электромотора вентилятора к кожуху вентилятора.
10. Отсоедините электропроводку от приводного мотора.
11. Выверните три крепежных болта и снимите сборку вентилятора с кожуха. В случае необходимости отдайте гайку и снимите крыльчатку.


Установка

 ПОРЯДОК ВЫПОЛНЕНИЯ

1. Внимательно осмотрите кожух изнутри, удалив из него мусор и посторонние предметы, способные помещать вращению крыльчатки.
2. Оцените состояние уплотнительной прокладки, в случае необходимости произведите замену.
3. Установите вентилятор отопителя на свое штатное место. Вверните и затяните крепежные болты.
4. Подсоедините к приводному мотору вентиляционный шланг и электропроводку.
5. Установите монтажную раму вещевого ящика и подсоедините к ней оба электрических разъема (10-контактный и 1-контактный).
6. Установите воздуховод.
7. Установите секцию нижней отделки панели приборов, - проследите за правильностью установки и надежностью защелкивания всех фиксаторов.
8. Установите вещевой ящик с упорным фиксатором.
9. Подсоедините отрицательный провод к батарее.


Модели Galant 1994 ÷ 2000 г.г. вып.

Снятие

 ПОРЯДОК ВЫПОЛНЕНИЯ

1. Детали установки вентилятора отопителя на моделях Galant 1994 ÷ 2000 г.г. вып. показаны на иллюстрациях.
2. Отсоедините отрицательный провод от батареи.

Если установленная на автомобиле стереосистема оборудована охранным кодом, прежде чем отсоединять батарею удостоверьтесь в том, что располагаете правильной комбинацией для ввода аудиосистемы в действие!

3. Выверните три крепежных винта и снимите нижнюю секцию отделки панели приборов (см. Главу Кузов).
4. На моделях, оборудованных системой кондиционирования воздуха снимите модуль компрессора.
5. Отсоедините электропроводку от электромотора привода вентилятора отопителя.
6. Выверните три крепежных винта и снимите вентиляторную сборку с кожуха.


Установка

 ПОРЯДОК ВЫПОЛНЕНИЯ

1. Внимательно осмотрите кожух изнутри, удалив из него мусор и посторонние предметы, способные помещать вращению крыльчатки.
2. Установите вентилятор отопителя на свое штатное место. Вверните и затяните крепежные болты.
3. Подсоедините к приводному мотору электропроводку.
4. При соответствующей комплектации автомобиля установите модуль компрессора К/В.
5. Установите секцию нижней отделки панели приборов, - проследите за правильностью установки и надежностью защелкивания всех фиксаторов.
6. Подсоедините отрицательный провод к батарее.


Модели Diamante

Снятие

 ПОРЯДОК ВЫПОЛНЕНИЯ

1. Детали установки вентилятора отопителя на моделях Diamante показаны на иллюстрациях.
2. Отключите подушки безопасности (см. Главу Бортовое электрооборудование).
3. Снимите правую секцию нижней отделки панели приборов и рукав воздуховода.
4. Снимите ударник замка вещевого ящика, сборку вещевого ящика и его наружный кожух. Выверните расположенный под сборкой винт.
5. Отдайте крепеж кожуха испарителя.
6. Снимите сборку мотора переключения режима циркуляции.
7. Снимите РСМ, опорный кронштейн и реле управления MFI.
8. Снимите правый нижний кронштейн панели приборов.
9. Отсоедините от вентиляторной сборки литой шланг.
10. Снимите сборку вентилятора.
11. В случае необходимости отдайте крепежную гайку и снимите крыльчатку.


Установка

 ПОРЯДОК ВЫПОЛНЕНИЯ

1. Проверьте вал приводного насоса на наличие признаков изгиба. Оцените состояние уплотнительной прокладки. Тщательно очистите все детали сборки, продуйте воздуховод.
2. Закрепите крыльчатку вентилятора на валу приводного насоса.
3. Установите сборку на свое штатное место.
4. Подсоедините к мотору литой шланг и электропроводку.
5. Вверните болт крепления кожуха испарителя.
6. Установите правый нижний кронштейн панели приборов.
7. Установите РСМ, опорный кронштейн и реле управления MFI.
8. Установите сборку демпферного мотора переключения режима циркуляции.
9. Вверните расположенный под сборкой вещевого ящика винт, затем установите вещевой ящик, - действуйте в порядке, обратном порядку демонтажа компонентов.
10. Установите нижнюю секцию отделки панели приборов/рукав воздуховода.
11. Подсоедините отрицательный провод к батарее. Проверьте исправность функционирования автоматической системы кондиционирования воздуха (климат-контроль).


« предыдущая страница
5.8. Проверка исправности функционирования и замена блока датчика измерителя температуры охлаждающей жидкости
^
к оглавлению
следующая страница »
5.10. Снятие и установка теплообменника отопителя

Copyright © 2026 Все права защищены. Все торговые марки являются собственностью их владельцев.