поиск в избранное карта сайта
  Skoda РЕМОНТ ОБСЛУЖИВАНИЕ ЭКСПЛУАТАЦИЯ АВТОМОБИЛЕЙ
Шкода Октавия. Skoda Octavia (с 1996 года выпуска)

полные технические характеристики. диагностика. электросхемы
 
Главная
 
Skoda
Octavia
1. Техническое обслуживание
2. Кузов
3. Агрегат привода
4. Сцепление
5. Коробки передач
6. Топливная система
7. Система охлаждения
8. Выхлопная система
9. Ходовая часть
10. Колеса и шины
11. Тормоза
11.1. Тормозная жидкость
11.2. Дисковые тормоза передних колес
11.3. Тормоза задних колес
11.4. Регулятор нагрузки
11.5. Вакуумный усилитель тормозов, главный тандемовый цилиндр
11.6. Тормозные трубопроводы и шланги
11.7. Тормозная система с ABS
11.8. ABS, применяемая в автомобилях Шкода типового ряда Октавия
11.9. Ручник – рычаг управления стояночным тормозом
12. Электросхемы
 


11.8. ABS, применяемая в автомобилях Шкода типового ряда Октавия

ОБЩИЕ СВЕДЕНИЯ

Датчик оборотов колес для ABS

ABS, применяемая в автомобилях Шкода типового ряда Октавия

1 – импульсное колесо для снятия оборотов переднего колеса;
2 – датчик оборотов переднего колеса;
3 – импульсное колесо для снятия оборотов заднего колеса;
4 – датчик оборотов заднего колеса;
5 – болты

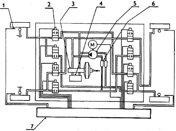
Схема соединения тормозной системы с ABS

ABS, применяемая в автомобилях Шкода типового ряда Октавия

1 – резервуар для жидкости;
2 – главный тандемовый тормозной цилиндр;
3 – вакуумный усилитель тормозного действия;
4 – гидравлический и управляющий узел ABS;
5 – зажим тормозного трубопровода;
6 – зажим тормозного трубопровода;
7 – трубка, соединяющая THV с  гидравлическим и управляющим узлом  ABS (первого и второго тормозного  контура);
8, 9, 10, 11 – трубопроводы к тормозным устройствам отдельных колес

Схема соединения гидравлических и электрических элементов ABS

ABS, применяемая в автомобилях Шкода типового ряда Октавия

1 – сенсор;
2 – электромагнитный клапан;
3 – ножной тормозной тандемовый цилиндр;
4 – резервуар тормозной жидкости;
5 – насос;
6 – резервуар;
7 – гидравлический и электронный узел управления

Устанавливаемая ABS является изделием фирмы ITT AUTOMOTIVE EUROPE, тип МК 20 I.  Это – замкнутая четырехканалытая система, что означает, что регулировка торможения  происходит на всех четырех колесах. На передних колесах тормоза управляются  отдельно, на задних колесах по принципу select low, т.е. с колесом, которое ближе к  заблокированию.

При этом второе колесо может передавать большую боковую силу, что гарантирует большую стабильность автомобиля.

Действие ABS происходит следующим образом: индукционные датчики (сенсоры)  постоянно следят за движением импульсных колес (в отдельных колесах автомобиля) и  передают информацию о скорости вращения в управляющий узел ABS. Эта информация  обрабатывается и одновременно рассчитываются величины заноса колеса,  запаздывание вращения колеса и скорость автомобиля.

Как только узел управления зарегистрирует у какого-нибудь колеса тенденцию к  блокированию, он выдает управляющий сигнал электромагнитным клапанам, которые  корректируют давление тормозной жидкости в тормозном устройстве соответствующего  колеса. Это означает, что при регулировке с помощью ABS тормозное давление на данном  колесе поддерживается постоянным, но если повышается занос, давление в тормозном  устройстве колеса с помощью насоса ABS снижается. Тем самым уменьшается  тормозное действие и вращение колеса возобновляется.

Наоборот, если колесо тормозит слишком мало, система повышает давление и тем самым повышается тормозное действие. Процесс повторяется в различных вариантах в зависимости от того, в каком режиме находится колесо.

Если в ABS возникнет неисправность, система автоматически отсоединится и автомобиль можно тормозить дальше обычным способом, как-будто ABS не установлен.

Тормозная система с ABS по сравнению с системой без ABS отличается ножным тормозным тандемовым цилиндром и, конечно, тормозными трубопроводами и шлангами.

Перед регулировкой ABS или при выходе из строя ABS ограничение тормозного действия  на колесах заднего моста обеспечивается электрическим ограничителем тормозной силы  EBV (Elektronischer Bremskraftverteiler), который использует электромагнитные клапаны  ABS. На автомобиле, оснащенном ABS, не устанавливается регулятор нагрузки. В случае  неисправности EBV не работает ограничение давления на тормозах заднего моста и его  колеса, по сравнению с состоянием при работающем EBV, переторможены.

В интересах безопасности езды и использования ABS нужно в случае какой-либо неисправности обращаться за помощью в сервис ШКОДА.

« предыдущая страница
11.7.1. Принцип ABS
^
к оглавлению
следующая страница »
11.9. Ручник – рычаг управления стояночным тормозом

Copyright © 2026 Все права защищены. Все торговые марки являются собственностью их владельцев.