|
|
 |
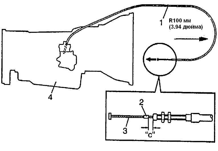
15.3.5.4. Кабель дросселя автоматической коробки передач
|
|
- Вытяните внутренний кабель с усилием 2 Н (0.2 кг, 0.45 фунта) или меньше, чтобы он не провисал, а кабель дросселя автоматической коробки был изогнут.
|
1 — кабель дросселя автоматической коробки передач
2 — ограничитель
3 — внутренний кабель
4 — автоматическая коробка передач
|
- Зафиксируйте ограничитель на внутреннем кабеле с просветом “c”. Просвет “c”: 0.8 – 1.5 мм (0.03 – 0.06 дюйма).
-
Проверьте просвет “c”. Если он не соответствует спецификации, отрегулируйте, подкрутив регулировочную гайку кабеля. Просвет “c”: 0.8 – 1.5 мм (0.03 – 0.06 дюйма).
- Надежно затяните контргайку.
Двигатели G16/J20
|
1 — кабель дросселя автоматической коробки передач
2 — регулировочная гайка
3 — контргайка
|
|
|
|
|