поиск в избранное карта сайта
  Suzuki РЕМОНТ ОБСЛУЖИВАНИЕ ЭКСПЛУАТАЦИЯ АВТОМОБИЛЕЙ
Сузуки Гранд Витара СКу416. Suzuki Grand Vitara SQ416 / SQ420 / 420 WD (с 1997 по 2002 год выпуска)

полные технические характеристики. диагностика. электросхемы
 
Главная
 
Suzuki
Grand Vitara
1. Общая информация
2. Техническое обслуживание и смазка
3. Обогреватель, вентиляция и кондиционер
4. Рулевое управление
5. Подвеска
6. Колеса и шины
7. Передний приводной вал / подшипник вала. Масляный сальник
8. Карданные валы
9. Тормозная система
10. Двигатели
11. Топливная система
12. Система зажигания
13. Система запуска
14. Система выпуска
15. Коробки передач
16. Сцепление
17. Передача
18. Передний и задний дифференциалы
19. Окна, зеркала, замки и меры безопасности. Иммобилайзер
20. Электрооборудование
20.1. Электрооборудование кузова
20.2. Система освещения
20.3. Система электрооборудования
20.3.1. Общее описание
20.3.1.1. Батарея
20.3.1.2. Генератор
20.3.2. Диагностика
20.3.3. Работы, производимые на автомобиле
20.3.4. Капитальный ремонт
20.3.5. Спецификации
20.3.6. Моменты затяжки
20.4. Инструменты / Информация для водителей
 


20.3.1.2. Генератор

Генератор является небольшим, но высокопроизводительным, включает в себя регулятор IC.

Внутренние компоненты генератора связаны между собой электрическими связями, как показано на иллюстрации ниже.

Генератор состоит из следующих компонентов:

  • Полупроводниковый регулятор (стабилизатор) вмонтирован в генератор изнутри.
  • Все компоненты регулятора защищены неразъемной формой.
  • Это устройство вместе со сборкой держателя щетки прикреплено к заднему корпусу.
  • Регулятор IC использует интегральные микросхемы и контролирует напряжение, производимое генератором, и установочные параметры не могут быть отрегулированы.
  • Подшипники ротора генератора содержат достаточное количество смазки, что избавляет от необходимости периодически их смазывать. Две щетки передают ток через два кольцевых токоприемника к обмотке возбуждения на роторе и при нормальных условиях работы не требуют обслуживания в течение долгого периода времени.
  • Обмотка статора вмонтирована с внутренней стороны шихтованного магнитопровода, который формирует корпус генератора.
  • Конденсатор заднего корпуса подавляет радиопомехи.

Правила эксплуатации генераторов следующих трех типов зависят от их спецификаций.

Тип 60 A

1 — генератор со сборкой стабилизатора
2 — регулятор IC
3 — катушка статора
4 — диод
5 — обмотка возбуждения (катушка ротора)

6 — лампа индикатора заряда
7 — главный выключатель
8 — батарея
9 — лампа заряда (светодиод)

Тип 70 A и 80 A

1 — генератор со сборкой стабилизатора
2 — регулятор IC
3 — катушка статора
4 — диод
5 — обмотка возбуждения (катушка ротора)

6 — лампа индикатора заряда
7 — главный выключатель
8 — батарея
9 — лампа заряда (светодиод)

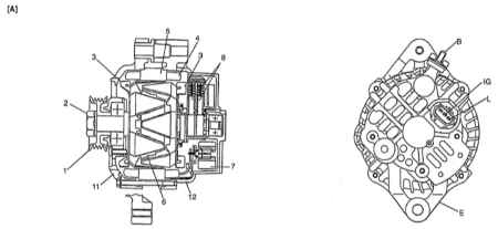
Тип 60 A

1 — шкив
2 — гайка шкива
3 — вентилятор ротора
4 — катушка статора
5 — магнитопровод статора
6 — обмотка возбуждения
7 — стабилизатор
8 — щетка
9 — задняя рама

10 — рама со стороны привода
11 — передняя крышка
12 — Задняя крышка
B — разъем генератора (Клемма батареи)
D — ложная клемма
E — заземление
F — клемма обмотки возбуждения
IG — клемма зажигания
L — клемма лампы

Тип 70 A

1 — шкив
2 — гайка шкива
3 — вентилятор ротора
4 — катушка статора
5 — магнитопровод статора
6 — обмотка возбуждения
7 — стабилизатор
8 — щетка
9 — задняя рама

10 — рама со стороны привода
11 — передняя крышка
12 — Задняя крышка
B — разъем генератора (Клемма батареи)
D — ложная клемма
E — заземление
F — клемма обмотки возбуждения
IG — клемма зажигания
L — клемма лампы

Тип 80 A

1 — шкив
2 — гайка шкива
3 — вентилятор ротора
4 — катушка статора
5 — магнитопровод статора
6 — обмотка возбуждения
7 — стабилизатор
8 — щетка
9 — задняя рама

10 — рама со стороны привода
11 — передняя крышка
12 — Задняя крышка
B — разъем генератора (Клемма батареи)
D — ложная клемма
E — заземление
F — клемма обмотки возбуждения
IG — клемма зажигания
L — клемма лампы


« предыдущая страница
20.3.1.1.5. Обслуживание батареи
^
к оглавлению
следующая страница »
20.3.2. Диагностика

Copyright © 2026 Все права защищены. Все торговые марки являются собственностью их владельцев.