|
|
 |
4.4.2.3.6. Верхний вал рулевого управления (у не кабриолета)
|
Никогда не поворачивайте рулевое колесо при снятом верхнем вале рулевого управления. Если же такое произойдет, и нарушится центровка контактной катушки (на подрулевых переключателях), придется снова ее центрировать. Кроме того, если повернуть рулевое колесо более, чем на два с половиной оборота, контактная катушка сломается.
|
Снятие
|
|
- Поверните рулевое колесо так, чтобы передние колеса автомобиля смотрели прямо вперед.
- Поверните выключатель зажигания в положение “LOCK” и выньте ключ.
|
- Поставьте выравнивающие метки (3) на муфте вала (2) и на валу (со стороны верхнего рулевого вала), чтобы потом по ним правильно установить вал.
|
|
- Отвинтив болт (4) с верхней стороны муфты вала (1) и ослабив болт (5) с нижней стороны вала, потяните муфту вала (2) в сторону нижнего вала (3).
|
|
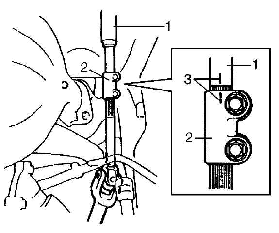
- Отвинтите болт (1) и гайку (2) верхней муфты верхнего рулевого вала.
|
- Отвинтите крепежные болты (4 штуки) верхнего рулевого вала.
- Снимите верхний рулевой вал с автомобиля.
|
|
Осмотр
Проверьте исправность вала рулевого управления как описано ниже в данной Главе в Разделе
Проверка рулевой колонки и верхнего вала рулевого управления на наличие повреждений при аварии (у не кабриолета).
Установка
|
|