|
|
 |
8.3. Обслуживание вне мастерской
|
|
- Поднимите автомобиль.
- Для того, чтобы снять передний карданный вал, выполните п. 3 — 4 .
- Слейте масло передачи, как описано в Главе
Передача, в Разделе
Масло раздаточной коробки.
|
- Снимите болты (1) крепежного кронштейна стабилизатора поперечной устойчивости и опустите вниз стабилизатор поперечной устойчивости (2).
|
|
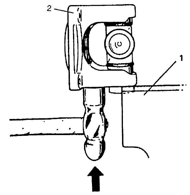
- Нанесите выравнивающие метки (1) на фланец шарнира и карданный вал.
|
- Снимите карданный вал.
|
|
Разборка
|
|
|
- При помощи специального инструмента (A) снимите два стопорных кольца (1). Специальный инструмент (A): 09900-06108.
|
|
- При помощи специально инструмента (B) вытолкните обойму подшипника крестовины (1) на 3 – 4 мм (0.12 – 0.16 дюйма) из обоймы вилки вала (2). Специальный инструмент (B): 09926-48010. Длина “a”: 3 – 4 мм (0.12 – 0.16 дюйма).
|
|
Прежде, чем вытаскивать его, нанесите проникающую смазку между обоймой подшипника (1) и обоймой вилки (2).
|
|
- Постукивая по вилке (1) молотком (2), полностью снимите обойму подшипника (3).
|
- Вытащите обойму подшипника с другой стороны так же, как описано в пунктах 2 и 3.
|
- Вытолкните обойму подшипника со стороны фланцевой вилки, как описано в пунктах 1) и 2), а затем, держа обойму подшипника (2) клещами (1), постучите по фланцевой вилке и вытащите обойму.
|
- Аналогичным образом снимите обойму подшипника с другой стороны.
|
- Будьте осторожны, чтобы при снятии обоймы подшипника крестовины не потерять его ролики.
- Временно поставьте снятые подшипники в крестовину, чтобы потом установить их в первоначальном положении.
|
|
|
Проверка
|
|
|
- Проверьте карданный вал и фланцевую вилку на повреждения а карданный вал (1) – на биение.
|
- Если обнаружено повреждение, или биение вала превышает допустимые границы, замените. Допустимые границы биения: 0.8 мм (0.031 дюйма).
|
|
Сборка
|
|
При сборке обязательно используйте новые стопорные кольца, крестовину (1) и подшипники (2). Запрещается использование старых стопорных колец, крестовины и подшипников.
|
|
|
Убедитесь, что ролики внутри обоймы подшипника крестовины все на месте.
|
|
|
|
- Не забудьте нанести смазку на обойму подшипника крестовины. “A”: смазка 99000-25030.
|
|
- Вставьте обойму подшипника (2) в вилку (3), постукивая медным молотком (1), пока она не встанет заподлицо с торцом вилки (3). При этом вставьте крестовину (4) в обойму подшипника (2), чтобы не выпали ролики из обоймы подшипника.
|
|
- Вставьте другую обойму подшипника (1) с противоположной стороны в вилку (2), постукивая медным молотком (3), пока она не встанет заподлицо с торцом вилки (2).
|
- Вставьте обоймы подшипников со стороны фланцевой вилки так же, как описано выше в пунктах
2 - 3.
- Когда будете бить молотком по обоймам подшипников, положите на них металлическую пластину, чтобы не повредить вилку.
- Надежно установите 4 стопорных кольца на вал и фланцевую вилку.
|
Проверьте, чтобы каждое стопорное кольцо было надежно подогнано в пазы.
|
- После сборки проверьте, чтобы вилка вала и фланцевая вилка двигались гладко.
|
|
Установка
Выполните процедуру снятия в обратной последовательности, обращая внимание на следующее.
|
|
- Перед установкой очистите и осмотрите скользящую часть торца карданного вала (где контактирует масляный сальник), и если есть даже мелкие царапины или деформации, откорректируйте торец и снова очистите.
|
- Затем нанесите смазку внутрь шлиц карданного вала. “B”: смазка 99000-25010.
|
- Установите карданный вал, совместив выравнивающие метки, иначе во время движения может возникнуть вибрация.
|
- Для затяжки фланцевых болтов и гаек карданного вала соблюдайте следующие значения момента затяжки. При повторном использовании болтов заднего карданного вала, нанесите на их резьбовую часть цемент для блокировки резьбы. “A”: цемент 99000-32110. Момент затяжки: фланцевые гайки переднего и заднего карданных валов — 50 Н•м (5.0 кг-м, 36.5 фунтов-фут).
|
- Для установки переднего карданного вала выполните следующие шаги 6 и 7.
- Установите стабилизатор поперечной устойчивости.
|
- Затяните болты крепежного кронштейна стабилизатора поперечной устойчивости до указанного значения момента затяжки. Момент затяжки: болт крепежного кронштейна стабилизатора поперечной устойчивости (a): 23 Н•м (2.3 кг-м, 17.0 фунтов-фут).
|
- Залейте масло передачи, как описано в Разделе
Масло раздаточной коробки в Главе
Передача.
|
|
|
|