поиск в избранное карта сайта
  Suzuki РЕМОНТ ОБСЛУЖИВАНИЕ ЭКСПЛУАТАЦИЯ АВТОМОБИЛЕЙ
Сузуки Лиана. Suzuki Liana (с 2002 года выпуска)

полные технические характеристики. диагностика. электросхемы
 
Главная
 
Suzuki
Liana
1. Эксплуатация и техническое обслуживание автомобиля
1.1. Общие сведения
1.2. Ключи, замки дверей и открывающиеся элементы кузова
1.3. Органы управления, комбинация приборов и оборудование салона автомобиля
1.3.1. Предупредительные и контрольные лампы
1.3.2. Спидометр /одометр / счётчик суточного пробега
1.3.3. Регулятор яркости свечения приборов
1.3.4. Тахометр
1.3.5. Указатель запаса топлива
1.3.6. Указатель температуры / индикатор перерева двигателя (дополнительное оборудование)
1.3.7. Включатель аварийной сигнализации
1.3.8. Включатель обогрева заднего стекла (дополнительное оборудование)
1.3.9. Корректор положения фар (дополнительное оборудование)
1.3.10. Включатель обогрева зеркал (дополнительное оборудование)
1.3.11. Включатель противотуманного света (дополнительное оборудование)
1.3.12. Информационный дисплей
1.3.13. Изменение яркости информационного дисплея
1.3.14. Переключатель света и указателей поворота
1.3.15. Переключатель очистителя и омывателя ветрового стекла
1.3.16. Переключатель очистителя и омывателя заднего стекла (дополнительное оборудование)
1.3.17. Рычаг блокировки регулируемой рулевой колонки (дополнительное оборудование)
1.3.18. Блок управления аудиосистемой на рулевом колесе
1.3.19. Звуковой сигнал
1.3.20. Зеркала
1.3.21. Прикуриватель и пепельница (дополнительное оборудование)
1.3.22. Противосолнечныи козырек
1.3.23. Выключатель освещения салона
1.3.24. Обогреватель переднего сиденья (дополнительное оборудование)
1.3.25. Розетка для вспомогательных устройств (дополнительное оборудование)
1.3.26. Поручни (дополнительное оборудование)
1.3.27. Крючки для одежды (дополнительное оборудование)
1.3.28. Футляр для очков
1.3.29. Подстаканник и шкатулка (дополнительное оборудование)
1.3.30. Откидной столик (дополнительное оборудование)
1.3.31. Карман на спинке переднего сиденья (дополнительное оборудование)
1.3.32. Ящик под передним сиденьем (дополнительное оборудование)
1.3.33. Крышка багажного отделения (дополнительное оборудование)
1.3.34. Освещение багажного отделения («хетчбек»)
1.3.35. Освещение багажника («седан»)
1.3.36. Гнезда для дуг верхнего багажника (дополнительное оборудование)
1.3.37. Антенна (дополнительное оборудование)
1.4. Система отопления и кондиционирования воздуха
1.5. Сиденья и средства пассивной безопасности
1.6. Пуск двигателя, вождение и обслуживание автомобиля
1.7. Таблицы
2. Двигатель
3. Трансмиссия
4. Ходовая часть
5. Рулевой механизм
6. Тормозная система
7. Бортовое электрооборудование
8. Кузов
9. Схемы электрооборудования
 


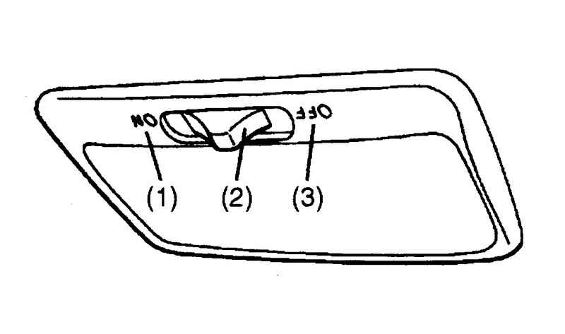
1.3.23. Выключатель освещения салона

Клавиши режмов работы выключателя освещения салона
Рис. 1.73. Клавиши режмов работы выключателя освещения салона



Выключатель имеет три положения работы.
1. Свет включен и горит, независимо от того, открыта дверь или закрыта.
2. Свет загорается при открывании двери.
3. Свет не загорается даже при открывании двери.

Кнопка управления освещением в салоне
Рис. 1.74. Кнопка управления освещением в салоне



ПРИМЕЧАНИЕ
Количество дверей, управляющих освещением салона, зависит от модели автомобиля. Если при открытой двери видна закрытая резиновым колпачком кнопка, эта дверь управляет освещением. У «хетчбека» дверь задка также включена в схему (кнопка без резинового колпачка) (рис. 1.74).

Штурманский свет (дополнительное оборудование)

Штурманский фонарь
Рис. 1.75. Штурманский фонарь


Для включения света нажмите на выключатель, для выключения нажмите ещё раз (рис. 1.75).

« предыдущая страница
1.3.22. Противосолнечныи козырек
^
к оглавлению
следующая страница »
1.3.24. Обогреватель переднего сиденья (дополнительное оборудование)

Copyright © 2026 Все права защищены. Все торговые марки являются собственностью их владельцев.