поиск в избранное карта сайта
  Suzuki РЕМОНТ ОБСЛУЖИВАНИЕ ЭКСПЛУАТАЦИЯ АВТОМОБИЛЕЙ
Сузуки Лиана. Suzuki Liana (с 2002 года выпуска)

полные технические характеристики. диагностика. электросхемы
 
Главная
 
Suzuki
Liana
1. Эксплуатация и техническое обслуживание автомобиля
2. Двигатель
2.1. Предварительные проверки
2.2. Механическая часть двигателей
2.3. Система охлаждения двигателя
2.3.1. Общие сведения
2.3.2. Диагностическая информация и процедуры
2.3.3. Снятие и установка трубок или шлангов системы охлаждения
2.3.4. Снятие и установка термостата
2.3.5. Проверка термостата
2.3.6. Снятие и установка клапана в дроссельном патрубке (если имеется)
2.3.7. Проверка на автомобиле вентилятора радиатора системы охлаждения
2.3.8. Проверка реле вентилятора системы охлаждения
2.3.9. Снятие и установка вентилятора системы охлаждения
2.3.10. Проверка и очистка радиатора на автомобиле
2.3.11. Снятие и установка радиатора
2.3.12. Проверка и регулировка натяжения приводного ремня насоса охлаждающей жидкости / генератора
2.3.13. Снятие и установка приводного ремня насоса охлаждающей жидкости / генератора
2.3.14. Снятие и установка насоса охлаждающей жидкости
2.3.15. Проверка насоса охлаждающей жидкости
2.4. Система смазки двигателя
2.5. Топливная система
2.6. Система зажигания
2.7. Система выпуска
2.8. Двигатель и система снижения токсичности отработавших газов (двигатели М13 и М16)
2.9. Таблицы
3. Трансмиссия
4. Ходовая часть
5. Рулевой механизм
6. Тормозная система
7. Бортовое электрооборудование
8. Кузов
9. Схемы электрооборудования
 


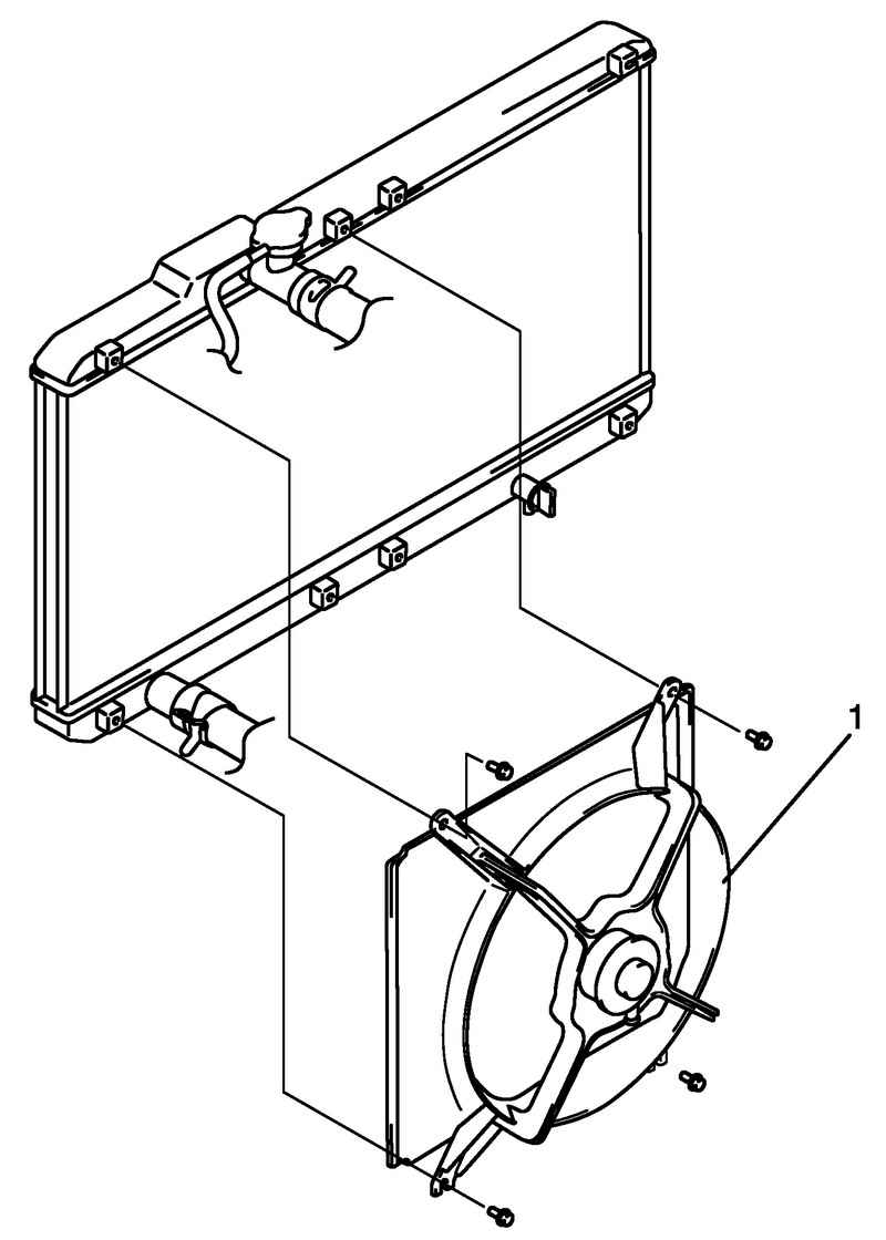
2.3.9. Снятие и установка вентилятора системы охлаждения

Снятие
Отсоедините провод от отрицательного вывода аккумуляторной батареи.
Отсоедините разъем электродвигателя вентилятора системы охлаждения.
Снимите электродвигатель вентилятора конденсатора системы кондиционирования воздуха, если автомобиль оборудован системой кондиционирования воздуха.

Снятие электродвигателя вентилятора системы охлаждения
Рис. 2.194. Снятие электродвигателя вентилятора системы охлаждения


Снимите электродвигатель вентилятора системы охлаждения 1 с радиатора (рис. 2.194).

Установка
Установка производится в порядке, обратном снятию.

ПРИМЕЧАНИЕ
Долейте охлаждающую жидкость и проверьте уровень охлаждающей жидкости.
После установки, проверьте подводящий шланг радиатора на наличие утечки.

« предыдущая страница
2.3.8. Проверка реле вентилятора системы охлаждения
^
к оглавлению
следующая страница »
2.3.10. Проверка и очистка радиатора на автомобиле

Copyright © 2026 Все права защищены. Все торговые марки являются собственностью их владельцев.