поиск в избранное карта сайта
  Suzuki РЕМОНТ ОБСЛУЖИВАНИЕ ЭКСПЛУАТАЦИЯ АВТОМОБИЛЕЙ
Сузуки Лиана. Suzuki Liana (с 2002 года выпуска)

полные технические характеристики. диагностика. электросхемы
 
Главная
 
Suzuki
Liana
1. Эксплуатация и техническое обслуживание автомобиля
2. Двигатель
3. Трансмиссия
4. Ходовая часть
5. Рулевой механизм
5.1. Диагностика неисправностей рулевого управления
5.1.1. Меры предосторожности при диагностике рулевого управления, подвески, колес и шин
5.1.2. Конструкция рулевой колонки
5.2. Ремонт рулевого управления
5.3. Таблицы
6. Тормозная система
7. Бортовое электрооборудование
8. Кузов
9. Схемы электрооборудования
 


5.1.2. Конструкция рулевой колонки

Конструкция рулевого колеса и рулевой колонки
Рис. 5.1. Конструкция рулевого колеса и рулевой колонки: 1 – модуль подушки безопасности водителя; 2 – рулевое колесо; 3 – гайка рулевого колеса; 4 – контактная спираль и комбинированный переключатель; 5 – верхняя облицовка рулевая колонки; 6 – нижняя облицовка рулевая колонки; 7 – рулевая колонка; 8 – выключатель зажигания с противоугонным устройством; 9 – нижний вал рулевого управления; 10 – крышка эластичной муфты рулевого управления; 11 – верхний и нижний соединительный болт; 12 – гайка крепления рулевой колонки; 13 – нижняя облицовка рулевого колеса; 14 – переключатель управления аудиосистемой; 15 – винт нижней облицовки рулевого колеса



Двухтрубная рулевая колонка кроме функции рулевого управления дополнительно выполняет три важных задачи:
– при лобовом столкновении колонка деформируется и выполняет энергопоглощающие функции;
– на колонке установлен замок зажигания и противоугонное устройство;
– противоугонное устройство обеспечивает блокировку включения зажигания и работы рулевого управления, препятствуя таким образом угону автомобиля.
Для того, чтобы колонка правильно выполняла энергопоглощающие функции, важно, чтобы использовались только штатные элементы крепления (винты, болты и гайки), а также, чтобы все они были затянуты номинальными усилиями затяжки.
При снятии колонки с автомобиля следует обращаться с ней осторожно. Использование съемника рулевого колеса, отличного от рекомендованного в настоящем руководстве, или неаккуратное обращение может привести к поломке пластмассовых штифтов, которые обеспечивают заданную длину и положение колонки.
Конструкция рулевого колеса и модуля надувной подушки безопасности водителя
Модуль подушки безопасности водителя является одним из элементов дополнительной системы безопасности (надувная подушка безопасности) и устанавливается в центре рулевого колеса. При определенных фронтальных столкновениях, система пассивной безопасности дополняет действие ремня безопасности путем развертывания надувных подушек безопасности.

Контроль

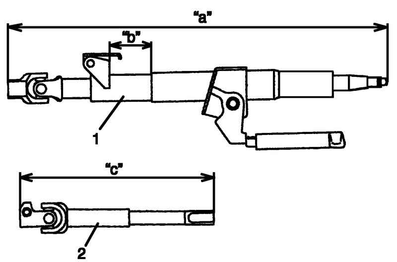
Длина рулевой колонки
Рис. 5.2. Длина рулевой колонки: 1 – рулевая колонка; 2 – нижний вал рулевого управления


Измерьте расстояния «a» и «b», если измеренные расстояния меньше указанных, замените рулевую колонку в сборе новой (рис. 5.2).

Длина
«a»: 558,5 ±1 мм.
«b»: 62,7 мм.
«c»: 276,3 ±0,8 мм.
Проверьте шарниры рулевого вала и вал на наличие повреждений или чрезмерных зазоров.
При обнаружении дефектных деталей замените рулевую колонку в сборе.
Проверьте рулевой вал на плавность вращения.
При обнаружении дефектных деталей замените рулевую колонку в сборе.
Проверьте нижний вал рулевого управления и рулевую колонку на наличие трещин или деформации.
При обнаружении дефектов замените.

« предыдущая страница
5.1.1. Меры предосторожности при диагностике рулевого управления, подвески, колес и шин
^
к оглавлению
следующая страница »
5.2. Ремонт рулевого управления

Copyright © 2026 Все права защищены. Все торговые марки являются собственностью их владельцев.