поиск в избранное карта сайта
  Audi РЕМОНТ ОБСЛУЖИВАНИЕ ЭКСПЛУАТАЦИЯ АВТОМОБИЛЕЙ
Ауди 80, 90, Купе (Б3). Audi 80 / 90 / Coupe (B3) (с 1986 по 1991 год выпуска)

полные технические характеристики. диагностика. электросхемы
 
Главная
 
Audi
80 / 90 / Coupe (B3)
1. Инструкция по эксплуатации
2. Двигатели, карбюраторы
3. Системы смазки (4- и 5-цилиндровые модели)
4. Система охлаждения
5. Топливная система
5.1. Компоненты топливной системы
5.2. Системы впрыска топлива
6. Выхлопная система
7. Система зажигания
8. Трансмиссия
9. Подвески, колеса
10. Тормозная система
11. Рулевое управление
12. Кузов, салон
13. Система кондиционирования
14. Электрооборудование
 


5. Топливная система


Предупреждение

Огнеопасно! Не курите и не подносите к области ремонта ничего из того, что может воспламенить топливо.

Всегда заменяйте все уплотнения и зажимы.

Всегда соблюдайте чистоту.


Компоненеты топливной системы (4- и 5-цилиндровые модели)

1. Передающий элемент датчика уровня топлива
положение установки
стрелка направлена вперед
2. Топливный бак
приклейте звукоизоляционные накладки
к новому баку в том же положении, как и
на старом баке
3. 25 Н.м.
4. Фиксирующий кронштейн
5. Уплотнительное кольцо
6. Стопорное кольцо
7. Подающий топливопровод
к топливному фильтру
8. Обратный топливопровод от
распределителя топлива
9. Соединитель угольного фильтра
10. Перепускная трубка
11. Резиновая втулка
12. Кольцевое уплотнение
13. Стопорное кольцо
14.Прокладка заливной горловины
замените, если износилась или повреждена
15. Крышка топливозаливной горловины
16. Кронштейн
17. Брызговик
18. Клапан самотека
проверка:
клапан в вертикальном положении = топливо течет
клапан наклонен на 45° = топливо не течет
19. Кольцевое уплотнение
перед установкой покройте графитовым порошком

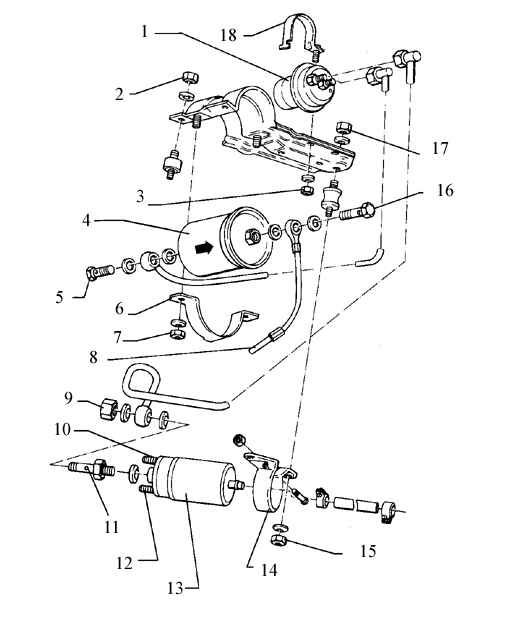
Компоненеты топливной системы (4- и 5-цилиндровые модели)


1. Накопитель
емкость 20 см3
поддерживает остаточное давление 3.4 бар
2. 10 Н.м.
3. 10 Н.м.
4. Топливный фильтр
положение установки
стрелка указывает направление потока
топлива
5. 20 Н.м.
6. Кронштейн
7. 20 Н.м.
8. Подающий топливодопровод к
распределителю топлива
9. 20 Н.м.
10. Отрицательная клемма
голубой провод
11. Запорный клапан топливного насоса 20 Н.м.
12. Положительная клемма
красный провод
13. Топливный насос
14. Кронштейн
15. 10 Н.м.
16. 20 Н.м.
17. 10 Н.м.
18. Кронштейн

Угольный фильтр (4-цилиндровые модели)

1. Трубка
к клапану самотека
2. К впускному коллектору
3. Примечание: соединения показаны разъединенными
4. Электроразъем
к электромагнитному запорному клапану
5. Электромагнитный запорный клапан (черный)
зажигание включено: клапан открыт
зажигание выключено: клапан закрыт
6. Монтажный кронштейн
7. Угольный фильтр
8. Частотный клапан угольного фильтра (серый)
зажигание включено: клапан закрыт
зажигание выключено: клапан открыт
9. Крышка
10. Электроразъем
к частотному клапану угольного фильтра

Угольный фильтр (5-цилиндровые модели)

1. К клапану самотека
2. Электромагнитный запорный клапан угольного фильтра
3. Чехол всасываемого воздуха
4. Корпус дросселя

5. Электроразъем
6. Кронштейн
7. Угольный фильтр
8. Крышка


Топливная система, расположение компонентов для полноприводных (4х4) и 20-клапанных моделей
1. Передающий элемент датчика уровня топлива
снятие: отсоедините провод массы от аккумулятора
отсоедините крышку и жгут проводов от передающего элемента
освободите штыковой замок передающего элемента, поворачивая его инструментом VAG 2012А
положение установки: стрелка указывает направление движения
2. Кольцевое уплотнение
перед установкой покройте маслом
3. Вентиляционная трубка
4. Клапан самотека/ вентиляции
снятие: потяните клапан вверх и снимите с кронштейна
проверка: клапан в вертикальном положении – топливо течет
клапан наклонен на 45° – топливо не течет
5. Кронштейн
6. Кольцевое уплотнение
7. Брызговик
8. Стопорное кольцо
9. Уплотнение, замените
10. Крышка топливозаливной горловины
11. Перепускная трубка
12. Резиновая втулка
13. 25 Н.м.
14. Кронштейн
15. Топливный бак
16. Вентиляционная трубка, к угольному фильтру
17. Обратный топливопровод, от регулятора давления
18. Подающий топливопровод, к топливным инжекторам
19. Пылезащитное уплотнение

Предупреждение

Огнеопасно! Не курите и не подносите к области ремонта ничего из того, что может воспламенить топливо.

Всегда заменяйте уплотнения при установке новых частей.

Соединения шлангов фиксируются винтовыми или рычажными зажимами, всегда заменяйте рычажные зажимы.

Всегда соблюдайте чистоту.


Топливная система, расположение компонентов для полноприводных (4х4) и 20-клапанных моделей

1. 10 Н.м.
2. Подающий топливопровод
к топливным инжекторам
3. Кронштейн
4. Запорный клапан топливного насоса
5. Клемма
голубой провод, отрицательная (-)
6. Клемма
красный провод, положительная (+)
7. Топливный насос
8. Подающий топливопровод
от топливного бака
9. Топливный фильтр
положение установки
стрелка указывает направление потока топлива
10. 20 Н.м.

Топливная система, расположение компонентов для полноприводных (4х4) и 20-клапанных моделей

1. Соединитель на впускном коллекторе
2. Электромагнитный клапан угольного фильтра
3. К вакуумному соединению на регуляторе давления топлива
4. Запорный клапан
5. Угольный фильтр
6. Крышка
7. К клапану самотека/ вентиляции
8. Кронштейн

Топливная система, расположение компонентов (модели Купе)

1. Вентиляционная трубка
2. Трубка из пеноматериала
3. Вентиляционная трубка
4. Поплавковый клапан
5. Клапан регулирования давления
6. Кольцевое уплотнение, замените
перед установкой покройте маслом
7. 5 Н.м.
8. Расширительный бачок
9. Трубка из пеноматериала
10. Вентиляционная трубка
11. Стопорное кольцо
12. Передающий элемент датчика уровня топлива
13. Прокладка, замените
14. Топливный насос
15. Соединение подающего топливопровода, 20 Н.м.
16. Топливный бак
17. Направляющая перегородка
18. Резиновая втулка
19. Соединение подающего топливопровода, 20 Н.м.
20. Болт "банджо", 20 Н.м.
21. Уплотнение, замените
22. Топливный фильтр
положение установки: стрелка указывает направление потока топлива
23. Вентиляционная трубка, к угольному фильтру
24. Обратный топливопровод, от регулятора давления
25. Подающий топливопровод, к топливопроводу двигателя
26. Болт "банджо", 20 Н.м.
27. Уплотнение, замените

Топливный насос

1. Уплотнение с центрирующими выступами
замените
2. Контргайки
М6 2.5 Н.м.
М5 2.0 Н.м.
3. Электрические клеммы
М6 масса (-)
М5 положительная (+)
4. Экран/ фильтр
поверните влево (штыковой замок)
5. Топливный насос
замените резиновое кольцо (для моделей с резиновым кольцом в канавке кожуха насоса)
6. Запорный клапан (20 Н.м.)
замените уплотнение
7. Экран (верхняя часть)
8. Уплотнение
замените
9. Соединение "банджо"
установите "банджо" под углом 180° к приводу передних колес
10. Поглотитель шума (15 Н.м.)


« предыдущая страница
4. Система охлаждения
^
к оглавлению
следующая страница »
5.1. Компоненты топливной системы

Copyright © 2026 Все права защищены. Все торговые марки являются собственностью их владельцев.