поиск в избранное карта сайта
  Ford РЕМОНТ ОБСЛУЖИВАНИЕ ЭКСПЛУАТАЦИЯ АВТОМОБИЛЕЙ
Форд Фокус. Ford Focus (с 1998 года выпуска)

полные технические характеристики. диагностика. электросхемы
 
Главная
 
Ford
Focus
1. Введение
2. Двигатели
2.1. Основные элементы конструкции двигателя
2.2. Варианты двигателей Ford Focus
2.3. Разборка двигателя
2.4. Установка силового агрегата
2.5. Сборка и разборка двигателя
2.6. Основные проверки деталей и узлов двигателя
2.6.1. Осевой зазор коленчатого вала
2.6.2. Радиальный зазор между вкладышами коренных подшипников и шейками коленчатого вала
2.6.3. Измерение диаметра шеек коленчатого вала
2.6.4. Осевой зазор распределительного вала
2.6.5. Радиальный зазор распределительного вала
2.6.6. Измерение диаметра шеек распределительного вала
2.6.7. Измерение внутреннего диаметра цилиндра
2.6.8. Проверка и измерение поршней
2.6.9. Проверка состояния головки блока
2.7. Замер компрессии
3. Система смазки двигателя
4. Система охлаждения
5. Система питания
6. Управление силовым агрегатом и отработавшими газами
7. Система зажигания
8. Сцепление
9. Коробка передач
10. Привод передних колес
11. Передняя подвеска
12. Задняя подвеска
13. Рулевое управление
14. Тормозная система
15. Электрооборудование
16. Система выпуска отработавших газов
17. Колеса и шины
18. Приложение
19. Схемы электрических соединений
 


2.6.8. Проверка и измерение поршней

Не допускается очищать поршни наждачной бумагой или металлической щеткой.
При визуальном осмотре обратите особое внимание на поверхность рубашки поршня, проточки для колец, днище поршня на наличие следов износа и рисок. Поршни и поршневые пальцы являются парными деталями. Для измерения наружного диаметра поршня вам необходим микрометр соответствующего размера. Измерение диаметра производите, поворачивая микрометр на 90°. Поршни, имеющие овальность выше допустимых значений, необходимо заменить.

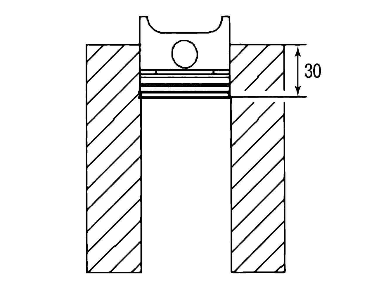
Измерение зазоры в стыке поршневого кольца
Рис. 162. Измерение зазоры в стыке поршневого кольца



Зазор в стыке поршневого кольца измеряйте с помощью измерительного щупа. Для этого поставьте отдельно поршневое кольцо на глубину примерно 30 мм в цилиндр и измерьте зазор с помощью щупа (рис. 162).

Измерение зазора поршневых колец по высоте
Рис. 163. Измерение зазора поршневых колец по высоте



Зазор по высоте на установленных поршневых кольцах измеряется щупом (рис. 163).

« предыдущая страница
2.6.7. Измерение внутреннего диаметра цилиндра
^
к оглавлению
следующая страница »
2.6.9. Проверка состояния головки блока

Copyright © 2026 Все права защищены. Все торговые марки являются собственностью их владельцев.