поиск в избранное карта сайта
  Ford РЕМОНТ ОБСЛУЖИВАНИЕ ЭКСПЛУАТАЦИЯ АВТОМОБИЛЕЙ
Форд Мондео. Ford Mondeo (с 2000 года выпуска)

полные технические характеристики. диагностика. электросхемы
 
Главная
 
Ford
Mondeo (2000)
1. Введение
2. Оснащение
3. Уход за автомобилем
4. Двигатели
5. Система смазки
6. Система охлаждения
7. Система впрыска топлива
7.1. Иногда рационально проводить визуальный осмотр системы впрыска
7.2. Проверка впускной системы на герметичность
7.3. Проверка частоты вращения при холостом ходе
7.4. Колебания при холостом ходе – систематическое явление
7.5. Проверка регулировочного клапана системы холостого хода
7.6. Проверка форсунки
7.7. Замена тяги педали газа (на примере Duratec-HE)
7.8. Топливоснабжение дизельного двигателя – базовая конструкция
7.9. Визуальная проверка системы впрыска дизельного двигателя
7.10. Замена фильтровального патрона
8. Система зажигания
9. Топливная система
10. Трансмиссия
11. Ходовая часть
12. Тормозная система
13. Электротехническое оборудование
14. Электросхемы
15. Салон автомобиля
16. Кузов
17. Технические характеристики
18. Помощь при неисправностях
 


7. Система впрыска топлива

Под капотом двигателя современного автомобиля во впускном тракте бензиновых двигателей уже с давних пор «задают тон» системы впрыскивания топлива с электронным управлением. Со стороны отработанных газов расположен трехходовой катализатор, отвечающий уровню техники. Таким образом, никаких вопросов, все силовые агрегаты Mondeo: «от воздушного фильтра до выхлопной трубки» управляются электронными средствами: необходимую свежую топливную смесь подготавливают последовательные системы впрыскивания топлива, ассистирует в этом процессе трехходовой катализатор. Воспламеняющими искрами управляют безраспределительные системы зажигания в последовательности 1-3-4-2 (Duratec-HE) или 1-4-2-5-3-6 (Duratec-VE). Они находятся, как и весь электронный менеджмент двигателя, под управлением мощного бортового компьютера (РСМ). В новом Mondeo имеется «Black Oak», система регулирования двигателя нового поколения, которая осуществляет надзор над «битами и байтами». Black Oak, разработка дочерней фирмы Visteon компании Ford, работает совместно с 32-разрядной ЭВМ Levanta, включая процессор Motorolla и шину передачи данных CAN. По своему функционированию система Black Oak напоминает ранее используемую систему регулирования двигателя EEC.

Блок управления РСМ с 32 разрядами и CAN-шиной для передачи данных

1 — Датчик абсолютного давления во впускной трубке с встроенным датчиком температуры всасывающего воздуха (ТМАР),
2 — Датчик регулирования положения дроссельной заслонки (ТР),
3 — Датчик температуры охлаждающей жидкости (ЕСТ),
4 — Датчик положения коленчатого вала (СКР),
5 — Датчик положения распределительного вала (СМР),
6 — Датчик температуры наружного воздуха (ААТ),
7 — Подключаемый и нагреваемый Лямбда-датчик (HO2S),
8 — Гидравлический выключатель сервоуправления (PSP),
9 — Датчик скорости движения (VSS/OSS),
10 — Выключатель положения педали сцепления (СРР),
11 — Регулятор генератора (Smart Charge),
12 — Датчик детонации (KS),
13 — Реле электропитания,
14 — аккумуляторная батарея,
15 — Автоматическая коробка передач (CD4E),
16 — Сигнальная лампа отработавшего газа (MTL),

17 — Блок управления трансмиссией (РСМ),
18 — Диагностический разъем (DCL),
19 — Реле топливного насоса,
20 — Топливный насос бака,
21 — Форсунка,
22 — Светодиод PATS (приборная доска),
23 — EGR-пошаговый двигатель,
24 — Клапан регулирования состава горючей смеси при холостом ходе (IAC),
25 — Электромагнитный клапан вихревой заслонки,
26 — АС-компрессор,
27 — Регулятор генератора (Smart Charge),
28 — Катушка зажигания,
29 — Нагреваемый электричеством термостат,
30 — Электромагнитный клапан фильтра активированного угля,
31 — VSS/OSS-выходной сигнал (приборная панель).

Датчики и актуаторы под капотом двигателя

1 — Блок управления двигателем,
2 — Датчик положения коленчатого вала (СКР),
3 — Электромагнитный клапан фильтра активированного угля;
4 — Датчик положения распределительного вала (СМР),
5 — EGR-пошаговый двигатель,

6 — Датчик температуры охлаждающей жидкости (ЕСТ),
7 — Датчик регулирования положения дроссельной заслонки (ТР),
8 — Клапан регулирования состава горючей смеси при холостом ходе (IAC),
9 — Электромагнитный клапан вихревой заслонки,
10 — Датчик абсолютного давления во впускной трубке с встроенным датчиком температуры всасывающего воздуха (ТМАР), A Гидравлический выключатель сервоуправления (PSP).

Электронное управление двигателем – не для самостоятельных

Новые системы в значительной степени не требуют особого обслуживания – возможное некорректное функционирование, согласно практике, может обнаружить только компетентный специалист при наличии необходимого измерительного оборудования. Этот факт предъявляет повышенные требования к тем, кто самостоятельно хочет заняться ремонтом – мастерские Ford во время проверки двигателя полагаются на “WDS-Diagnose CD B8”. Поэтому при наличии неисправностей в системе управления двигателем лучше доверьте свой Mondeo специалистам. Однако вы все-таки должны знать базовые принципы подготовки горючей смеси своего Mondeo. И только на этой основе вы сможете точно классифицировать появляющиеся неполадки. Благодаря этому вы сэкономите на затратном диагностировании. Кроме того, вы сможете четко сформулировать заказ на проведение ремонта, и полученная впоследствии калькуляция не вызовет у вас никаких сомнений. В качестве примера для бензиновых двигателей Ford ниже приводится подробная информация о подготовке топливовоздушной смеси силового агрегата Duratec-HE.

Подробно об управлении системой впрыска Duratec-HE

Блок управления РСМ (встроен в PATS): это центральный блок электронного управления двигателем. Бортовой компьютер постоянно использует текущий «материал данных» из своих пространственных параметрических характеристик (частота вращения, давление во впускном трубопроводе, температура впускного воздуха и охлаждающей жидкости и так далее) и сравнивает их с фиксированными параметрами в базе данных. После этого сравнения блок управления определяет и рассчитывает среди прочего продолжительность открытия электромагнитной форсунки, объем необходимого топлива и состав топливовоздушной смеси. При этом блок РСМ перепрограммируемый: важнейший критерий для ситуаций, когда к следующему моменту калибровки он приступает с модифицированными параметрами.

Преимущество: при содействии мобильного диагностического прибора «FDS 200» компании Ford можно легко стереть электронно-перепрограммируемую постоянную память (ПЗУ) и «заполнить» ее новой программой управления двигателем. Соответствующий сервисный модуль для РСМ устанавливается уже на заводе-производителе. 16-полюсный диагностический разъем (DLC) «спрятан» в левой зоне для ног на высоте блока предохранителей.

Предохранительный выключатель системы впрыскивания топлива: располагается на боковой стороне левой двери. С помощью данного выключателя можно прервать подачу топлива при появлении негерметичностей в системе подачи топлива, во время аварии или при сильных столкновениях. Прерывания электрической цепи распознаются по выскакивающейся кнопке переключений. Перед активизацией предохранительной кнопки вначале проверьте топливную систему на герметичность, затем приведите замок-выключатель зажигания в положение «0» и нажмите кнопку. Далее поверните ключ зажигания на несколько секунд в положение «II» и затем можно ввести замок в положение «I».

Позиционный датчик коленчатого вала (СКР): в двигателях Duratec располагается на крышке блока управления сбоку амортизатора коленчатого вала. Датчик на зубчатом колесе (36 зубцов минус 1; «пробел зубца» для 1-го цилиндра находится на 90° от ВМТ) регистрирует индуктивно точное угловое положение коленчатого вала, а также текущую частоту вращения двигателя, эти измеряемые значения оказывают влияние на:

  • впрыскиваемого топлива и начало впрыска,
  • момент опережения зажигания и
  • регулирование на холостом ходу.

При отказе СКР-датчика все управление двигателем переходит на «глубокий сон»: двигатель замирает и остается – до замены датчика – «немым».

Впадина между зубцами 1: 90° от ВМТ первого цилиндра.

Позиционный датчик распределительных валов (СМР) : в двигателях Duratec располагается в головке блока цилиндров перед первым кулачком впускного распределительного вала. Датчик работает на основе индуктивного принципа. Его сигнал использует СМР для распознавания 1-го цилиндра. Он управляет последовательным впрыскиванием топлива.

Датчик температуры охлаждающей жидкости (ЕСТ) : «вставлен» под катушкой зажигания и измеряет температуру охлаждающей жидкости в малом круге.

Датчик абсолютного давления во впускном трубопроводе со встроенным датчиком температуры впускного воздуха (ТМАР) . Датчик ТМАР позволяет минимизировать возможные потери мощности при движении на горных участках дорог или под уклон. Он определяет текущее господствующее рабочее состояние двигателя при включенном зажигании и полной нагрузке. В качестве измеренного значения датчиком используется атмосферное давление во впускном коллекторе. Эти параметры сохраняет и обрабатывает РСМ в качестве опорного давления для соответствующего давления во впускном газопроводе при различных состояниях нагрузки. Сигналы встроенного IAT-датчика являются вначале только базовыми величинами при пуске холодного двигателя или в период прогрева. Дополнительно они используются МАР-датчиком в качестве корректирующих параметров, поскольку он выравнивает с помощью своих «внутренних знаний» различные степени наполнения цилиндров. На основе всех входных сигналов с ТМАР-датчика РСМ рассчитывает необходимую двигателю массу воздуха.

Датчик детонации (KS) . Датчик детонации представляет из себя «механический съемщик вибраций». Двигатели Duratec за счет своей относительно высокой степени сжатия оснащаются такими датчиками. Этот датчик размещается со стороны всасывания непосредственно на блоке цилиндров двигателя между вторым и третьим цилиндрами. В смонтированном состоянии он ни в коем случае не должен контактировать с окружающей его «массой».

Как только достигается «детонационная граница», датчик KS подает сигналы на датчики СКР и СМР о неконтролируемом сгорании горячей смеси. На их основе РСМ смещает угол опережения зажигания на 1,5° назад. Если сигналы продолжаются, то угол продолжает снижаться до тех пор, пока процесс сгорания не нормализуется. Если детонационные шумы не появляются в течение двух секунд, то РСМ регулирует момент зажигания до границы детонации или – при стандартном качестве топлива – до предписанного момента зажигания.

Датчик детонации: постоянно на посту прослушивания.

Датчик положения дроссельной заслонки (ТР). Этот датчик привинчен к корпусу дроссельной заслонки. Он функционирует так же, как и поворотный потенциометр, и оказывает влияние на:

  • частоту вращения при холостом ходе,
  • состав всасываемой, горючей смеси (14,7 : 1),
  • регулирование отработавшего газа и
  • открытие системного контура регулирования.

Кнопочный выключатель рулевого механизма с усилителем (PSP). Он снимает свою информацию с напорного трубопровода между насосом гидравлического усилителя и рулевым механизмом. Как только давление падает, например, при маневрировании автомобиля с полным поворотом управляемых колес, PSP открывается и поставляет на РСМ сигнал на незначительное увеличение частоты вращения на холостом ходу.

Контроллер давления: Кнопочный выключатель рулевого механизма с усилителем.

Лямбда- датчик (HO2S): в двигателях Duratec на заводе устанавливаются два лямбда-датчика. Датчик 1 располагается непосредственно в коллекторе отработанных газов, датчик 2 выпускной трубке позади катализатора. Оба датчика анализируют остаточное содержание кислорода в отработанном газе и передают эту информацию на РСМ. Их сигналы оказывают влияние на:

  • количество впрыскиваемого воздуха и
  • функционирование системы приготовления горючей смеси (EVAP).

Чистильщик: HO2S лямбда-датчики.

1 — Передний лямда-датчик,
2 — Задний лямбда-датчик,
3 — Катализатор,
4 — Дополнительный глушитель.

Лямбда-датчики оказывают сильное влияние на функционирование и срок службы катализатора. Для надлежащего функционирования катализатора они предоставляют информацию о постоянной смене слегка обогащенной и обедненной горючей смеси. В комбинации с автоматической системой CDE4 фильтрацией отработанного газа занимается также дополнительный стартовый катализатор, размещенный непосредственно в выхлопном коллекторе.

Регулирующий клапан системы холостого хода (IAC). В двигателях Duratec данный клапан находится около дроссельной заслонки на впускном коллекторе. РСМ управляет им с помощью тактовых сигналов. В зависимости от частоты сигнала больше или меньше свежего воздуха обходит дроссельную заслонку через отводной клапан.

Электромагнитный клапан вихревой заслонки располагается под наклоном позади IAC-клапана во впускном коллекторе. Его управляющие импульсы базируются на частоте вращения двигателя и угле открытия дроссельной заслонки: в зависимости от ситуации клапан «пуст» или «заполнен».

В непосредственной близости:

1 — Регулирующий клапан системы холостого хода (IAC) и 2 — Электромагнитный клапан вихревой заслонки.

Электромагнитный клапан фильтра с активированным углем. В «ногу» с системой регулирования двигателя Black Oak в 2000-м Mondeo работает конструктивно измененный электромагнитный клапан. При определенных рабочих состояниях он открывается и освобождает находящиеся в фильтре пары топлива для прохода во впускной коллектор.

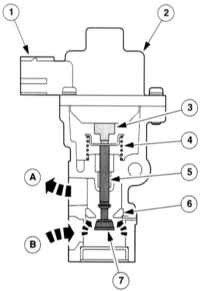
EGR-шаговый двигатель: шаговый двигатель находится в заднем конце головки блока цилиндров и чутко реагирует на цифровые сигналы от РСМ. Другими словами: шаговые двигатели силовых агрегатов Duratec реализуют очень маленькие шаговые движения. Кроме того, по сравнению с обычными приводами они во время работы не чувствительны к вибрациям и колебаниям давления. Вращательные движения шагового двигателя шпиндель преобразует в движение подъема, за счет которых строго открывается клапан. Эта особенность улучшает не только принцип действия рециркуляции отработавшего газа, но и делает ненужными наличие дополнительных компонентов, например, дифференциального клапана отработанного газа (DPEF).

EGR-шаговый двигатель

Не чувствителен к вибрациям и колебаниям давления.

А – к системе всасывания,
В – от коллектора отработавших газов,
1 — Электрическое подсоединение,
2 — Шаговый двигатель,
3 — Шпиндель шагового двигателя,

4 — Нажимная пружина,
5 — Шпиндель клапана,
6 — Седло клапана,
7 — Седло клапана.

Форсунки: форсунки с четырьмя отверстиями для впрыскивания и боковой подачей топлива размещаются в общей трубке распределителя топлива. РСМ последовательно управляет форсунками. Их сопла установлены строго под определенными углами, так чтобы соответственно «встречались» два отверстия правого и два отверстия левого клапанов.

Плечом к плечу: форсунки с четырьмя отверстиями 1 для впрыскивания и боковой подачей топлива размещаются в общей трубке распределителя 2.

Датчик температуры наружного воздуха (ААТ). Датчик температуры наружного воздуха «скрытно» сидит в буфере спереди слева. Его сигнал управляет

  • индикатором наружной температуры на щитке приборов,
  • регулировкой генератора (Smart Charge) и
  • кондиционером.

Датчик частоты вращения приводных валов (OSS) и скорости движения (VS): сигналы обоих датчиков обрабатывает РСМ для регулирования воздушного потока в системе холостого хода (IAC), для обогащения топливовоздушной смеси во время ускорения и режима принудительного холостого хода.

Возможна с ограничениями – самопомощь с системой впрыска

Как уже отмечено во введении к данному руководству, большинство работ с системой впрыска лучше передать профессионалам. У них имеются необходимые контрольные приборы и соответствующие познания. Например, при наличии неисправностей в электронной системе управления двигателем и для того, чтобы их надлежащим образом локализовать, необходимо провести ряд тестов в определенной последовательности. Только так можно установить дефекты и их последствия и назначить курс ремонтных работ. Наличие обычных «домашних» знаний недостаточно для работы с системой впрыскивания Mondeo. Но здесь нет оснований для «паники»: на практике возможные повреждения в этой системе встречаются редко.


« предыдущая страница
6.12. Очистка и замена фильтровального патрона
^
к оглавлению
следующая страница »
7.1. Иногда рационально проводить визуальный осмотр системы впрыска

Copyright © 2026 Все права защищены. Все торговые марки являются собственностью их владельцев.