поиск в избранное карта сайта
  Hyundai РЕМОНТ ОБСЛУЖИВАНИЕ ЭКСПЛУАТАЦИЯ АВТОМОБИЛЕЙ
Хендай Соната. Hyundai Sonata (с 2001 года выпуска)

полные технические характеристики. диагностика. электросхемы
 
Главная
 
Hyundai
Sonata
1. Общие сведения
2. Двигатель
2.1. Двигатели DOHC 2,0 и 2,4 л
2.2. Двигатели V6 2,7 л
2.3. Система смазки
2.4. Система охлаждения
2.5. Система зажигания
2.6. Система питания
2.7. Система снижения токсичности отработавших газов
2.7.1. Проверка неисправностей
2.7.2. Расположение элементов системы снижения токсичности отработавших газов
2.7.3. Система вентиляции картера
2.7.4. Клапан принудительной вентиляции картера
2.7.5. Система улавливания паров топлива
2.7.6. Система контроля токсичности отработавших газов
3. Трансмиссия
4. Рулевое управление
5. Ходовая часть
6. Тормозная система
7. Кузов
8. Дополнительная система безопасности
9. Системы обогрева, вентиляции и кондициони-рования воздуха
10. Электрооборудование
11. Схемы электрооборудования
 


2.7.3. Система вентиляции картера

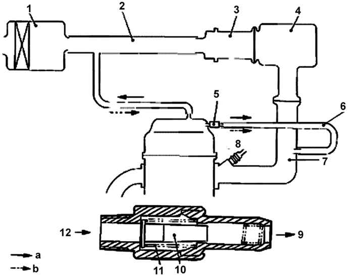
Расположение элементов системы вентиляции картера и направление потоков газов и свежего воздуха в двигателе DOHC
Рис. 2.163. Расположение элементов системы вентиляции картера и направление потоков газов и свежего воздуха в двигателе DOHC: а – картерные газы; b – свежий воздух; 1 – воздушный фильтр; 2 – воздушный шланг; 3 – дроссельный узел; 4 – воздушная расширительная камера; 5 – клапан принудительной вентиляции картера; 6 – шланг вентиляции картера; 7 – впускной коллектор; 8 – топливная форсунка; 9 – к впускному коллектору; 10 – поршень; 11 – пружина; 12 – от крышки головки блока цилиндров


Расположение элементов системы вентиляции картера и направление потоков газов и свежего воздуха при различных режимах работы двигателя V6
Рис. 2.164. Расположение элементов системы вентиляции картера и направление потоков газов и свежего воздуха при различных режимах работы двигателя V6: а – вид спереди; b – вид сзади; с – эксплуатация при низкой нагрузке; d – эксплуатация при высокой нагрузке; e – свежий воздух;
1, 6 – шланги прорыва картерных газов; 2 – воздушный шланг; 3 – шланг вентиляции картера; 4 – клапан принудительной вентиляции картера; 5 – воздушный шланг


При работе двигателя через зазоры поршневых колец в картер проникает незначительное количество отработавших газов. Чтобы уплотнения и прокладки двигателя не подвергались слишком высоким нагрузкам и для исключения повреждения двигателя, газы, находящиеся в картере под давлением, должны отводиться из двигателя. Для этого предназначена система вентиляции картера двигателя (рис. 2.163, 2.164). Для защиты окружающей среды картерные газы отводятся во впускной тракт двигателя.
Шланг вентиляции крепится к крышке головки блока цилиндров. Периодически необходимо проверять, накопились ли в этом шланге остатки масла, которые смываются бензином.
Уменьшение давления в камерах сгорания свидетельствует об износе поршней, поршневых колец и рабочих поверхностей цилиндров, увеличивается количество отработавших газов, проходящих через систему вентиляции картера, что заметно после открытия пробки маслоналивной горловины. По количеству выходящих отработавших газов можно примерно оценить степень износа двигателя.

« предыдущая страница
2.7.2. Расположение элементов системы снижения токсичности отработавших газов
^
к оглавлению
следующая страница »
2.7.4. Клапан принудительной вентиляции картера

Copyright © 2026 Все права защищены. Все торговые марки являются собственностью их владельцев.