поиск в избранное карта сайта
  Hyundai РЕМОНТ ОБСЛУЖИВАНИЕ ЭКСПЛУАТАЦИЯ АВТОМОБИЛЕЙ
Хендай Соната. Hyundai Sonata (с 2001 года выпуска)

полные технические характеристики. диагностика. электросхемы
 
Главная
 
Hyundai
Sonata
1. Общие сведения
2. Двигатель
2.1. Двигатели DOHC 2,0 и 2,4 л
2.2. Двигатели V6 2,7 л
2.3. Система смазки
2.4. Система охлаждения
2.5. Система зажигания
2.6. Система питания
2.7. Система снижения токсичности отработавших газов
2.7.1. Проверка неисправностей
2.7.2. Расположение элементов системы снижения токсичности отработавших газов
2.7.3. Система вентиляции картера
2.7.4. Клапан принудительной вентиляции картера
2.7.5. Система улавливания паров топлива
2.7.6. Система контроля токсичности отработавших газов
3. Трансмиссия
4. Рулевое управление
5. Ходовая часть
6. Тормозная система
7. Кузов
8. Дополнительная система безопасности
9. Системы обогрева, вентиляции и кондициони-рования воздуха
10. Электрооборудование
11. Схемы электрооборудования
 


2.7.5. Система улавливания паров топлива

На автомобилях вентиляционные шланги не соединены непосредственно с окружающим воздухом, а соединены с канистрой с активированным углем (адсорбером). Канистра с активированным углем предназначена для улавливания выходящих через этот шланг вредных для окружающей среды паров топлива, которые постоянно образуются в результате нагревания топлива в баке.
При работающем под определенной нагрузкой двигателе пары топлива отсасываются из канистры с активированным углем. Этим процессом управляет электромагнитный клапан.

Проверка электромагнитного  клапана системы улавливания  паров топлива (EVAP)
Потребляемый ток при напряжении 12 В клапана составляет не более 0,45 А.
Электромагнитный клапан системы улавливания паров топлива (EVAP) управляется электронным блоком. Пары топлива аккумулируются в канистре с активированным углем. При работе холодного двигателя и на холостом ходу клапан закрыт, и пары топлива не попадают в расширительную камеру. После прогрева двигателя во время нормального движения автомобиля клапан открывается, и пары топлива поступают в двигатель, где и происходит их сгорание.

ПРЕДУПРЕЖДЕНИЕ
При отсоединении промаркируйте вакуумный шланг, чтобы затем установить его в первоначальное положение.


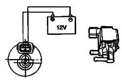
Использование вакуумного насоса для проверки электромагнитного клапана системы улавливания паров топлива (EVAP)
Рис. 2.167. Использование вакуумного насоса для проверки электромагнитного клапана системы улавливания паров топлива (EVAP)


Отсоедините вакуумный шланг (черного цвета с красной полосой) от электромагнитного клапана и вместо него подсоедините вакуумный насос с вакуумным шлангом (рис. 2.167).
Отсоедините разъем жгута проводов.
Подсоедините вакуумный насос к штуцеру, с которым был соединен вакуумный шланг с красной полосой.

Проверка разрежения при подаче напряжения к электромагнитному клапану системы улавливания паров топлива
Рис. 2.168. Проверка разрежения при подаче напряжения к электромагнитному клапану системы улавливания паров топлива


Создайте разрежение и проверьте его поддержание при подаче (рис. 2.168) и прекращении подачи напряжения к клапану улавливания паров топлива (табл. 2.28).
Измерьте ток, потребляемый электромагнитным клапаном канистры с активированным углем.
Номинальный ток при температуре 20 °C – не более 0,45 А.
Измерьте сопротивление между контактами разъема электромагнитного клапана системы улавливания паров топлива. При температуре 20 °C оно должно быть 26 Ом.

Таблица 2.28
Параметры  поддержки вакуума  в зависимости от подачи напряжения на электромагнитный клапан системы улавливания паров топлива
Система улавливания паров топлива

Проверка вакуумного шланга
Перед проверкой прогрейте двигатель до тех пор, пока температура охлаждающей жидкости не будет равна 80–95 °C.
Отсоедините вакуумный насос от штуцера шланга впускного коллектора и вместо него подсоедините ручной вакуумный насос.
Пустите двигатель и убедитесь, что при увеличении частоты вращения коленчатого вала двигателя уровень разрежения остается постоянным.

ПРЕДУПРЕЖДЕНИЕ
Если разрежение не создается, отверстие впускного коллектора может быть загрязнено, и его надо очистить.

Ограничитель перелива  (двухтактный клапан)
Для проверки двухтактного клапана подуйте во впускное и выпускное отверстия. Если воздух проходит с небольшим сопротивлением, значит, клапан исправен.

Крышка горловины топливного бака
Для предотвращения выброса паров топлива в атмосферу крышка горловины топливного бака оборудована вакуумным перепускным клапаном.

Расположение прокладки (1) крышки горловины топливного бака
Рис. 2.169. Расположение прокладки (1) крышки горловины топливного бака


Проверьте прокладку крышки горловины топливного бака и наливную горловину на отсутствие повреждения и деформации (рис. 2.169). При необходимости замените крышку.

« предыдущая страница
2.7.4. Клапан принудительной вентиляции картера
^
к оглавлению
следующая страница »
2.7.6. Система контроля токсичности отработавших газов

Copyright © 2026 Все права защищены. Все торговые марки являются собственностью их владельцев.