поиск в избранное карта сайта
  KIA РЕМОНТ ОБСЛУЖИВАНИЕ ЭКСПЛУАТАЦИЯ АВТОМОБИЛЕЙ
Киа Маджентис. KIA Magentis / Optima (с 2000 года выпуска)

полные технические характеристики. диагностика. электросхемы
 
Главная
 
KIA
Magentis / Optima
1. Двигатели
1.1. Двигатели 2,0 л DOHC
1.2. Двигатели V6 2,5 л
1.2.1. Технические данные
1.2.2. Проверка компрессии
1.2.3. Регулировка зазоров клапанов
1.2.4. Зубчатый ремень
1.2.5. Проверка и регулировка натяжения поликлиновых ремней
1.2.6. Затягивание болтов крепления головки блока цилиндров
1.2.7. Головка блока цилиндров, клапана и пружины клапанов
1.2.8. Опоры двигателя
1.2.9. Снятие и установка двигателя и коробки передач
1.2.10. Распределительные валы
1.2.11. Гидравлические компенсаторы зазоров клапанов
1.2.12. Поршни и шатуны
1.2.13. Коленчатый вал
1.2.14. Блок цилиндров
1.2.15. Воздушный фильтр двигателя V6
1.2.16. Расширительная воздушная камера
1.2.17. Впускной коллектор
1.2.18. Выпускной коллектор
1.2.19. Глушители
1.2.20. Поиск и устранение неисправностей
2. Система смазки
3. Система охлаждения
4. Контроль и снижение токсичности
5. Топливная система
6. Система зажигания
7. Сцепление
8. Коробка передач
9. Приводные валы, оси
10. Подвеска
11. Рулевое управление
12. Тормозная система
13. Кузов
14. Система кондиционирования
15. Электрическое оборудование
16. Электрические схемы
 


1.2.12. Поршни и шатуны

Снятие

Крышка шатуна

 ПОРЯДОК ВЫПОЛНЕНИЯ

Держите крышки шатунов с соответствующими шатунами для правильной повторной установки их в цилиндры двигателя.

1. Отверните гайки и снимите крышку шатуна и нижний вкладыш шатунного подшипника. Для защиты шеек коленчатого вала наденьте на болты крепления крышек шатунов отрезки резиновой или пластмассовой трубки.

2. Деревянным бруском или ручкой молотка вытолкните поршень с шатуном из цилиндра.

Снятие и установка поршневого пальца

 ПОРЯДОК ВЫПОЛНЕНИЯ

1. Для разборки и повторной сборки поршня и шатуна необходимо использовать специальные инструменты 09234–33001.

2. Установите универсальные опоры в зажим между шатуном и поршнем.

3. Вставьте съемник через отверстие в арке зажима.

Вставьте зажим с поршнем, шатуном и съемником под ползун пресса.

4. Съемником выдавите поршневой палец из поршня.

5. Установите направляющие штифты через поршень в шатун, а поршневой палец установите с другой стороны поршня.

Направляющие штифты определяют положение шатуна в поршне. После установки поршня, шатуна, поршневого пальца и приспособления для установки поршневого пальца во вставки, направляющие штифты также определяют их положение в зажиме. Если направляющие штифты слишком маленькие, поршень не будет располагаться по центру в приспособлении и может быть поврежден зажим и/ или приспособление.

6. Установите поршень в сборе на зажим, при этом направляющий штифт поддерживает шатун в поршневом пальце. Убедитесь, что поршень надвигается на зажим, пока направляющий штифт не войдет в контакт с вилочной вставкой.
7. Проверьте правильность взаимного расположения поршня и шатуна и, вращая гайку с накаткой, закрепите пронумерованную втулку на валу.

8. Вставьте вал через отверстие в арке зажима. Вдавите поршневой палец в шатун, пока втулка на валу не войдет в контакт с верхней частью арки зажима, при этом направляющий штифт должен выпасть из поршня.

Усилие запрессовки поршневого пальца не должно превышать 2450–12255 Н.

Проверка

Поршень и поршневые пальцы

 ПОРЯДОК ВЫПОЛНЕНИЯ

1. Проверьте наружную поверхность поршня на отсутствие повреждений, выработки или неравномерного износа. При необходимости, замените поршень.
2. Проверьте каждое поршневое кольцо на отсутствие повреждений и неравномерного износа. При необходимости, замените поршневые кольца. При замене поршня также необходимо заменить поршневые кольца.
3. Проверьте поршневой палец, вставляя его в отверстие поршня. Поршневой палец должен плавно входить в поршень при нажатии на него рукой (при комнатной температуре).

Поршневые кольца

 ПОРЯДОК ВЫПОЛНЕНИЯ

1. Вставьте новое поршневое кольцо в канавку поршня и щупом измерьте зазор между поршневым кольцом и стенкой канавки. Если зазор превышает предельно допустимое значение, замените поршень.

  • Зазор между поршневым кольцом и канавкой в поршне:
  • Первое компрессионное кольцо: 0,04–0,08 мм
  • Второе компрессионное кольцо: 0,03–0,07 мм
  • Предельно допустимый зазор: 0,1 мм

2. Измерьте зазор в замке поршневых колец, вручную вставив поршневое кольцо в цилиндр двигателя. Днищем поршня протолкните поршневое кольцо в нижнюю часть цилиндра. Щупом измерьте зазор в замке поршневого кольца.

  • Зазор в замках поршневых колец:
  • Первое компрессионное кольцо: 0,20–0,35 мм
  • Второе компрессионное кольцо: 0,37–0,52 мм
  • Маслосъемное кольцо: 0,30–0,90 мм
  • Предельно допустимый зазор: 1,0 мм
  • Первое и второе компрессионные кольца: 0,8 мм
  • Маслосъемное кольцо: 1,0 мм

При замене поршневого кольца без расточки цилиндра, проверьте зазор в замке кольца, поместив его в нижнюю часть цилиндра. В качестве запасных частей поставляются поршневые кольца увеличенных размеров на 0,25, 0,50, 0,75 и 1,00 мм.

Маркировка поршневого кольца нанесена на верхней стороне кольца рядом с его замком.

Шатуны

 ПОРЯДОК ВЫПОЛНЕНИЯ

1. При установке убедитесь, что шатун и крышка шатуна соответствуют номеру цилиндра, в который они устанавливаются. При установке нового шатуна удостоверьтесь, что метки, определяющие его положение, находятся с той же стороны что и метки на остальных шатунах.

2. Замените шатун, если имеются повреждения на обеих опорных поверхностях. Также замените шатун, если имеются износ или повреждение поверхности, сопрягаемой с поршневым пальцем.

Установка

 ПОРЯДОК ВЫПОЛНЕНИЯ

1. Установите расширительное кольцо.

2. Установите верхнюю боковую направляющую. Чтобы установить боковую направляющую, сначала поместите один конец боковой направляющей между стенкой канавки поршневого кольца и расширительным кольцом, нажмите на него, после чего, нажимая по периметру, установите ее в канавку поршня.

Не используйте пассатижи для разжатия поршневых колец при установке боковой направляющей.

3. Аналогичным образом установите нижнюю боковую направляющую.
4. Смажьте поршни и поршневые кольца моторным маслом.
5. Пассатижами для разжатия поршневых колец установите компрессионное кольцо №2.

6. Пассатижами для разжатия поршневых колец установите компрессионное кольцо №1.

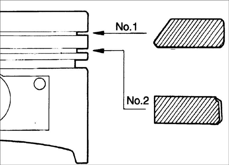
7. Расположите замки поршневых колец, как показано на рисунке.

8. Специальным приспособлением сожмите поршневые кольца на поршне.
9. Установите верхние вкладыши коренных подшипников в блок цилиндров.

10. Установите шатунные вкладыши в крышку шатуна.

Вкладыши с канавкой для смазки необходимо устанавливать в блок цилиндров.

11. Установите упорные полукольца в крышку коренного подшипника №3, смазочными канавками направленными наружу.

12. Установите поршень с поршневыми кольцами над первым цилиндром, при этом метка на поршне должна быть направлена к передней части блока цилиндров.
13. Ручкой молотка вдавите поршень в цилиндр так, чтобы нижняя головка шатуна установилась на шейку коленчатого вала.

14. Установите крышку шатуна. Убедитесь, что метка цилиндра на шатуне и крышке шатуна находятся с одной стороны.

15. Вверните болты следующим образом.

  • Смажьте моторным маслом пятна контакта и резьбу гаек.
  • Затяните болт крепления крышки шатуна.

Момент затяжки: 16–20 Н•м + довернуть на угол 90°–94°

16. Проверьте зазор в подшипниках следующим образом:

  • Очистите подшипники и коренные и шатунные шейки коленчатого вала от смазки, а смазочные отверстия продуйте сжатым воздухом.
  • Расположите отрезки пластикового измерительного стержня Plastigauge на шейках коренных подшипников коленчатого вала.
  • В соответствии с маркировкой установите крышки подшипников. В определенной последовательности затяните болты крепления крышек подшипников коленчатого вала. Не проворачивайте коленчатый вал двигателя при измерении зазора подшипников коленчатого вала.
  • Выверните болты и снимите крышки коренных подшипников коленчатого вала. Измерительным шаблоном измерьте ширину деформированного пластикового стержня Plastigauge и определите величину зазора.

Зазор коренных подшипников коленчатого вала: 0,018–0,036 мм
Предельно допустимый зазор коренных подшипников коленчатого вала: 0,1 мм

17. Щупом, вставленным между шатуном и коленчатым валом, измерьте боковой зазор шатуна.

Номинальный боковой зазор шатуна: 0,10–0,25 мм
Предельно допустимый зазор: 0,40 мм


« предыдущая страница
1.2.11. Гидравлические компенсаторы зазоров клапанов
^
к оглавлению
следующая страница »
1.2.13. Коленчатый вал

Copyright © 2026 Все права защищены. Все торговые марки являются собственностью их владельцев.