поиск в избранное карта сайта
  Mazda РЕМОНТ ОБСЛУЖИВАНИЕ ЭКСПЛУАТАЦИЯ АВТОМОБИЛЕЙ
Мазда 3. Mazda 3 (с 2003 года выпуска)

полные технические характеристики. диагностика. электросхемы
 
Главная
 
Mazda
3
1. Эксплуатация и техническое обслуживание автомобиля
2. Двигатель
2.1. Общее описание новых двигателей моделей L8, LF и L3
2.1.1. Механическая часть двигателей
2.1.1.1. Крышка головки блока цилиндров
2.1.1.2. Головка блока цилиндров
2.1.1.3. Прокладка головки блока цилиндров
2.1.1.4. Блок цилиндров
2.1.1.5. Коленчатый вал и коренной подшипник
2.1.1.6. Балансировочный блок
2.1.1.7. Принцип действия балансировочного блока
2.1.1.8. Демпфер крутильных колебаний коленчатого вала
2.1.1.9. Передняя крышка двигателя
2.1.1.10. Поршень
2.1.1.11. Поршневые кольца и поршневой палец
2.1.1.12. Шатун и шатунный подшипник
2.1.1.13. Клапанный механизм – общие сведения
2.1.1.14. Распределительный вал
2.1.1.15. Звездочка распределительного вала
2.1.1.16. Звездочка коленчатого вала
2.1.1.17. Цепь привода механизма газораспределения
2.1.1.18. Натяжитель цепи привода механизма газораспределения
2.1.1.19. Клапан, клапанная пружина, маслоотражательный колпачок, направляющая втулка клапана
2.1.1.20. Толкатель клапана
2.1.2. Механизм изменения фаз газораспределения
2.1.3. Система смазки
2.1.4. Система охлаждения
2.1.5. Топливная система
2.1.6. Система выпуска отработавших газов и система снижения токсичности
2.1.7. Электрооборудование двигателей
2.2. Механическая часть двигателей
2.3. Приложение 1
2.4. Приложение 2
2.5. Приложение 3
2.6. Двигатель Z6 – механическая часть
2.7. Система смазки
2.8. Система охлаждения
2.9. Система впуска
2.10. Топливная система
2.11. Система выпуска отработавших газов и система снижения токсичности
2.12. Система зажигания
2.13. Система управления
2.14. Таблицы
3. Трансмиссия
4. Ходовая часть
5. Рулевой механизм
6. Тормозная система
7. Бортовое электрооборудование
8. Кузов
 


2.1.1.11. Поршневые кольца и поршневой палец

Поршневые кольца и поршневой палец
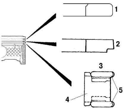
Рис. 2.17. Поршневые кольца и поршневой палец: 1 – сечение верхнего кольца; 2 – сечение второго кольца; 3 – сечение маслосъемного кольца; 4 – боковые кольца; 5 – расширитель


Используются следующие поршневые кольца. верхнее бочкообразное кольцо. Второе конусное с проточкой. маслосъемное кольцо – два кольца и расширитель. Поршневой палец сделан из сплава хромистой стали, который имеет повышенную жесткость (рис. 2.17).

« предыдущая страница
2.1.1.10. Поршень
^
к оглавлению
следующая страница »
2.1.1.12. Шатун и шатунный подшипник

Copyright © 2026 Все права защищены. Все торговые марки являются собственностью их владельцев.