поиск в избранное карта сайта
  Mazda РЕМОНТ ОБСЛУЖИВАНИЕ ЭКСПЛУАТАЦИЯ АВТОМОБИЛЕЙ
Мазда 3. Mazda 3 (с 2003 года выпуска)

полные технические характеристики. диагностика. электросхемы
 
Главная
 
Mazda
3
1. Эксплуатация и техническое обслуживание автомобиля
2. Двигатель
3. Трансмиссия
4. Ходовая часть
5. Рулевой механизм
6. Тормозная система
7. Бортовое электрооборудование
8. Кузов
8.1. Общие сведения
8.1.1. Каркас кузова
8.1.1.1. Основные характеристики
8.1.1.2. Зона деформации
8.1.1.3. Кабина
8.1.1.4. Панель рамы радиатора
8.1.1.5. Передний усилитель бампера
8.2. Навесные компоненты кузова
8.3. Остекление кузова
8.4. Сиденья
8.5. Кондиционер и отопитель
8.6. Таблицы
 


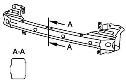
8.1.1.5. Передний усилитель бампера

Передний усилитель бампера
Рис. 8.5. Передний усилитель бампера


Профиль большого поперечного сечения использован для увеличения прочности. Рамка и область соединения имеют деформируемую конструкцию. При слабых столкновениях удар поглощается и рассеивается, уменьшая силу воздействия приходящуюся на раму и другие элементы.


« предыдущая страница
8.1.1.4. Панель рамы радиатора
^
к оглавлению
следующая страница »
8.2. Навесные компоненты кузова

Copyright © 2026 Все права защищены. Все торговые марки являются собственностью их владельцев.