поиск в избранное карта сайта
  Mercedes-Benz РЕМОНТ ОБСЛУЖИВАНИЕ ЭКСПЛУАТАЦИЯ АВТОМОБИЛЕЙ
Мерседес-Бенц. Mercedes-Benz Е-класса

полные технические характеристики. диагностика. электросхемы
 
Главная
 
Mercedes-Benz
E-класс
1. Введение
2. Описание модели Mercedes E-класса
3. Условия работы и инструмент
4. Уход за автомобилем
5. Дизельные двигатели
5.1. Общие сведения
5.2. Система смазки
5.2.1. Масляный насос
5.2.2. Давление масла
5.2.3. Моторное масло
5.2.4. Автоматический контроль уровня масла
5.2.5. Проверка работы датчика уровня масла
5.2.6. Проверка состояния масла в двигателе
5.2.7. Замена масла и масляного фильтра
5.2.8. Заправочные объемы
5.2.9. Проверка герметичности масляной системы
5.2.10. Возможные неисправности системы смазки, их причины и способы устранения
5.3. Система охлаждения
5.4. Системы впрыска дизельных двигателей
5.5. Система питания
5.6. Система выпуска отработавших газов
6. Бензиновые двигатели
7. Трансмиссия
8. Ходовая часть
9. Тормозная система
10. Электрооборудование
11. Салон
12. Кузов
13. Приложения
14. Схемы электрооборудования
 


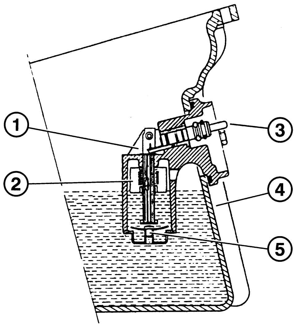
5.2.4. Автоматический контроль уровня масла

Встроенный датчик масла
Рис. 4.33. Встроенный датчик масла: 1 – датчик уровня масла; 2 – поплавок с магнитом; 3 – разъем; 4 – картер двигателя; 5 – контрольное отверстие с биметаллической пластиной


Контрольная лампочка уровня масла на приборной панели загорается в том случае, если уровень масла находится на нижней трети масляного щупа. чтобы избежать ошибочной подачи сигнала, используется передача сигнала с запаздыванием. Кроме того, масло должно быть достаточно жидким. Специальный датчик сбоку картера (рис. 4.33) контролирует уровень масла в двигателе. Биметаллическая пластина внизу на датчике уровня масла открывается только при 60 °С. Только тогда может измениться уровень масла в воронкообразном датчике. Эта пластина предотвращает подачу ошибочных сигналов при резких поворотах.
При включении зажигания контрольная лампа загорается слабо (проверка лампочки) и гаснет при запуске двигателя.

« предыдущая страница
5.2.3. Моторное масло
^
к оглавлению
следующая страница »
5.2.5. Проверка работы датчика уровня масла

Copyright © 2026 Все права защищены. Все торговые марки являются собственностью их владельцев.