поиск в избранное карта сайта
  Mitsubishi РЕМОНТ ОБСЛУЖИВАНИЕ ЭКСПЛУАТАЦИЯ АВТОМОБИЛЕЙ
Мицубиси Кольт. Mitsubishi Colt (с 1983 по 1993 год выпуска)

полные технические характеристики. диагностика. электросхемы
 
Главная
 
Mitsubishi
Colt
1. Инструкция по эксплуатации автомобилей Mitsubishi Colt / Lancer / Mirage / Galant / Eterna / Saporro / Sigma / Magna / Cordia / Tredia / Precis с 1983 по 1993 год выпуска
2. Регулировка и текущее техническое обслуживание
3. Двигатель
4. Переборка двигателя
5. Системы охлаждения, отопления и кондиционирования воздуха
6. Система питания и выпуска отработавших газов
7. Электрооборудование двигателя
8. Системы снижения токсичности выхлопов
8.1. Общая информация
8.2. Система вентиляции картера
8.3. Система сбора паров топлива
8.4. Система регулировки температуры поступающего воздуха (модели с карбюраторным двигателем)
8.5. Система впрыска воздуха (модели 1988 года выпуска и раньше)
8.6. Система рециркуляции выхлопных газов
8.7. Дополнительная система подачи воздуха
8.8. Каталитический конвертер
8.9. Устройства, используемые при снижении скорости работы двигателя
8.10. Клапаны регулировки топливной смеси (модели с карбюраторным двигателем)
8.11. Система быстрого холостого хода (модели с карбюраторным двигателем)
8.12. Система компенсации низкого атмосферного давления
8.13. Электронная система управления работой двигателя
9. Механическая коробка передач
10. Автоматическая коробка передач
11. Сцепление и полуоси
12. Тормозная система
13. Подвеска и рулевое управление
14. Кузов
15. Электрооборудование кузова
 


8.11. Система быстрого холостого хода (модели с карбюраторным двигателем)

Система увеличения скорости холостого хода при включении электрооборудования или системы гидроусиления рулевого управления

11.1 Элементы системы увеличения скорости работы двигателя при включении электрооборудования или системы гидроусиления рулевого управления
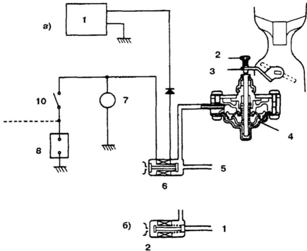
а)
1. Электромагнитный клапан (закрыт)
2 К впускному коллектору
б)
1.  Электромагнитный     клапан (открыт)
2. К впускному коллектору
3. Диафрагма открытия дроссельной заслонки
4. Регулировочный винт
5. Дроссельная заслонка 6.SAS1
7.SAS2
8.SAS3
9. Аккумулятор
10. Выключатель системы гидроусиления рулевого управления
11. Электронный блок управления
12. Датчик нагрузки на систему электрооборудования


1. Система состоит из демпфера карбюратора, электромагнитного клапана, датчика нагрузки на систему электрооборудования и реле давления в системе гидроусиления рулевого управления (11.1).
2. При увеличении нагрузки на двигатель электромагнитный клапан пропускает разрежение на демпфер карбюратора, который приоткрывает дроссельную заслонку.
Система увеличения скорости холостого хода при включении кондиционера

11.3 Элементы системы увеличения скорости работы двигателя при включении кондиционера
а)
1. Электронный блок управления
2. Регулировочный винт
3. Рычаг
4. Диафрагма открытия дроссельной заслонки
5. К впускному коллектору
6. Электромагнитный клапан (открыт)
7. Компрессор
8. Аккумулятор
9. К электромагнитному клапану
10 Выключатель кондиционера
б)
1. К впускному коллектору
2. Электромагнитный клапан (закрыт)


3. Система состоит из диафрагмы открытия дроссельной заслонки, электромагнитного клапана, выключателя кондиционера и электронного блока управления (11.3).
4. При увеличении нагрузки на двигатель при включении компрессора кондиционера электромагнитный клапан пропускает разрежение на вакуумную диафрагму, которая приоткрывает дроссельную заслонку.

« предыдущая страница
8.10. Клапаны регулировки топливной смеси (модели с карбюраторным двигателем)
^
к оглавлению
следующая страница »
8.12. Система компенсации низкого атмосферного давления

Copyright © 2026 Все права защищены. Все торговые марки являются собственностью их владельцев.