поиск в избранное карта сайта
  Mitsubishi РЕМОНТ ОБСЛУЖИВАНИЕ ЭКСПЛУАТАЦИЯ АВТОМОБИЛЕЙ
Мицубиси Паджеро. Mitsubishi Pajero (с 1982 по 1998 год выпуска)

полные технические характеристики. диагностика. электросхемы
 
Главная
 
Mitsubishi
Pajero
1. Инструкция по эксплуатации
2. Техническое обслуживание
3. Двигатели
4. Система охлаждения
5. Система смазки
6. Система питания
7. Система выпуска
8. Топливная система
9. Ходовая часть
10. Подвеска и рулевое управление
11. Тормозная система
12. Кузов
12.1. Техническое обслуживание и ремонт
12.2. Виниловая отделка
12.3. Обивка и коврики
12.4. Ремонт небольших царапин
12.5. Ремонт вмятин
12.6. Починка отверстий от ржавчины или вмятин
12.7. Наполнение и покраска
12.8. Ремонт значительных повреждений
12.9. Петли и замки
12.10. Ветровое стекло и неподвижные стекла
12.11. Снятие и установка дверей
12.12. Регулировка двери
12.13. Снятие и установка капота
12.14. Регулировка капота
12.15. Крышка заднего отсека
12.16. Бамперы
12.17. Передняя облицовочная решетка
12.18. Наружные зеркала
12.19. Передняя антенна
12.20. Снятие и установка крыла
12.21. Опоры кузова (крепление к шасси)
12.22. Люк
12.23. Держатель запасного колеса
12.24. Оборудование салона
12.25. Внутренние панели дверей
12.26. Облицовочные панели салона
12.27. Обивка потолка
12.28. Выключатель дверного замка
12.29. Стекло двери, стеклоподъемник и электродвигатель стеклоподъемника
12.30. Ветровое стекло
12.31. Заднее стекло
12.32. Внутрисалонное зеркало заднего вида
12.33. Сиденья
12.34. Ремни безопасности
13. Электрооборудование
14. Электросхемы
 


12.14. Регулировка капота

ПОРЯДОК ВЫПОЛНЕНИЯ

1. Отпустите болты петель и переместите закрытый капот до выравнивания зазора с крыльями и перегородкой.
2. Откройте капот и выровняйте окончательно.
3. Затяните болты с моментом 14 Н.м.
4. Проверьте срабатывание замка капота. Замок должен отпираться при небольшом усилии на рукоятке.

12.14. Регулировка капота

5. При необходимости отрегулируйте положение замка и защелки, перемещая их при отпущенных болтах крепления.

12.14. Регулировка капота

6. Отрегулируйте высоту капота (поверхность капота должна быть заподлицо с крыльями), вращая буфера – ограничители.

12.14. Регулировка капота

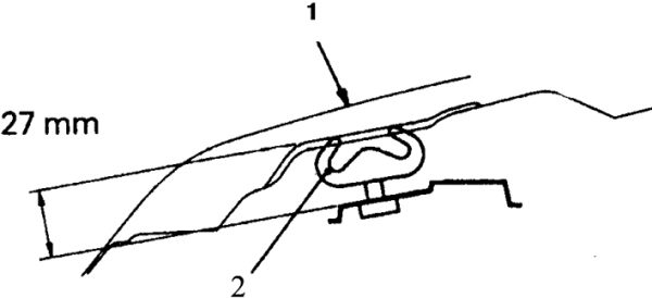
7. Выставьте буферы так, чтобы выдержать размер 27 мм (1 – капот, 2 – буфер).
8. После регулировки по высоте снова отрегулируйте положение замка.
9. По окончании проверьте затяжку всех болтов и гаек крепления.

« предыдущая страница
12.13. Снятие и установка капота
^
к оглавлению
следующая страница »
12.15. Крышка заднего отсека

Copyright © 2026 Все права защищены. Все торговые марки являются собственностью их владельцев.