поиск в избранное карта сайта
  Mitsubishi РЕМОНТ ОБСЛУЖИВАНИЕ ЭКСПЛУАТАЦИЯ АВТОМОБИЛЕЙ
Мицубиси Паджеро. Mitsubishi Pajero (с 1982 по 1998 год выпуска)

полные технические характеристики. диагностика. электросхемы
 
Главная
 
Mitsubishi
Pajero
1. Инструкция по эксплуатации
2. Техническое обслуживание
3. Двигатели
4. Система охлаждения
5. Система смазки
6. Система питания
7. Система выпуска
8. Топливная система
9. Ходовая часть
10. Подвеска и рулевое управление
11. Тормозная система
12. Кузов
13. Электрооборудование
13.1. Обнаружение неисправностей в системе электрооборудования
13.2. Проверка напряжения
13.3. Обнаружение короткого замыкания
13.4. Проверка надежности заземления
13.5. Проверка целостности цепи
13.6. Нахождение незамкнутой цепи
13.7. Предохранители
13.8. Пережигаемые перемычки
13.9. Автоматические выключатели
13.10. Система безопасности SRS (подушки безопасности)
13.11. Отопитель
13.11.1. Электродвигатель вентилятора
13.11.2. Радиатор отопителя
13.11.3. Панель управления отопителем и переключатель блока обдува
13.11.4. Тросы управления отопителем
13.12. Кондиционер
13.13. Круиз-контроль
13.14. Аудиосистема
13.15. Очистители стекол
13.16. Приборы и переключатели
13.17. Приборы освещения
13.18. Защитные устройства электрических цепей
14. Электросхемы
 


13.11.3. Панель управления отопителем и переключатель блока обдува

ОБЩИЕ СВЕДЕНИЯ

Панель управления отопителем (1983-91)
13.11.3. Панель управления отопителем и переключатель блока обдува

1. Фиксаторы ящика для мелочей
2. Трос привода заслонки распределительной коробки
3. Рукоятки
4. Заглушка
5. Центральная секция
6. Разъем
7. Нижняя крышка воздуховода ниши для ног
8. Воздуховод обогрева ветрового стекла
9. Трос делительной заслонки
10. Трос привода крана
11. Панель управления
12. Переключатель блока обдува

Панель управления отопителем (1992-98)
13.11.3. Панель управления отопителем и переключатель блока обдува

1. Фиксаторы
2, 16. Трос привода заслонки распределительной коробки
3, 14. Трос привода крана
4. Нижняя панель
5. Воздуховоды
6, 15. Трос делительной заслонки
7. Центральная секция
8. Панель управления отопителем
9. Облицовка
10. Рукоятки
11. Переключатель блока обдува
12. Переключатель кондиционера
13. Пружинные скобы

Снятие и установка
АВТОМОБИЛИ 1983-91 ГГ.

ПОРЯДОК ВЫПОЛНЕНИЯ
1. Снимите ящик для мелочей.
2. Отсоедините трос заслонки распределительной коробки, отогнув пружинную скобу.
3. Снимите с панели управления рукоятки.
4. Удалите заглушки, отверните винты и снимите центральную секцию передней панели. При снятии отсоедините разъем с тыльной стороны.
5. Снимите нижние крышки воздуховодов по передней панелью.
6. Снимите воздуховод обогрева ветрового стекла.
7. Отсоедините тросы управления отопителем.
8. Снимите отопитель в сборе.
9. Отсоедините разъем и снимите выключатель вентилятора.
10. Установка выполняется в обратном порядке.
11. Перед присоединением тросов переведите соответствующие рычаги заслонок и крана в крайние положения и закрепите оболочки тросов пружинными скобами.
12. После сборки проверьте полноту и свободу перемещения рычажков управления.

АВТОМОБИЛИ 1992-98 ГГ.

ПОРЯДОК ВЫПОЛНЕНИЯ
1. Снимите ящик для мелочей.
2. Отогните пружинные скобы и отсоедините тросы заслонки распределительной коробки и заслонки терморегулятора.
3. Снимите с панели управления рукоятки.
4. Удалите боковые заглушки, отверните винты и снимите центральную секцию передней панели. При снятии панели отсоедините разъем с тыльной стороны.
5. Снимите нижнюю крышку и воздуховоды левого бокового сопла и обдува ниши для ног.
6. Отсоедините трос делительной заслонки.
7. Отверните болты и снимите управления отопителем.
8. При необходимости снимите облицовку, рукоятки и выключатели.

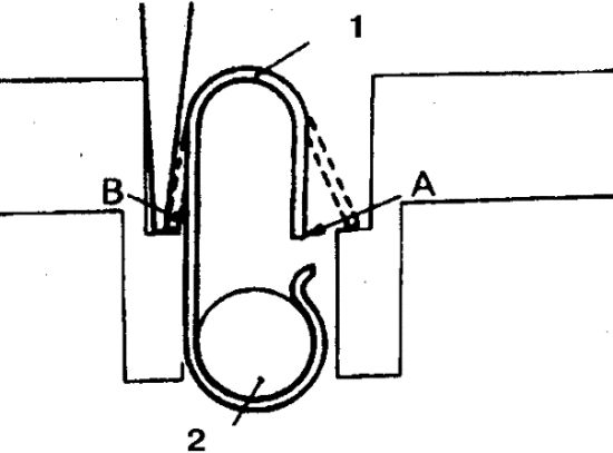
13.11.3. Панель управления отопителем и переключатель блока обдува

9. Удалите пружинные скобы крепления оболочек тросов, отжав их в направлениях А и В и снимите тросы (1 – скоба; 2 – трос).
10. Установка выполняется в обратном порядке.

13.11.3. Панель управления отопителем и переключатель блока обдува

11. Для присоединения троса заслонки распределительной коробки нажмите до отказа на рычаг в направлении, указанном стрелкой.

13.11.3. Панель управления отопителем и переключатель блока обдува

12. Для присоединения троса заслонки терморегулятора нажмите до отказа на рычаг в направлении, указанном стрелкой.

13.11.3. Панель управления отопителем и переключатель блока обдува

13. Для присоединения троса делительной заслонки нажмите до отказа на рычаг в направлении, указанном стрелкой.
14. Закрепите оболочки тросов пружинными скобами.
15. После сборки проверьте полноту и свободу перемещения рычажков управления.

« предыдущая страница
13.11.2. Радиатор отопителя
^
к оглавлению
следующая страница »
13.11.4. Тросы управления отопителем

Copyright © 2026 Все права защищены. Все торговые марки являются собственностью их владельцев.