поиск в избранное карта сайта
  Mitsubishi РЕМОНТ ОБСЛУЖИВАНИЕ ЭКСПЛУАТАЦИЯ АВТОМОБИЛЕЙ
Мицубиси Паджеро. Mitsubishi Pajero (с 1982 по 1998 год выпуска)

полные технические характеристики. диагностика. электросхемы
 
Главная
 
Mitsubishi
Pajero
1. Инструкция по эксплуатации
2. Техническое обслуживание
3. Двигатели
4. Система охлаждения
5. Система смазки
6. Система питания
7. Система выпуска
8. Топливная система
9. Ходовая часть
10. Подвеска и рулевое управление
11. Тормозная система
12. Кузов
13. Электрооборудование
13.1. Обнаружение неисправностей в системе электрооборудования
13.2. Проверка напряжения
13.3. Обнаружение короткого замыкания
13.4. Проверка надежности заземления
13.5. Проверка целостности цепи
13.6. Нахождение незамкнутой цепи
13.7. Предохранители
13.8. Пережигаемые перемычки
13.9. Автоматические выключатели
13.10. Система безопасности SRS (подушки безопасности)
13.11. Отопитель
13.12. Кондиционер
13.13. Круиз-контроль
13.14. Аудиосистема
13.14.1. Магнитола и CD-проигрыватель
13.14.2. Передние и задние динамики
13.15. Очистители стекол
13.16. Приборы и переключатели
13.17. Приборы освещения
13.18. Защитные устройства электрических цепей
14. Электросхемы
 


13.14.1. Магнитола и CD-проигрыватель

ОБЩИЕ СВЕДЕНИЯ

Детали монтажа приемника (магнитолы) на а/м 1987-91 гг.
13.14.1. Магнитола и CD-проигрыватель

1. Рукоятки
2. Заглушка
3. Центральная панель
4. Разъем
5. Фальшпанель
6. Кронштейн
7. Приемник
8. Коробка (для а/м только с приемником)
9. Магнитола

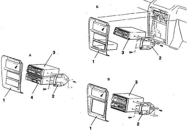
Детали монтажа магнитолы/ CD-проигрывателя на а/м 1992-98 гг.
13.14.1. Магнитола и CD-проигрыватель

1. Облицовка
2. Кронштейн
3. Магнитола
4. СD-проигрыватель
а. Магнитола и СD-проигрыватель
б. Магнитола тип А
в. Магнитола тип В

Снятие и установка
АВТОМОБИЛИ 1987-91 ГГ.

ПОРЯДОК ВЫПОЛНЕНИЯ
1. Отсоедините батарею от массы.
2. Снимите центральную панель, снимите фальшпанель приемника.
3. Отсоедините от центральной панели кронштейн приемника и снимите приемник.

АВТОМОБИЛИ 1992-98 ГГ.

ПОРЯДОК ВЫПОЛНЕНИЯ
1. Отсоедините батарею от массы.
2. Снимите облицовку, отверните винты крепления и достаньте магнитолу, обозначьте и отсоедините провода (при необходимости снимите ящик для мелочей, повернув фиксаторы, и отсоедините от магнитолы провода с тыльной стороны).

« предыдущая страница
13.14. Аудиосистема
^
к оглавлению
следующая страница »
13.14.2. Передние и задние динамики

Copyright © 2026 Все права защищены. Все торговые марки являются собственностью их владельцев.