поиск в избранное карта сайта
  Mitsubishi РЕМОНТ ОБСЛУЖИВАНИЕ ЭКСПЛУАТАЦИЯ АВТОМОБИЛЕЙ
Мицубиси Паджеро. Mitsubishi Pajero (с 1982 по 1998 год выпуска)

полные технические характеристики. диагностика. электросхемы
 
Главная
 
Mitsubishi
Pajero
1. Инструкция по эксплуатации
2. Техническое обслуживание
3. Двигатели
3.1. Свечи
3.2. Проверка проводов
3.3. Система зажигания
3.4. Капитальный ремонт двигателя
3.4.1. Электрооборудование двигателя
3.4.2. Распределитель зажигания
3.4.3. Генератор
3.4.4. Батарея
3.4.5. Стартер
3.4.6. Тяговое реле стартера
3.4.7. Датчики
3.4.8. Указания по обслуживанию и ремонту двигателя
3.4.9. Проверка компрессии в цилиндрах двигателей
3.4.10. Технические данные двигателей
3.4.11. Снятие и установка двигателя
3.4.12. Крышка головки блока цилиндров
3.4.13. Валики и коромысла
3.4.14. Термостат системы охлаждения
3.4.15. Впускной коллектор
3.4.16. Выпускной коллектор
3.4.17. Объединенный коллектор (дизель с турбонаддувом)
3.4.18. Турбокомпрессор
3.4.19. Турбонагнетатель
3.4.20. Радиатор
3.4.21. Маслоохладитель
3.4.22. Вентилятор
3.4.23. Насос охлаждающей жидкости
3.4.24. Головка цилиндров
3.4.25. Клапаны и пружины
3.4.26. Седла
3.4.27. Замена направляющих втулок
3.4.28. Гидротолкатели
3.4.29. Зубчатый ремень и крышки
3.4.30. Цепь и крышка (двигатель 2,6 л)
3.4.31. Масляный поддон
3.4.32. Масляный насос и сайлент-валики (виброгасители)
3.4.33. Распредвалы и опоры
3.4.34. Проверка состояния распредвала
3.4.35. Поршни и шатуны
3.4.36. Задний сальник
3.4.37. Коренные подшипники
3.4.38. Маховик
3.4.39. Выхлопная система
3.5. Дизельный и турбодизельный двигатели 2,5 и 2,8 л
4. Система охлаждения
5. Система смазки
6. Система питания
7. Система выпуска
8. Топливная система
9. Ходовая часть
10. Подвеска и рулевое управление
11. Тормозная система
12. Кузов
13. Электрооборудование
14. Электросхемы
 


3.4.32. Масляный насос и сайлент-валики (виброгасители)

ОБЩИЕ СВЕДЕНИЯ

Масляный насос и валики виброгасителей (2,0 и 2,4 л)
3.4.32. Масляный насос и сайлент-валики (виброгасители)

1. Передний подшипник
2. Задний подшипник правый
3. Задний подшипник левый
4. Левый валик
5, 14, 25. Прокладка
6. Сетчатый фильтр
7, 8, 11, 17. Болты
9. Передний кожух в сборе
10. Сальник
12. Заглушка
13, 18. Кронштейн масляного фильтра
15. Пружина
16. Редукционный клапан
19. Масляный фильтр
20. Датчик аварийного давления масла (Tredia)
21. Датчик указатедя давления масла (Corona)
22. Ведущая шестерня масляного наоса
23. Ведомая шестерня
24. Крышка
26. Правый валик

Масляный насос и валики виброгасителей (дизель)
3.4.32. Масляный насос и сайлент-валики (виброгасители)

1. Сливная пробка
2, 4, 11. прокладка
3, 6, 7, 9, 16, 17. Болт
5. Поддон
8. Маслоприемник
10. Верхняя передняя крышка
12. Сальник
13. Левый валик
14. Колпачок
15. Кольцо
18. Нижняя крышка в сборе

Нижняя крышка в сборе
1. Болт
2. Крышка шестерни валика
3. Ведомая шестерня
4. Ведущая шестерня
5. Винт
6. Крышка масляного насоса
7, 8. Шестерни масляного насоса
9. Заглушка
10. Прокладка
11. Пружина
12. Клапан
13. Сальник
14. Нижняя крышка
19. Прокладка
20. Передний сальник
21. Ведущий валик масляного насоса
22. Правый валик виброгасителя
23. Масляный фильтр

Предупреждение
Валики – виброгасители на двигателях V6 отсутствуют.

ДВИГАТЕЛИ 2,0 И 2,4 Л

Снятие
ПОРЯДОК ВЫПОЛНЕНИЯ
1. Отсоедините батарею от массы.
2. Снимите зубчатые ремни (см. подраздел 3.4.29).
3. Слейте масло и снимите масляный фильтр.
4. Снимите поддон и маслоприемник.
5. Удалите заглушку и зафиксируйте левый валик, вставив отвертку диаметром 8 мм и длиной не менее 60 мм.
6. Отпустите болт правого валика и снимите натяжитель В. При необходимости снимите звездочку ремня валика.
7. Отверните болты, обратив внимание на их расположение, и снимите передний кожух и прокладку.
8. Удалите отвертку и достаньте валики.

3.4.32. Масляный насос и сайлент-валики (виброгасители)

9. Снимите крышку масляного насоса и достаньте шестерни.
10. Проверьте состояние шестерен и плоскостей насоса, замените изношенные детали.
Прочистите масляные каналы. Тщательно проверьте состояние сальниковых уплотнений в передней крышке, при необходимости замените. Проверьте наличие на валиках выработки и следов прихвата.

Установка
ПОРЯДОК ВЫПОЛНЕНИЯ
1. Проверьте износ плунжера редукционного клапана. Установите в переднюю крышку, совместив метки.
2. Смажьте и установите шестерни насоса на место, совместив метки.
3. Установите крышку насоса и затяните болты с моментом 21 Н.м.

3.4.32. Масляный насос и сайлент-валики (виброгасители)

4. Осторожно установите валики, не повредив подшипники (1– заглушка; 2 – отвертка).
5. Оденьте на коленвал оправку MD 998285-01.
6. Установите новую прокладку, установите переднюю крышку и подтяните болты.
7. Зафиксируйте левый валик отверткой, затяните болт с моментом 35 Н.м.

3.4.32. Масляный насос и сайлент-валики (виброгасители)

8. Установите кронштейн фильтра, затяните болты крышки и кронштейна с моментом 23 Н.м 9 (1 – колпачок).
9. Оденьте на левый вал колпачок.
10. Соберите редукционный клапан, затяните заглушку с моментом 45 Н.м.
11. Установите маслоприемник, поддон и масляный фильтр.
12. Установите звездочки, зубчатые ремни и отрегулируйте их натяжение (см. подраздел 3.4.29).

ДИЗЕЛЬ

Снятие
ПОРЯДОК ВЫПОЛНЕНИЯ
1. Поднимите передок автомобиля и слейте масло.
2. Снимите поддон.
3. Снимите все ремни, верхнюю крышку ремня и установите поршень 1-го цилиндра в ВМТ такта сжатия
4. Снимите звездочки и зубчатый ремень (см. подраздел 3.4.29) и проверьте состояние ремня. При необходимости снимите малый ремень привода валика.
5. Снимите верхнюю переднюю крышку и удалите сальник (подлежит замене).
6. Обозначьте взаимное расположение шестерен насоса.
7. Снимите все детали масляного насоса и проверьте их состояние. Изношенные детали замените.

Установка
Запрессовка переднего сальника
3.4.32. Масляный насос и сайлент-валики (виброгасители)

1. Коленвал
2. Сальник
3. Нижняя крышка
4. Привод масляного насоса
5. Оправка

ПОРЯДОК ВЫПОЛНЕНИЯ
1. Достаньте и проверьте валики.
2. Смажьте и установите валики, затяните болты с моментом 5 Н.м.
3. Смажьте и установите шестерни насоса на место, совместив метки.
4. Установите крышку масляного насоса, затяните болты с моментом 22 Н.м.
5. Оденьте на коленвал оправку MD 998393.
6. Установите новую прокладку, установите переднюю крышку и подтяните болты.
Снимите оправку.
7. Установите нижнюю крышку. Замените сальник.
8. Установите все снятые детали в обратном порядке. Установите звездочки, зубчатые ремни и отрегулируйте их натяжение (см. подраздел 3.4.29).

ДВИГАТЕЛЬ 2,6 Л

Снятие
ПОРЯДОК ВЫПОЛНЕНИЯ
1. Снимите обе цепи и звездочки (см. подраздел 3.4.30).
2. Слейте масло и снимите фильтр.
3. Отсоедините на кронштейне шланги перепускного клапана и маслоохладителя.
4. Отверните болт и гайку и снимите кронштейн и уплотнительные кольца.
5. Снимите поддон и маслоприемник, снимите прокладки.
6. Снимите детали редукционного клапана, отверните болты и снимите корпус масляного насоса.
7. Достаньте шестерни насоса, снимите шпонку с валика виброгасителя.
8. Снимите крышку насоса с прокладкой.
9. При необходимости снимите левый валик. Для этого вверните 2 болта М8 в резьбовые отверстия фланца и заворачивая болты, выпрессуйте упор. При необходимости снимите правый валик.

Установка
ПОРЯДОК ВЫПОЛНЕНИЯ
1. Проверьте состояние разъемных плоскостей крышки насоса и в передней крышке двигателя. Проверьте торцовый зазор шестерен. Если зазор превышает 0,15 мм, то замените шестерни и (или) корпус. Прочистите масляные каналы. Проверьте наличие выработки на валиках.
2. Замените все прокладки и уплотнители.

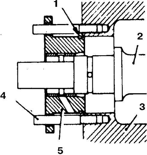
3.4.32. Масляный насос и сайлент-валики (виброгасители)

3. Перед установкой смажьте шейки валиков (1 – место смазки).

3.4.32. Масляный насос и сайлент-валики (виброгасители)

4. Упор валика установите по направляющим  шпилькам М6 длиной 50 мм, после чего удалите  шпильки и затяните болты упора с моментом  11 Н.м. (1– кольцо; 2 – левый валик; 3 – блок  цилиндров; 4 – шпилька М6; 5 – упор).

3.4.32. Масляный насос и сайлент-валики (виброгасители)

5. При сборке насоса совместите метки шестерен и залейте около 10 куб. см. масла.
6. Затяните болты крышки насоса с моментом 11 Н.м., большие болты корпуса насос – 65 Н.м, малые болты и винты –10 Н.м.. заглушку редукционного клапан – 10 Н.м.

ДВИГАТЕЛИ 3,0 И 3,5 Л

Снятие
ПОРЯДОК ВЫПОЛНЕНИЯ
1. Отсоедините батарею от массы.
2. Снимите маслоуказатель.
3. Поднимите передок автомобиля.
4. Снимите зубчатый ремень (см. подраздел 3.4.29).
5. Слейте масло, снимите поддон и маслоприемник.
6. Отверните болты и снимите масляный насос, обратив внимание на расположение болтов.

Установка
ПОРЯДОК ВЫПОЛНЕНИЯ
1. Установка выполняется в обратном порядке
2. Замените прокладки и сальник коленвала.

3.4.32. Масляный насос и сайлент-валики (виброгасители)

3. Перед сборкой заполните насос техническим вазелином, или залейте масло. Затяните болты насоса с моментом 15 Н.м.

« предыдущая страница
3.4.31. Масляный поддон
^
к оглавлению
следующая страница »
3.4.33. Распредвалы и опоры

Copyright © 2026 Все права защищены. Все торговые марки являются собственностью их владельцев.