поиск в избранное карта сайта
  Nissan РЕМОНТ ОБСЛУЖИВАНИЕ ЭКСПЛУАТАЦИЯ АВТОМОБИЛЕЙ
Ниссан Примера. Nissan Primera (с 1990 по 1992 год выпуска)

полные технические характеристики. диагностика. электросхемы
 
Главная
 
Nissan
Primera
1. Введение
2. Текущий уход и обслуживание
3. Двигатель
3.1. Снятие и установка двигателя
3.2. Разборка двигателя
3.3. Сборка двигателя
3.4. Головка цилиндров и привод газораспределительного механизма
3.5. Поршни и шатуны
3.6. Коленвал и подшипники коленвала
3.7. Блок цилиндров
3.8. Проверка компрессии
3.9. Система смазки двигателя - общая информация
3.10. Снятие и установка поддона картера
3.11. Масляный насос
3.12. Проверка давления двигательного масла
4. Системы охлаждения и отопления
5. Системы питания и выпуска отработавших газов
6. Система электрооборудования двигателя
7. Ручная коробка передач, дифференциал и главная передача
8. Автоматическая трансмиссия
9. Сцепление и приводные валы
10. Тормозная система
11. Подвеска и рулевое управление
12. Кузов
13. Бортовое электрооборудование
14. Приложения
 


Volvo P1800 1966 года выпуска - автомобиль с самым большим пробегом. Хозяин купил эту машину в 1966 году в Нью-Йорке у компании Volvoville и с тех пор намотал на ней 2688600 километров.
ремонт стартера
Самую громкую аудиосистему соорудили специалисты компании "Автолюкс" в Nissan Terrano II в 1998 году. Она развивала звуковое давление в 147 дБ.

3.6. Коленвал и подшипники коленвала

Опоры коленвала инжекторного двигателя

1 — регулировочные полукольца
2 — верхние вкладыши коренных подшипников
3 — коленвал
4 — нижние вкладыши коренных подшипников
5 — крышки коренных подшипников

6 — рама крышек коренных подшипников
7 — болты крышек
8 — маслопроводящая пластина
9 — болт, 6.5 - 7.5 Н•м

Опоры коленвала карбюраторного двигателя

1 — верхние вкладыши коренных подшипников
2 — регулировочные полукольца
3 — сегментные шпонки
4 — коленвал
5 — нижние вкладыши коренных подшипников
6 — передняя крышка коренного подшипника
7 — средняя крышка коренного подшипника

8 — задняя крышка коренного подшипника
9 — болт крышки, 47 - 53 Н•м
10 — поддон картера
11 — болт, 6.5 - 8.5 Н•м
12 — маслосливная пробка, 30 - 40 Н•м
13 — прокладка

Опоры коленвала инжекторного и карбюраторного двигателей различны. У карбюраторного двигателя коленвал имеет пять опор. На обоих концах используется двойные крышки подшипников. У инжекторного двигателя используется пять крышек коренных подшипников, однако на крышки установлена рама крышек, чтобы сохранить их положение. На иллюстрациях выше показаны оба исполнения опор коленвала.

Измерение осевого люфта коленвала

Перед снятием коленвала с установленного двигателя следует измерить осевой люфт, чтобы знать, нужно ли при сборке заменять регулировочные полукольца на средней опоре. Действуйте следующим образом:

 ПОРЯДОК ВЫПОЛНЕНИЯ

  1. Установите циферблатный индикатор перед концом маховика как показано на иллюстрации и проверьте, составляет ли осевой люфт менее 0.3 мм. Это максимально допустимый люфт. Сначала циферблатный индикатор следует установить на "0".
Измерение осевого люфта коленвала. Измерения на обоих двигателях проводятся одинаково
  1. Рычагом упираясь в плечо кривошипа (лучше деревянной ручкой инструмента) прижмите вал в сторону, как показано стрелкой на иллюстрации.

Снятие коленвала

Для снятия коленвала двигатель должен быть снят. В Разделе Разборка двигателя описано большинство подготовительных работ, которые подробно описаны в следующих главах:

 ПОРЯДОК ВЫПОЛНЕНИЯ

  1. Снимите головку цилиндров (Раздел Головка цилиндров и привод газораспределительного механизма).
  2. Снимите поддон картера (Глава Системы охлаждения и отопления).
  3. Снимите привод распредвалов (Раздел Головка цилиндров и привод газораспределительного механизма).
  4. Снимите маховик, промежуточную пластину двигателя и фланец сальника с обратной стороны.
  5. Снимите поршни и шатуны.
  6. На инжекторном двигателе, руководствуясь иллюстрацией, ослабьте болты крышек коренных подшипников от края к середине (сначала ослабьте оба болта на стороне маховика) и снимите постель крышек коренных подшипников крышки и вложенные вкладыши. Пометьте каждую крышку и вкладыш (цветной полоской), так чтобы их можно было установить в прежнее положение. Поднимите коленвал и выньте верхние половинки вкладышей коренных подшипников из блока цилиндров. Сложите вкладыши с другими вкладышами и соответствующими крышками. Пометьте оба регулировочных полукольца и снимите со средней опоры.
  7. На карбюраторном двигателе, руководствуясь иллюстрацией ослабьте три крышки подшипников в последовательности, указанной на иллюстрации ниже, за несколько проходов и снимите по порядку крышки. Снимите коленвал, как описано для инжекторного двигателя.
Последовательность ослабления болтов крышек коренных подшипников коленвала на карбюраторном двигателе.

Сальники коленвала

Передний сальник находится в крышке привода распредвалов, задний сальник находится в привинченном к блоку цилиндров фланце. Оба сальника можно заменить на установленном двигателе. В зависимости от исполнения передняя крышка может или остаться установленной, или должна быть снята.

Замена переднего сальника коленвала

 ПОРЯДОК ВЫПОЛНЕНИЯ

  1. На инжекторном двигателе отвинтите нижнюю панель, крышку в правой колесной арке и боковую крышку двигателя и снимите ременный шкив коленвала. Осторожно выдавите сальник отверткой.
  2. На карбюраторном двигателе снимите приводные ремни и все детали, установленные на торцевой стороне двигателя, как описано в Разделе Головка цилиндров и привод газораспределительного механизма, чтобы можно было отвинтить крышку привода распредвалов. Выньте сальник с передней стороны с помощью отвертки. При этом не повредите крышку.
    Для удерживания ременного шкива коленвала включите передачу.
  3. Забейте новый сальник подходящим стержнем (в обоих случаях снаружи). Смажьте рабочую кромку небольшим количеством смазки. В зависимости от двигателя установите или крышку, или снятые детали. В зависимости от установленных агрегатов после сборки отрегулируйте приводные ремни.

Замена заднего сальника коленвала

 ПОРЯДОК ВЫПОЛНЕНИЯ

  1. Снимите коробку передач, маховик и сцепление (или в варианте с автоматической коробкой передач приводной диск).
  2. Ослабьте болты уплотнительного фланца и снимите крышку. Осторожно очистите уплотнительные поверхности от остатков герметика с помощью шабера. При наличии небольшой сноровки сальник можно вынуть из установленной крышки.
  3. Выбейте сальник с внутренней стороны наружу, не повредив при этом корпус. Для этого используйте надежную острую оправку.
    Установка осуществляется следующим образом:
  4. Осторожно забейте новый сальник молотком, чтобы установить его по центру. При этом не повредите рабочую кромку. Внешняя поверхность сальника должна быть вровень с корпусом.
  5. Покройте корпус сальника герметиком и снова установите крышку.
  6. Все остальные работы выполните в обратной снятию последовательности.

Проверка деталей коленвала

 ПОРЯДОК ВЫПОЛНЕНИЯ

  1. Тщательно проверьте коленвал на наличие повреждений и точно измерьте коренные и шатунные подшипники. Шейки коренных и шатунных подшипников могут быть отшлифованы, чтобы можно было установите вал с вкладышами подшипников ремонтного размера.
  2. Зажмите коленвал между центрами токарного станка или положите наружные цапфы в призмы (см. иллюстрацию ниже) и проверьте биение на средней шейке с помощью циферблатного индикатора. Биение не должно превышать 0.04 мм. Следует помнить, что отражаемое на индикаторе биение при одном обороте коленвала следует разделить на 2, чтобы получить действительный изгиб. Если биение больше, вал следует заменить.
Осторожно с помощью отвертки вынуть сальник из крышки привода распредвалов.
При забивании переднего сальника стержень должен устанавливаться на всю внешнюю поверхность.
Проверка биения коленвала. Установить циферблатный индикатор на среднюю шейку коренного подшипника и медленно вращать коленвал, установленный в призмы.

Измерение зазора коренных и шатунных подшипников

Обычно зазор подшипников измеряется с помощью полимерного волоска "Plastigage", однако на этих двигателях рекомендуется точное измерение диаметра шейки подшипника и внутреннего диаметра вкладышей. При определении зазора подшипников действуйте следующим образом, при условии, что имеются наружный и внутренний микрометры:

 ПОРЯДОК ВЫПОЛНЕНИЯ

  1. Хорошо очистите вкладыши подшипников и вложите в отверстия подшипников блока цилиндров (в соответствии с обозначениями подшипников). Вложите нижние вкладыши в крышки коренных подшипников и установите крышки на картер. На инжекторном двигателе привинтите раму крышек.
  2. Затяните все болты крышек коренных подшипников, начиная с внутренней стороны наружу, с соответствующим Спецификациям моментом затяжки (см. иллюстрацию для карбюраторного, иллюстрация для инжекторного).
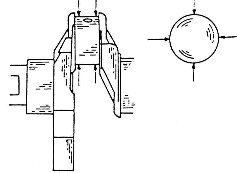
  3. При помощи внутреннего индикатора измерьте внутренний диаметр отдельных подшипников, как показано на иллюстрации. При этом измерительные щупы сначала установите как показано на иллюстрации, затем под прямым углом к этому. Запишите полученные значения для каждого подшипника и каждого направления измерения. Разность между измерениями "А" и "В" дает овальность отверстий.
Измерение внутреннего диаметра вкладышей подшипников при установленных крышках. Измерения производить в направлениях "А" и "В". Также на обеих внешних кромках подшипника.
  1. Руководствуясь иллюстрацией ниже, измерьте диаметр каждой шейки подшипника. При этом производите измерения в направлениях "А" и "В", а также в местах "1" и "2". Разница между измерениями "А" и "В" отражает овальность шейки; разница между измерениями "1"и "2" отражает сужение шейки. Запишите размеры для каждой шейки и каждого места измерения.
Измерение шеек подшипников коленвала. Измерить диаметр в местах "1" и "2", а также в направлениях "А" и "В".
  1. Вычислите разность между значениями "А-В" и "1-2". Если овальность или сужение лежит вне допустимых пределов, шейки должны быть отшлифованы. Если значения соответствуют требуемым, вычтите внешний диаметр шейки коренного подшипника от внутреннего диаметра того же подшипника. Результат даст зазор, значение которого указано в Спецификациях.
  2. Вычислите все зазоры вышеописанным способом. Если зазоры какого-либо подшипника достигли граничного значения, коленвал следует прошлифовать, чтобы установить вкладыши подшипников ремонтного размера.
  3. Те же измерения провести на шейках шатунных подшипников и подшипниках. Затяните гайки шатунных подшипников с соответствующим Спецификациям моментом затяжки (для этого шатун зажмите в тисках и измерьте шейки подшипников), а также внутренний диаметр вкладышей согласно двум иллюстрациям ниже.
Измерение шеек шатунных подшипников. Измерение производить на местах, обозначенных стрелками.
Измерение внутреннего диаметра вкладышей шатуна. Измерения производить на местах, обозначенных стрелками.
  1. Вычислите зазоры подшипников вышеописанным способом и, исходя из результатов, определите состояние шеек. Если люфт шейки превысил граничное значение, коленвал следует прошлифовать. Правильный выбор вкладышей подшипников — это довольно трудная работа и рекомендуется при обращении к вашему поставщику запчастей руководствоваться нижеследующими указаниями, чтобы правильно подобрать вкладыши коренных и шатунных подшипников.
  2. В блоке цилиндров на обозначенном на иллюстрации месте выбиты числа, которые указывают на класс подшипников коленвала. На противовесе коленвала выбиты такие же числа. Если посмотреть на коленвал спереди класс размера первого подшипника приводится слева, если речь идет об инжекторном двигателе. Используются цифры от 0 до 4.

Блок цилиндров в указанном месте имеет обозначения размеров шеек коренных подшипников

1 — число класса
2 — блок цилиндров
  1. У карбюраторного двигателя наоборот, т.е. глядя спереди, выбитое слева число относится к подшипнику № 5. В этом двигателе используются только цифры от 0 до 2. Чтобы правильно заказать вкладыши, которые имеют цветовые обозначения, следует скопировать цифры в блоке цилиндров и цифры на коленвале и предоставить их вашему поставщику. Благодаря этому продавец может подобрать требуемые Вам детали. Если вал шлифовался Вы автоматически получаете требуемые вкладыши.
  2. Похожее деление по размерам происходит и для вкладышей шатунных подшипников которые идентифицируются на основании четырех цифр.

Установка коленвала

Руководствуясь различными монтажными схемами:

 ПОРЯДОК ВЫПОЛНЕНИЯ

  1. Установите двигатель так, чтобы сторона картера коленвала была сверху. Вставьте в отверстия верхние половинки вкладышей подшипников коленвала. Вкладыши с масляными отверстиями устанавливаются в блок. Слева и справа от подшипника № 3 установите оба регулировочных полукольца. Если устанавливаются новые вкладыши подшипников они, согласно цветовому обозначению, должны быть установлены в соответствующие отверстия. Направляющие выступы вкладышей должны войти в соответствующие отверстия. Хорошо смажьте опорные поверхности.
  2. Осторожно опустите коленвал в опоры.
  3. Хорошо смажьте и установите вкладыши подшипников на шейки с учетом вышеизложенных указаний.
  4. Установите крышки на подшипники.

Крышки подшипников коленвала карбюраторного двигателя. Нижние цифры указывают, куда устанавливаются крышки. Большая стрелка обращена вперед

1 — крышка подшипников
2 — выбитая стрелка

При этом учтите следующее:

Последовательность затяжки крышек коренных подшипников инжекторного двигателя. Стрелка указывает вперед.
    • Для карбюраторного двигателя руководствуйтесь иллюстрацией и установите соответственно крышки. Все крышки имеют стрелку, которая после установки должна быть обращена вперед. Вставьте болты крышек и, как показано на иллюстрации, за два или три прохода затяните с усилием 47 - 53 Н•м. Несколько раз подвигайте коленвал из стороны в сторону перед затяжкой болтов, чтобы вал сел во вкладышах.
    • На инжекторном двигателе установите крышки подшипников согласно обозначениям и установите сверху раму крышек. Затяните болты в указанной на иллюстрации последовательности за два или три прохода с усилием 33 - 39 Н•м. Затем затяните их в такой же последовательности с окончательным усилием 75 - 85 Н•м.
  1. Проверьте осевой люфт с помощью циферблатного индикатора как описано в подразделе Измерение осевого люфта коленвала. Если осевой люфт не соответствует требуемому значению, значит, при ремонте измерения были проведены не достаточно точно.
  2. Привинтите корпус сальника с обратной стороны. Покройте уплотнительную поверхность герметиком.
  3. Установите поршни (Раздел Поршни и шатуны).
  4. Привинтите заднюю промежуточную пластину двигателя.
  5. Установите маховик или приводной диск преобразователя крутящего момента и затяните болты с соответствующим Спецификациям усилием. Маховик или диск должны удерживаться от проворачивания, что лучше всего сделать, если вставить между коленвалом и маховиком деревянную колодку. Используйте только болты с хорошей резьбой, слегка смажьте резьбу маслом.
  6. Дальнейшая сборка осуществляется в уже описанной последовательности т.е. устанавливаются головка цилиндров, привод распределительного механизма, поддон картера и т.д. согласно указаниям в отдельных разделах. Установка поддона картера рассматривается в Главе Сборка двигателя.

« предыдущая страница
3.5. Поршни и шатуны
^
к оглавлению
следующая страница »
3.7. Блок цилиндров

Copyright © 2026 Все права защищены. Все торговые марки являются собственностью их владельцев.