поиск в избранное карта сайта
  Opel РЕМОНТ ОБСЛУЖИВАНИЕ ЭКСПЛУАТАЦИЯ АВТОМОБИЛЕЙ
Опель Корса Б, Комбо, Тигра. Opel Corsa B / Combo / Tigra (с 1993 по 2000 год выпуска)

полные технические характеристики. диагностика. электросхемы
 
Главная
 
Opel
Corsa B / Combo / Tigra
1. Инструкция
2. Органы управления и приемы эксплуатации
3. Настройки и текущее обслуживание автомобиля
4. Двигатели
5. Системы охлаждения двигателя, отопления салона и кондиционирования воздуха
6. Системы питания, выпуска и снижения токсичности отработавших газов
7. Системы электрооборудования двигателя
8. Ручная 5-ступенчатая коробка переключения передач
9. Автоматическая 4-ступенчатая трансмиссия
10. Сцепление и приводные валы
11. Тормозная система
12. Подвеска и рулевое управление
13. Кузов
13.1. Общая информация и меры предосторожности
13.2. Уход за компонентами кузова и днища автомобиля
13.3. Уход за виниловыми элементами отделки
13.4. Уход за обивкой и ковровыми покрытиями салона
13.5. Ремонт незначительных повреждений кузовных панелей
13.6. Ремонт серьезно поврежденных кузовных панелей
13.7. Обслуживание петель и замков автомобиля
13.8. Замена ветрового и прочих фиксированных стекол
13.9. Снятие и установка накладки и несущей балки бамперов
13.10. Снятие и установка декоративной решетки радиатора (модели с 03.1997 г. вып.)
13.11. Снятие и установка локера колесной арки
13.12. Снятие и установка панели обтекателя ветрового стекла
13.13. Снятие и установка капота
13.14. Замена петель капота
13.15. Снятие и установка переднего крыла
13.16. Замена накладки задней колесной арки (модели Corsa и Combo)
13.17. Снятие и установка облицовки дверей
13.18. Снятие и установка стекла передней двери
13.19. Снятие и установка стекла задней двери (модель Corsa)
13.20. Снятие и установка стеклоподъемника
13.21. Снятие и установка наружной ручки двери
13.22. Снятие и установка цилиндра замка передней двери
13.23. Снятие и установка замка двери
13.24. Защита от замерзания замков и уплотнений
13.25. Снятие и установка наружного зеркала и электромотора его привода
13.26. Снятие и установка корпуса наружного зеркала
13.27. Снятие, установка и регулировка двери
13.28. Снятие и установка двери задка (модели Corsa и Tigra)
13.29. Снятие и установка замка двери задка (модели Corsa и Tigra)
13.30. Снятие, установка, разборка и сборка наружной ручки и цилиндра замка двери задка (модель Corsa)
13.31. Натяжитель ремня безопасности
13.32. Меры безопасности при обращении с аварийным преднатяжителем ремня безопасности и боковой подушкой безопасности
13.33. Снятие и установка переднего сиденья
13.34. Снятие и установка заднего сиденья
13.35. Снятие и установка центральной консоли
13.36. Снятие и установка боковой облицовки ножного колодца переднего пассажира
13.37. Снятие и установка вещевого ящика
13.38. Снятие и установка внутреннего зеркала и установка пластины его крепления
13.39. Снятие и установка панели приборов
13.40. Сдвижная панель крыши
14. Бортовое электрооборудование
 


13. Кузов

Спецификации

Массогабаритные характеристики

Все цифры указаны приблизительно и могут изменяться в зависимости от модели. Для уточнения обратитесь к данным изготовителя.

Размеры и массы

См. Спецификации к Главе Органы управления и приемы эксплуатации.

Контрольные кузовные размеры

Модель Combo. Днище

Модель Combo. Кузов

3-дверная модель Corsa с двигателем 1.2 л. Днище

3-дверная модель Corsa. Кузов

3-дверная модель Corsa с двигателем 1.4 л. Днище

3-дверная модель Corsa с дизельным двигателем. Днище

5-дверная модель Corsa с двигателями 1.2 и 1.4 л. Днище

5-дверная модель Corsa с двигателями 1.2 и 1.4 л. Кузов

5-дверная модель Corsa с дизельным двигателем. Днище

5-дверная модель Corsa с дизельным двигателем. Кузов

Модель Tigra. Днище

Модель Tigra. Кузов

Установочные размеры тягово-прицепного устройства

Выполнение монтажа тягово-сцепного устройства рекомендуется поручить специалистам автосервиса.

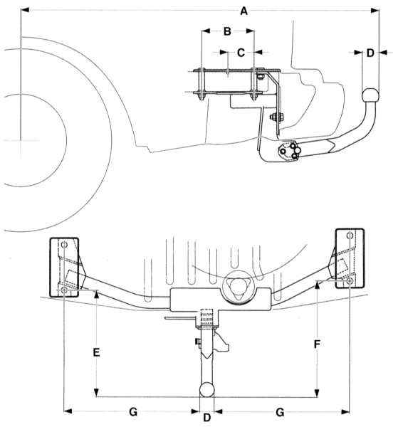
Схема установки тягово-сцепного устройства на моделях Corsa

A — 650 мм
B — 485 ± 5 мм
C — 161 ± 0.3 мм
D — 114 – 113,5 мм
E — 50 мм
F — 448 ± 0.3 мм
G — 485 ± 0.3 мм

Схема установки тягово-сцепного устройства на моделях Combo

A — 1064 мм
B — 160 ± 0.3 мм
C — 80 мм
D — 50 мм
E — 382 - 387 мм
F — 402 мм
G — 475 мм

Усилия затягивания резьбовых соединений, Нм
Болт крепления заднего ремня безопасности
35
Болты крепления дери задка
20
Болты крепления переднего сиденья
20
Болты крепления заднего сиденья (модель Corsa) к средней опоре
20
к кожуху колесной арки
30
Затяните болты спинки заднего сиденья (модель Tigra)
30


« предыдущая страница
12.4.6. Углы установки колес
^
к оглавлению
следующая страница »
13.1. Общая информация и меры предосторожности

Copyright © 2026 Все права защищены. Все торговые марки являются собственностью их владельцев.