поиск в избранное карта сайта
  Subaru РЕМОНТ ОБСЛУЖИВАНИЕ ЭКСПЛУАТАЦИЯ АВТОМОБИЛЕЙ
Субару Легаси, Аутбэк. Subaru Legacy / Outback (с 1999 по 2003 год выпуска)

полные технические характеристики. диагностика. электросхемы
 
Главная
 
Subaru
Legacy / Outback (1999)
1. Введение
2. Руководство по эксплуатации
3. Текущее обслуживание
4. Двигатель
5. Системы охлаждения, отопления
6. Системы питания и выпуска
7. Электрооборудование двигателя
8. Ручная коробка и дифференциал
9. Автоматическая трансмиссия
10. Сцепление
11. Тормозная система
12. Подвеска и рулевое управление
12.1. Спецификации
12.2. Передняя подвеска
12.2.1. Снятие, обслуживание и установка поперечных рычагов передней подвески
12.2.2. Снятие, проверка состояния и установка шаровых опор
12.2.3. Снятие, обслуживание и установка передних стоек
12.2.4. Снятие, проверка состояния компонентов и установка переднего стабилизатора поперечной устойчивости
12.2.5. Снятие и установка поперечной балки передней подвески
12.3. Задняя подвеска
12.4. Рулевое управление
12.5. Колесные сборки, геометрия подвески
13. Кузов
14. Бортовое электрооборудование
 


12.2. Передняя подвеска

Снятие, обслуживание и установка поперечных рычагов передней подвески

СНЯТИЕ

 ПОРЯДОК ВЫПОЛНЕНИЯ

1. Загоните автомобиль на подъемник.
2. Отсоедините отрицательный провод от батареи.
3. Поднимите автомобиль и снимите передние колеса.

4. Отсоедините от переднего рычага стойку стабилизатора поперечной устойчивости.

5. Выверните стяжной болт крепления шаровой опоры поперечного рычага в поворотном кулаке.
6. Отдайте гайку осевого болта крепления поперечного рычага к балке подвески (болт пока не извлекайте).

7. Выверните два болта крепежного хомута задней осевой втулки поперечного рычага.

8. Высвободите шаровую опору из поворотного кулака.

9. Извлеките осевой болт крепления поперечного рычага к балке подвески.

10. Снимите поперечный рычаг.
11. Оцените состояние резинометаллических втулок, заднюю втулку изучите на наличие признаков развития утечек. Проверьте рычаг на наличие трещин, деформаций и прочих механических повреждений. В случае необходимости замените вышедшие из строя компоненты (см. ниже).

РАЗБОРКА

 ПОРЯДОК ВЫПОЛНЕНИЯ

1. При помощи съемника ST 927680000 выпрессуйте переднюю осевую втулку поперечного рычага.

2. Пометьте посадочное положение на рычаге задней осевой втулки, отпустите крепежную гайку и снимите втулку.

  Самоконтрящиеся гайки при отпускании подлежит замене в обязательном порядке!

СБОРКА

 ПОРЯДОК ВЫПОЛНЕНИЯ

1. Установка передней осевой втулки производится в порядке, обратном порядку ее снятия, - проследите за правильностью посадки втулки в рычаге.

1 — Развернуть втулку к центру шаровой опоры
2 — Шаровая опора

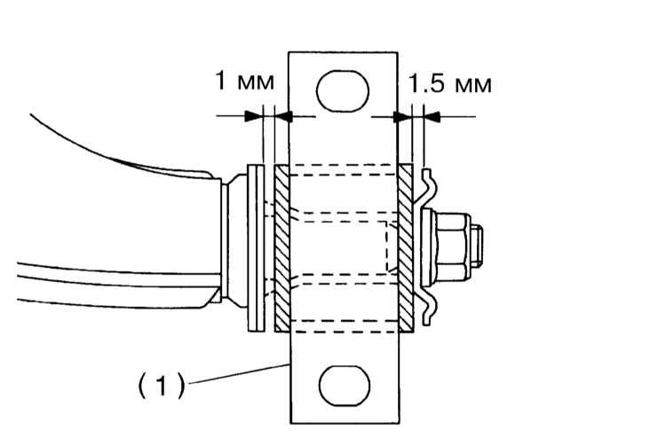
2. При посадке задней осевой втулки проследите за правильностью совмещения нанесенных в процессе демонтажа посадочных меток. Посадив втулку на рычаг, затяните НОВУЮ самоконтрящуюся гайку с требуемым усилием (186 Нм), - примите меры против смещения втулки.

УСТАНОВКА

 ПОРЯДОК ВЫПОЛНЕНИЯ

1. Заведите рычаг на свое штатное место и временно вверните два болта хомута крепления задней осевой втулки к днищу автомобиля.

 Болты следует затянуть таким образом, чтобы оставалась возможность изменения их положения в вытянутых посадочных отверстиях.

2. Установите осевой болт крепления рычага к поперечной балке и временно затяните его гайку.

  Самоконтрящиеся гайки при отпускании подлежит замене в обязательном порядке!


3. Заправьте шаровую опору в сборку поворотного кулака и подсоедините к рычагу стойку стабилизатора поперечной устойчивости, временно затянув крепеж.

  Самоконтрящиеся гайки при отпускании подлежит замене в обязательном порядке!


4. Опустите автомобиль на землю и затяните крепежные элементы рычага с требуемым усилием в следующем порядке:

1) Гайка болта крепления к рычагу стойки стабилизатора поперечной устойчивости (30 Нм);
2) Гайка осевого болта крепления переднего конца рычага к поперечной балке подвески (125 Нм);
3) Болты хомута крепления задней осевой втулки (245 Нм).

 Перед затягиванием болтов крепления задней осевой втулки отрегулируйте посадочный зазор последней.


« предыдущая страница
12.1. Спецификации
^
к оглавлению
следующая страница »
12.2.1. Снятие, обслуживание и установка поперечных рычагов передней подвески

Copyright © 2026 Все права защищены. Все торговые марки являются собственностью их владельцев.