поиск в избранное карта сайта
  Subaru РЕМОНТ ОБСЛУЖИВАНИЕ ЭКСПЛУАТАЦИЯ АВТОМОБИЛЕЙ
Субару Легаси, Аутбэк. Subaru Legacy / Outback (с 1999 по 2003 год выпуска)

полные технические характеристики. диагностика. электросхемы
 
Главная
 
Subaru
Legacy / Outback (1999)
1. Введение
2. Руководство по эксплуатации
3. Текущее обслуживание
4. Двигатель
5. Системы охлаждения, отопления
5.1. Спецификации
5.2. Система охлаждения двигателя
5.2.1. Антифриз - общие сведения
5.2.2. Отсоединение и замена шлангов системы охлаждения
5.2.3. Обслуживание системы охлаждения (опорожнение, промывка и заправка)
5.2.4. Детали установки и принцип функционирования вентиляторов системы охлаждения
5.2.5. Водяной насос - общая информация
5.2.6. Проверка исправности функционирования и замена термостата
5.2.7. Проверка исправности функционирования, снятие, обслуживание и установка вентиляторов системы охлаждения
5.2.8. Обслуживание, снятие и установка радиатора системы охлаждения
5.2.9. Проверка состояния крышки радиатора
5.2.10. Снятие и установка расширительного бачка
5.2.11. Снятие, проверка и установка водяного насоса
5.3. Системы отопления / вентиляции / кондиционирования воздуха
6. Системы питания и выпуска
7. Электрооборудование двигателя
8. Ручная коробка и дифференциал
9. Автоматическая трансмиссия
10. Сцепление
11. Тормозная система
12. Подвеска и рулевое управление
13. Кузов
14. Бортовое электрооборудование
 


5.2.6. Проверка исправности функционирования и замена термостата

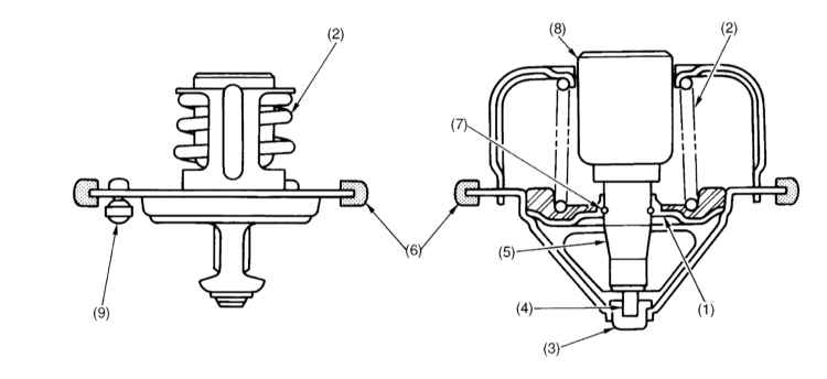
Конструкция термостата

1 — Клапан
2 — Пружина
3 — Упор
4 — Поршень
5 — Направляющая

6 — Резиновая обойма
7 — Стопорное кольцо
8 — Воскозаполненный элемент
9 — Клапан прокачки


Основу конструкции термостата составляет заполненный восковыми гранулами герметичный термочувствительный элемент, объем которого из меняется с изменением температуры. Открывание и закрывание рабочего клапана термостата происходит строго при определенных значениях температуры.

ПРОВЕРКА

 ПОРЯДОК ВЫПОЛНЕНИЯ

1. Прежде чем окончательно утвердиться во мнении о выходе термостата из строя, проверьте уровень жидкости в системе охлаждения, состояние и усилие натяжения приводного ремня (см. Главу Текущее обслуживание), а также исправность функционирования измерителя/контрольной лампы температуры.
2. Одной из возможных причин недостаточно быстрого разогрева двигателя (согласно показаниям измерителя) является заклинивание термостата в открытом положении. Замените термостат новым (см. ниже).
3. В случае перегрева двигателя потрогайте рукой нижний шланг радиатора. Если шланг не нагрет, возможно, термостат заклинен в закрытом положении и перекрывает циркуляцию охлаждающей жидкости через радиатор. Замените термостат.

  Ни в коем случае не эксплуатируйте автомобиль со снятым термостатом, - при этом может разорваться обратная связь бортового процессора, что приведет к повышению токсичности отработавших газов и чрезмерному увеличению расхода топлива!

4. Если нижний шланг нагрет, это означает, что охлаждающая жидкость исправно циркулирует через радиатор, т.е. термостат открыт, - обратитесь к материалам Раздела, посвященного диагностике неисправностей системы охлаждения (см. Введение в начале настоящего Руководства).
5. Наиболее точные результаты дает проверка термостата на верстаке.
6. Снимите термостат с двигателя (см. ниже).

7. Подвяжите к сборке термостата отрезок проволоки и опустите ее в заполненную водой емкость, туда же опустите термометр.

  Проследите, чтобы термометр и термостат не соприкасались со стенками и дном емкости.



1 — Термометр
2 — Термостат

8. Начинайте медленно подогревать воду, следя за изменением показаний термометра, - срабатывание клапана термостата должно происходить в точном соответствии с требованиями Спецификаций.

9. Оцените величину полного открывания клапана, - номинальное значение составляет 8 мм .

ЗАМЕНА

 ПОРЯДОК ВЫПОЛНЕНИЯ

1. Отсоедините отрицательный провод от батареи.
2. Снимите защиту картера.
3. Опорожните систему охлаждения (см. Главу Текущее обслуживание).
4. Отсоедините от крышки термостата радиаторный шланг.

5. Снимите крышку термостата и уплотнительную прокладку, извлеките термостат из кожуха, - постарайтесь запомнить его установочное положение. Тщательно зачистите уплотнительные поверхности крышки и кожуха термостата скребком, затем протрите их смоченной в растворителе ветошью.

6. Установка производится в обратном порядке. Не забудьте заменить уплотнительную прокладку, проследите, чтобы термостат устанавливался клапаном прокачки вперед. Усилие затягивания болтов крепления крышки составляет 6.4 Нм.

7. В заключение заправьте систему охлаждения (см. Главу Текущее обслуживание), запустите двигатель и проверьте его на наличие признаков развития утечек. Удостоверьтесь в исправности функционирования термостата.


« предыдущая страница
5.2.5. Водяной насос - общая информация
^
к оглавлению
следующая страница »
5.2.7. Проверка исправности функционирования, снятие, обслуживание и установка вентиляторов системы охлаждения

Copyright © 2026 Все права защищены. Все торговые марки являются собственностью их владельцев.