поиск в избранное карта сайта
  Subaru РЕМОНТ ОБСЛУЖИВАНИЕ ЭКСПЛУАТАЦИЯ АВТОМОБИЛЕЙ
Субару Легаси, Аутбэк. Subaru Legacy / Outback (с 1999 по 2003 год выпуска)

полные технические характеристики. диагностика. электросхемы
 
Главная
 
Subaru
Legacy / Outback (1999)
1. Введение
2. Руководство по эксплуатации
3. Текущее обслуживание
4. Двигатель
5. Системы охлаждения, отопления
5.1. Спецификации
5.2. Система охлаждения двигателя
5.3. Системы отопления / вентиляции / кондиционирования воздуха
5.3.1. Снятие и установка дефлекторов и воздуховодов
5.3.2. Снятие и установка резистивной сборки приводного электромотора вентилятора отопителя
5.3.3. Снятие, проверка и установка приводного электромотора вентилятора отопителя
5.3.4. Снятие и установка панели управления функционированием систем отопления / вентиляции / кондиционирования воздуха
5.3.5. Снятие и установка сборки отопителя
5.3.6. Снятие и установка теплообменника отопителя
5.3.7. Проверка исправности функционирования и обслуживание систем отопления и кондиционирования воздуха
5.3.8. Компрессор К/В - конструкция и принцип функционирования
5.3.9. Конденсатор К/В - конструкция и принцип функционирования
5.3.10. Ресивер-осушитель К/В - конструкция и принцип функционирования
5.3.11. Датчик-выключатель давления К/В - конструкция и принцип функционирования
5.3.12. Испаритель К/В - конструкция и принцип функционирования
5.3.13. Расширительный клапан К/В - конструкция и принцип функционирования
5.3.14. Проверка состояния, снятие и установка компрессора системы К/В
5.3.15. Снятие и установка конденсатора системы К/В
5.3.16. Снятие и установка ресивера-осушителя системы К/В
5.3.17. Снятие и установка впускного блока системы К/В, замена испарителя
5.3.18. Замена соединительных шлангов рефрижераторного тракта
5.3.19. Проверка исправности функционирования датчика-выключателя давления
5.3.20. Снятие и установка информационных датчиков системы автоматической системы кондиционирования (климат-контроль)
6. Системы питания и выпуска
7. Электрооборудование двигателя
8. Ручная коробка и дифференциал
9. Автоматическая трансмиссия
10. Сцепление
11. Тормозная система
12. Подвеска и рулевое управление
13. Кузов
14. Бортовое электрооборудование
 


5.3.8. Компрессор К/В - конструкция и принцип функционирования

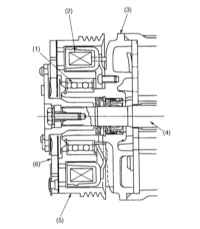
Конструкция компрессора К/В

1 — Передняя головка
2 — Боковой блок
3 — Задняя головка
4 — Контрольный клапан
5 — Задний подшипник
6 — Шиберная лопатка
7 — Ротор

8 — Роликовый клапан
9 — Цилиндр
10 — Передний подшипник
11 — Сальник вала
12 — Магнитная муфта сцепления
13 — Триггерный клапан


Схема функционирования компрессора в фазе всасывания

1 — Ротор
2 — Хладагент
3 — Контрольный клапан
4 — Задняя головка

5 — Низконапорная камера
6 — Задний боковой блок
7 — Шиберная лопатка
8 — Вал ротора

Схема функционирования компрессора в фазе выпуска

1 — Передняя головка
2 — Хладагент (выталкиваемый)
3 — Сжатый хладагент
4 — Роликовый клапан

5 — Передний боковой блок
6 — Трубка
7 — Высоконапорная камера


Схема функционирования компрессора в фазе сжатия

1 — Вал ротора

2 — Хладагент


Конструкция триггерного клапана компрессорной сборки

1 — К-образная полость
2 — Контрольный шарик

3 — Передняя головка
4 — Пружина


Функционирование триггерного клапана при малых нагрузках и в момент запуска компрессора

1 — Высоконапорная камера
2 — Триггерный клапан (открыт)

3 — Шиберная лопатка
4 — Ротор


Функционирование триггерного клапана в нормальном рабочем режиме компрессора

1 — Высоконапорная камера
2 — Триггерный клапан (закрыт)

3 — Шиберная лопатка
4 — Ротор

Принцип функционирования контрольного клапана компрессора

1 — Впускной порт
2 — Сферическая шайба
3 — Пружина

4 — Контрольный клапан
5 — Хладагент


Принцип функционирования системы смазки компрессора

1 — Передний подшипник
2 — Шиберная лопатка
3 — Задний подшипник
4 — Низконапорная камера

5 — Ротор
6 — Масляный порт
7 — Высоконапорная камера
8 — Сальник вала

Принцип функционирования магнитной муфты сцепления компрессора К/В

1 — Подшипник
2 — Обмотка магнитной муфты
3 — Компрессор

4 — Вал ротора
5 — Приводной шкив
6 — Приводная пластина

Общая информация

На всех моделях устанавливается компрессор шиберного типа.

Оборудованный пятью подвижными в радиальном направлении шиберными лопатками ротор компрессора вращается в эллиптическом цилиндре. В ходе вращения ротора происходит сокращение заключенного между двумя соседними шиберными лопатками рабочего объема, приводящее к сжатию заключенного в цилиндре газообразного хладагента. В данном случае компрессор функционирует как насос с 10-кратным на один оборот ротора трехфазным (всасывание, сжатие и выталкивание) рабочим циклом.

С выпускной стороны цилиндра установлен дозирующий роликовый клапан, обеспечивающий выпускание сжимаемого хладагента при превышении давлением сжатия некоторого определенного значения. Герметичность (по воздуху) посадки вала ротора в передней головке компрессорной сборки обеспечивается посредством сальника. Встроенный в боковой блок триггерный клапан обеспечивает создание противодавления на шиберных лопатках ротора.

Сборка заправлена необходимым количеством компрессорного масла, распределяемого между внутренними компонентами и обеспечивающего их смазку. Герметичность по маслу обеспечивается за счет разрядного давления выталкиваемого хладагента.

Принцип функционирования


Всасывание

Находящийся под низким давлением газообразный хладагент высасывается из испарителя за счет создаваемого при вращении ротора компрессора разрежения и через контрольный клапан втягивается в низконапорную камеру в задней головке компрессорной сборки. Далее, за счет вращения шиберного ротора, хладагент через два впускных порта в заднем боковом блоке всасывается в рабочий цилиндр. Герметичность камер цилиндра (по воздуху) обеспечивается за счет циркуляции компрессорного масла.

Сжатие


При дальнейшем вращении ротора образованный шиберными лопатками объем клапанной камеры с заключенным в нем газообразным хладагентом начинает сжиматься, обеспечивая повышение давления рабочего тела.

Выталкивание


На последнем (третьем) этапе цикла помпажа, когда давление сжимаемого хладагента достигает некоторого оговоренного значения, роликовый клапан открывается и хладагент по предусмотренному в переднем боковом блоке цилиндрическому каналу выпускается в высоконапорную камеру передней головки, где посредством специального отражателя отделяется от масла и подается на выход компрессорной сборки.

Триггерный клапан


Триггерный клапан служит для поддержания требуемого уровня противодавления в замкнутом между шиберными лопатками объеме с целью обеспечения подвижности последних при запуске компрессора. Клапан оборудован контрольным шариком и пружиной, встроен в передний боковой блок сборки и своим концом открыт в К-образную полость с роторной стороны бокового блока.

При незначительной разнице между давлениями в низконапорной и высоконапорной частях сборки шиберные лопатки имеют чрезмерно свободную посадку в направляющих пазах ротора. Подобная ситуация является вполне типичной при малых нагрузках, а также на начальном этапе вращения компрессора и чревата возникновением вибраций за счет нарушения плавности хода болтающихся лопаток. Подпираемый пружиной контрольный шарик триггерного клапана поднимается над седлом и обеспечивает создание на лопатках поджимающего противодавления, что гарантирует плавность функционирования сборки при низкой нагрузке и в момент запуска компрессора.

В нормальном рабочем режиме, когда разница между давлениями в высоконапорной и низконапорной частях сборки существенна, контрольный шарик, преодолевая сопротивление пружины прижимается к седлу клапана и перекрывает соединительный канал. При этом давление масляного порта через боковой блок прикладывается к торцу лопатки, обеспечивая ее поджим.

Контрольный клапан


Контрольный клапан состоит из сферической шайбы и пружины и установлен во впускном порту задней головки. Непосредственно после остановки компрессора разница между давлениями в высоконапорной и низконапорной частях сборки весьма существенна, что при отсутствии контрольного клапана приводило бы к обратному вращению ротора и выталкиванию хладагента в испаритель. Как только компрессор останавливается, находящийся под высоким давлением хладагент отжимает сферическую шайбу клапана вверх, перекрывая тем самым впускной порт и предотвращая создание потока рабочего тела из высоконапорной части тракта в низконапорную.

Смазка

Смазочное компрессорное масло скапливается в нижней части высоконапорной камеры, откуда под давлением хладагента выталкивается вверх через масляные каналы в передний боковой блок и обеспечивает смазку переднего торца ротора. Кроме того, часть масла по отдельным каналам в нижней части рабочего цилиндра вытесняется вниз и подается к заднему торцу ротора. Под воздействием внутреннего давления в компрессоре смазывающее с обеих сторон ротор масло поступает в низконапорную камеру сборки. Содержащееся в выходящем из испарителя газообразном хладагенте масло прогоняется через низконапорную камеру, обеспечивая смазку заднего подшипника, а также, по специальному каналу в теле вала подается во впускной порт цилиндра, по дороге смазывая передний подшипник и сальник. Так как давление во впускном порте цилиндра слегка ниже, чем в низконапорной камере, масло, смазывающее все компоненты компрессорной сборки, всасывается в порт и с потоком хладагента перегоняется обратно в высоконапорную камеру.

Магнитная муфта сцепления компрессора

Магнитная муфта закреплена на вале ротора компрессорной сборки и служит для передачи крутящего момента от двигателя к компрессору К/В. При прохождении тока через обмотку муфты приводная пластина притягивается, консолидируя шкив и вал ротора в единый модуль. При выключенном компрессоре шкив продолжает вращаться свободно, не приводя ротор в движение.

На оборудованных 6-цровысми двигателями моделях 3.0 л дополнительно предусмотрен датчик блокировки компрессора. При остановке компрессора в результате отказа датчик обеспечивает отпускание магнитной муфты с целью поддержания нормального функционирования приводимого тем же, что и компрессор ремнем рулевого насоса.

Система задержки активации компрессора

Активация вентилятора отопителя при включенном К/В приводит к передаче на ECM специального сигнала. Получив сигнал, модуль управления определяет, запущен ли двигатель и при в случае положительного ответа активирует реле системы кондиционирования. Максимальное время задержки активации сцепления компрессора после срабатывания реле составляет 0.8 секунды. Функциональная схема описанного процесса представлена на иллюстрации.

 


Система управления функционированием компрессора

Как уже описывалось выше, активация К/В с вентилятором отопителя приводит к срабатыванию реле системы кондиционирования. После активации компрессора включаются также главный и вспомогательный вентиляторы системы охлаждения.

Специальный термоуправляющий усилитель при своей активации производит отключение муфты сцепления компрессора, а также обоих вентиляторов.

Отключение компрессора и вентиляторов происходит также при срабатывании датчика-выключателя давления.

Термоуправляющий усилитель

Усилитель обеспечивает отключение магнитной муфты сцепления компрессора К/В с целью предотвращения обмерзания испарителя при опускании температуры последнего ниже 3°С. Когда температура подходит к критическому значению, установленный между пластинами теплообменника испарителя термистор производит размыкание базовой цепи усилителя, что влечет за собой деактивацию реле К/В и отключение магнитной муфты сцепления компрессора.

 


Система отключения компрессора при акселерации

Использование кнопки включения К/В (Вкл/Выкл) сопровождается выдачей на ECM соответствующих информационных сигналов.

При поступлении на модуль управления сигнала о полном открывании дроссельной заслонки ECM вырабатывает команду на остановку компрессора К/В (если последний на момент получения сигнала был включен). Задачей системы является обеспечение максимальной приемистости транспортного средства во время акселерации.

  Реле К/В помещается в главном монтажном блоке предохранителей в левой части двигательного отсека.


 


Система стабилизации оборотов холостого хода

Компенсация возрастающей нагрузки на двигатель при включении компрессора К/В осуществляется за счет повышения оборотов холостого
хода по сигналу специального электромагнитного клапана IAC.

При получении информации о включении К/В ECM производит активацию клапана стабилизации оборотов холостого хода (IAC), приводящую к открыванию специального перепускного канала, по которому часть воздушного потока подается в двигатель в обход корпуса дросселя.


« предыдущая страница
5.3.7. Проверка исправности функционирования и обслуживание систем отопления и кондиционирования воздуха
^
к оглавлению
следующая страница »
5.3.9. Конденсатор К/В - конструкция и принцип функционирования

Copyright © 2026 Все права защищены. Все торговые марки являются собственностью их владельцев.