|
|
 |
7.18. Стартер Nippondenso - проверка и обслуживание
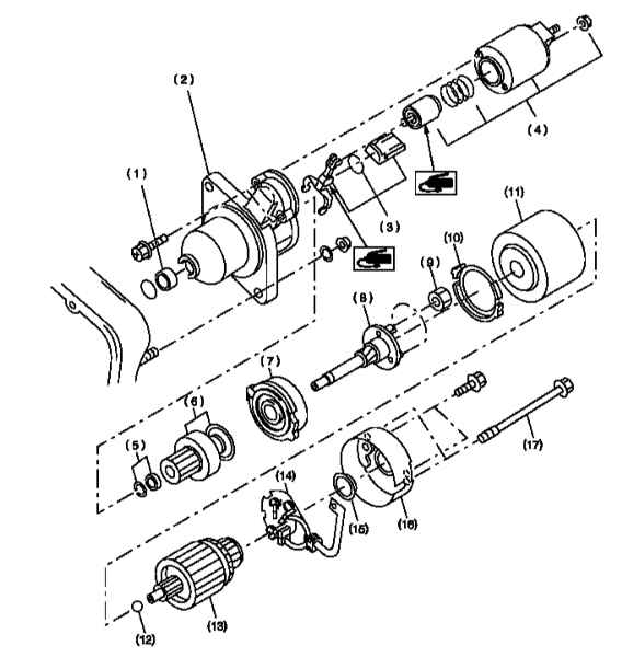
Конструкция стартера Nippondenso 128000-8321
Снятие и установка
|
|
|
1. Отсоедините отрицательный провод от батареи.
2. Снимите воздухоприемную камеру (см. Главу
Системы
питания и выпуска).
3. Отсоедините от стартера электропроводку (жгут и шина заземления).
|
4. Выверните крепежные болты
и снимите стартер с купола трансмиссии.
|
5. Установка производится в обратном порядке. Затяните болты крепления
стартера к трансмиссии с требуемым усилием (50 Нм).
|
|
Разборка и сборка
|
|
|
1. Ослабьте гайки крепления
клеммы «M» тягового реле и рассоедините контактный разъем
электропроводки.
A — Клемма M
B — Клемма B
C — Клемма S
|
|
2. Выверните крепежные болты
и снимите тяговое реле со стартера в сборке с плунжером и
плунжерной пружиной.
|
На
опорной поверхности пускателя может быть установлена
шайба регулировки зазора шестерни, - постарайтесь не
обронить ее!
|
A — Тяговое реле
B — Плунжер
|
|
3. Выверните стяжные болты
и винты крепления щеткодержателя, затем снимите заднюю крышку
стартера и щеткодержатель.
A — Задняя крышка
B — Щеткодержатель
|
4. Извлеките из статора якорь и муфту. Снимите установленный в
торцевой части якорной сборки шарик, - постарайтесь не уронить его.
|
Якорь имеет
значительный вес! Перед снятием муфты пометьте ее положение
относительно передней крышки!
|
|
5. Снимите уплотнитель (A),
три планетарных шестерни и пластину.
A — Уплотнитель A
B — Планетарные шестерни
C — Пластина
D — Уплотнитель B
|
6. Снимите вала в сборе с обгонной муфтой, - постарайтесь запомнить
установочное положение рычажной сборки.
|
7. Снимите обгонную муфту с
вала, для чего, слегка постукивая подходящим инструментом
по упору, удалите его с кольца, затем извлеките стопорное
кольцо, упор и снимите муфту с вала.
A — Торцевой ключ
B — Кольцо
C — Вал
D — Упор
|
8. Сборка проводится в обратном порядке. Проследите, чтобы все
компоненты были установлены на свои штатные места. Перечисленные
ниже компоненты смажьте смазкой типа Esso Beacon 325 Shell Alvania
Grease RA:
a) Передний и задний подшипники;
b) Шестерня вала якоря;
c) Поверхность плунжера;
d) Поверхность рычага;
e) Пазы вала шестерни;
f) Поверхность рычага и обгонной муфты;
g) Шарик на торце вала якоря;
h) Внутренние компоненты планетарной передачи.
9. Завершив сборку, удостоверьтесь в правильности функционирования
стартера.
|
|
ПРОВЕРКА
Якорь
|
|
|
1. Проверьте коллектор на наличие признаков пригорания
или ступенчатого износа. Незначительные дефекты могут быть устранены
при помощи мелкозернистой наждачной бумаги.
|
2. Уложите якорь в V-образные
призмы и при помощи циферблатного измерителя плунжерного типа
оцените величину радиального биения коллектора. В случае необходимости
отдайте сборку в проточку.
|
Мелкие дефекты могут
быть удалены с поверхности коллектора путем обработки
ее мелкозернистой наждачной бумагой.
|
A — Циферблатный измеритель
B — Призма
|
|
3. Проверьте глубину подрезки
изоляции между ламелями коллектора, - если результат измерения
составляет менее 0.2 мм, произведите соответствующую корректировку,
воспользовавшись для этой цели ножовочным полотном.
A — Ламель
B — Изоляция
|
|
4. Используя специальный тестер
для выявления короткозамкнутых витков, проверьте обмотки якоря
на наличие признаков короткого замыкания между ламелями коллектора.
Если короткое замыкание имеет место, то ток в приборе будет
чередоваться с обратным током, а обмотка якоря намагнитится.
Признаком намагничивания обмотки является вибрация металлической
пластины, подносимой к проверяемому участку.
|
Перед началом проверки
следует полностью удалить с поверхности обмоток угольный
налет и прочие отложения.
|
A — Железная пластина
B — Направляющее приспособление
|
|
4. Проверьте на пробой изоляцию
между коллектором и сердечником якоря, - измеряемое сопротивление
должно составлять не менее 10 МОм.
|
|
|
Статор
|
|
|
При помощи омметра проверьте состояние обмотки
возбуждения статора.
|
|
Обгонная муфта
|
|
|
1. Внимательно осмотрите рабочие поверхности зубьев
ведущей и паразитной шестерен, а также шестерни обгонной муфты.
При выявлении сколов или признаков чрезмерного износа обгонная муфта
подлежит замене в сборе, - параллельно следует изучить состояние
зубчатого венца маховика.
2. Проверьте свободу вращения обгонной муфты в направлении по часовой
стрелке, - против часовой стрелки муфта вращаться не должна.
|
Во избежание
вытекания смазки не применяйте для чистки обгонной муфты масло!
|
|
|
Щеткодержатель и щетки
|
|
|
1. Измерьте остаточную длину угольных щеток, -
если результат измерения составляет менее 11.5 мм (номинальное значение
= 17.0 мм), щетки подлежат замене.
|
2. При помощи омметра измерьте
сопротивление изоляции щеткодержателя. Если результат измерения
составляет менее 10 МОм, замените держатель.
|
3. Проверьте свобод хода щеток в направляющих держателя.
|
|
Тяговое реле
|
|
|
Описываемые
ниже проверки должны производиться при строго оговоренном
напряжении! Длительность каждой проверки не должна превышать
5 секунд!
|
Удостоверьтесь в наличии проводимости между клеммами «S» и «M»,
а также между клеммой «S» и массой. Удостоверьтесь в отсутствии
проводимости между клеммами «M» и «B».
|
|
Рабочие характеристики стартера
|
|
| 1. Для обеспечения гарантированного запуска двигателя
в любых погодных условиях стартеру необходимо развивать высокие
обороты вращения и достаточно большой крутящий момент. Перечисленные
характеристики в большой мере зависят от уровня заряда аккумуляторной
батареи, ввиду чего проверка стартера должна производиться с применением
батареи, полностью отвечающей по своим рабочим характеристикам требованиям
Спецификаций.
|
2. Проверка стартера производится
в трех режимах (см. далее). Схема подключения измерительных
приборов показана на иллюстрации.
A — Переменный резистор
B — Тяговое реле
C — Корпус стартера
|
|
|
Испытание без нагрузки
|
|
|
Подключите к отсоединенному от двигателя стартеру
исправную аккумуляторную батарею и измерьте частоту вращения, напряжение
и ток стартера. Сравните результаты измерений с требованиями
Спецификаций.
|
|
Испытание под нагрузкой (рекомендуемый метод)
|
|
|
В ходе данного испытания производится проверка
развиваемого стартером крутящего момента. Проверка производится
на специальном испытательном стенде, оборудованным приспособлением
для прикладывания тормозного усилия. Сравните результаты измерения
с требованиями
Спецификаций.
|
|
Испытание под нагрузкой с прикладыванием тормозного момента
(альтернативный метод)
|
|
|
Низкая частота вращения,
либо чрезмерный ток могут являться следствием повышенного
коэффициента внутреннего трения стартера в результате неправильной
сборки его компонентов.
|
Проверка производится на том же, что и ранее испытательном стенде,
в котором на этот раз блокируется якорь стартерной сборки. В ходе
проверки производится измерение контрольных параметров, - сравните
результаты измерений с требованиями
Спецификаций.
|
|
|
|