|
|
 |
9.18. Снятие, обслуживание и установка компонентов рычага селектора АТ
Конструкция рычага селектора АТ
СНЯТИЕ
|
|
|
1. Загоните автомобиль на подъемник.
2. Переведите рычаг селектора в положение «N».
3. Поднимите автомобиль.
4. Снимите сборку задней секции системы выпуска отработавших газов
с глушителем (см. Главу
Системы
питания и выпуска на диске 1).
5. Снимите крышку термозащитного экрана.
|
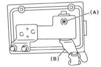
6. Отсоедините от рычага селектора
приводной трос и снимите опорный кронштейн троса.
A Регулировочные гайки
B Опорный кронштейн
|
7. Опустите автомобиль на землю.
8. Снимите сборку центральной консоли (см. Главу
Кузов).
9. Разъедините контактные разъемы электропроводки, выверните четыре
крепежных болта и снимите рычаг селектора с автомобиля.
|
|
Разборка и сборка
|
|
|
1. Снимите рукоятку рычага.
2. Снимите лампу индикатора и крышку индикаторной панели.
|
3. Извлеките два фиксатора
и снимите направляющую пластину.
А — Фиксаторы
В — Направляющая пластина
|
|
4. Снимите колпачок и выбейте
штифт.
A — Штифт
B — Нижняя секция рычага селектора
|
5. Снимите нижнюю секцию рычага селектора и отделите верхнюю секцию
рычага селектора от пластины.
6. Тщательно очистите все компоненты.
7. Сборка производится в порядке, обратном порядку демонтажа компонентов.
Смажьте все компоненты смазкой типа Nightight Lyw No.2.
8. Закончив сборку, удостоверьтесь в соответствии показаний индикатора
реальному положению рычага.
9. Оцените плавность перемещения верхней секции рычажной сборки.
|
|
УСТАНОВКА
|
|