| 
		
 | 
  | 
	
18.1.3.3. Снятие и установка
| 
 | 
 
-  Поднимите автомобиль и поверните рулевое колесо вправо. 
 
-  Отделите крепежный кронштейн R от корпуса дифференциала, сняв болты с его нижней части. 
 
-  Снимите крепежный кронштейн R, сняв передний крепежный болт с его верхней части. 
 
 
 
 | 
1 — крепежный болт кронштейна 
                   2 — крепежный кронштейн R 
                 3 — корпус дифференциала
 | 
 
 
 
 | 
2 — крепежный кронштейн R 
                   3 — корпус дифференциала
                   4 — передний крепежный болт 
 | 
 
 
-  Снимите крепежный кронштейн L, сняв верхний и нижний крепежные болты. 
 
 
 
 | 
1 — корпус дифференциала
                   2 — передний крепежный болт 
                   3 — крепежный кронштейн L 
                   4 — болт крепежного кронштейна 
 | 
 
 
-  Проверьте состояние каждой втулки. Если она повреждена или испорчена, вытащите ее специальным инструментом и гидравлическим прессом и замените. 
 
-  Специальный инструмент
                     
-  (a): 09951-26010 
 
-  (b): 09951-16080 
 
 
   
 
 | 
1 — крепежный кронштейн 
 | 
 
 
- При установке на прессе расположите шлицу в каждой втулке. 
 
 
 
 | 
1 — крепежный кронштейн L 
                   2 — втулка 
                   3 — крепежный кронштейн R
                   А — выравнивание шлицы 45°
 | 
 
 
-  Расположите каждую втулку на кронштейне. Длина “a”: 3.0 мм (0.12 дюйма).
 
 
 
 | 
1 — крепежный кронштейн R 
                   2 — крепежный кронштейн L 
 | 
 
 
 
 | 
-  При установке соблюдайте следующие значения момента затяжки:
                     
 
-  Момент затяжки
                         
-  (a): 85 Н•м (8.5 кг-м, 61.5 фунтов-фут) 
 
-  (b): 50 Н•м (5.0 кг-м, 36.5 фунтов-фут) 
                       
  
   
 | 
 
 
 | 
  
 |  
 
 Задний крепеж (для держателя переднего дифференциала) 
 
 Цельный тип 
 
| 
 | 
 
-  Поднимите автомобиль и снимите крепежную конструкцию, сняв два болта и гайки со стороны держателя дифференциала и 2 болта и гайки со стороны поперечины. 
 
- Проверьте крепежную резину на повреждения и ухудшение состояния и замените при необходимости. 
 
-  При установке соблюдайте следующее значение момента затяжки. Момент затяжки (a): 50 Н•м (5.0 кг-м, 36.5 фунтов-фут).
 
 
 
 | 
1 — болт и гайка заднего крепежного кронштейна
                   2 — держатель дифференциала 
                   3 — поперечина 
                   4 — болт заднего крепежного кронштейна 
                 5 — задний крепеж дифференциала 
 | 
 
 
 | 
  
 |  
 
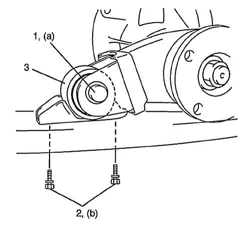
Тип со втулкой 
 
| 
 | 
 
-  Поднимите автомобиль и снимите задний крепежный кронштейн, сняв задний крепежный болт и болты заднего крепежного кронштейна. 
 
-  Проверьте крепежную резину на повреждения и ухудшение состояния и замените при необходимости. 
 
- При установке затяните задние крепежные болты и болты заднего крепежного кронштейна до указанного значения момента затяжки. 
 
-  Момент затяжки:
                  
-  задний крепежный болт (a): 85 Н•м (8.5 кг-м, 61.5 фунтов-фут) 
 
-  болты заднего крепежного кронштейна (b): 50 Н•м (5.0 кг-м, 36.5 фунтов-фут) 
 
 
   
 
 | 
1 — задний крепежный болт 
                   2 — болт заднего крепежного кронштейна 
                   3 — задний крепежный кронштейн 
 | 
 
 
 | 
  
 |  
 
 
		 
	 |   
 |