поиск в избранное карта сайта
  Toyota РЕМОНТ ОБСЛУЖИВАНИЕ ЭКСПЛУАТАЦИЯ АВТОМОБИЛЕЙ
Тойота Камри. Toyota Camry (с 2001 по 2005 год выпуска)

полные технические характеристики. диагностика. электросхемы
 
Главная
 
Toyota
Camry (2001)
1. Руководство по эксплуатации и техническому обслуживанию автомобиля
2. Двигатель
2.1. Бензиновые двигатели модели 1AZ-FE и 2AZ-FE
2.2. Механическая часть двигателей моделей 1AZ-FE и 2AZ-FE
2.3. Бензиновый двигатель модели 1МZ-FE
2.3.1. Общие сведения
2.3.2. Механизм привода клапанов
2.3.2.1. Общие сведения
2.3.2.2. Распределительные валы
2.3.2.3. Впускные и выпускные клапаны и толкатели клапанов
2.3.2.4. Зубчатый ремень привода механизма газораспределения
2.3.2.5. Натяжитель зубчатого ремня привода механизма газораспределения
2.3.3. Система смазки
2.3.4. Система охлаждения
2.3.5. Система впуска и выспуска
2.3.6. Топливная система
2.3.7. Система зажигания
2.3.8. Система управления двигателем
2.3.9. Основные элементы системы управления двигателем
2.4. Механическая часть двигателя модели 1MZ-FE
2.5. Приложение
2.6. Таблицы
3. Трансмиссия
4. Ходовая часть
5. Рулевое управление
6. Тормозная система
7. Бортовое электрооборудование
8. Кузов
9. Схемы электрооборудования
 


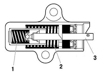
2.3.2.5. Натяжитель зубчатого ремня привода механизма газораспределения

Натяжитель зубчатого ремня привода механизма газораспределения
Рис. 2.191. Натяжитель зубчатого ремня привода механизма газораспределения: 1 – пружина плунжера; 2 – натяжитель ремня; 3 – возвратная пружина


Натяжитель зубчатого ремня привода механизма газораспределения использует пружину и масляный демпфер, он постоянно поддерживает натяжение зубчатого ремня. Также натяжитель зубчатого ремня привода механизма газораспределения исполняет функцию подавления шума, производимого зубчатым ремнем.


« предыдущая страница
2.3.2.4. Зубчатый ремень привода механизма газораспределения
^
к оглавлению
следующая страница »
2.3.3. Система смазки

Copyright © 2026 Все права защищены. Все торговые марки являются собственностью их владельцев.