поиск в избранное карта сайта
  Toyota РЕМОНТ ОБСЛУЖИВАНИЕ ЭКСПЛУАТАЦИЯ АВТОМОБИЛЕЙ
Тойота Королла Версо. Toyota Corolla Verso (с 2004 года выпуска)

полные технические характеристики. диагностика. электросхемы
 
Главная
 
Toyota
Corolla Verso
1. Эксплуатация и техническое обслуживание автомобиля
2. Двигатель
3. Трансмиссия
4. Ходовая часть
5. Рулевой механизм
6. Тормозная система
7. Бортовое электрооборудование
7.1. Общие сведения
7.2. Процедуры проверки
7.2.1. Проверка электродвигателя стартера без снятия с автомобиля
7.2.2. Проверка работы стартера
7.2.3. Проверка генератора без снятия с автомобиля
7.2.4. Проверка системы предпускового подогрева без снятия с автомобиля (1CD-FTV)
7.2.5. Замена стартера в сборе (1ZZ-FE / 3ZZ-FE)
7.2.6. Замена стартера в сборе (1CD-FTV)
7.2.7. Замена генератора в сборе (1ZZ-FE / 3ZZ-FE)
7.2.8. Замена генератора в сборе (1CD-FTV)
7.2.9. Разборка, проверка и сборка генератора
7.3. Таблицы
8. Кузов
9. Схемы электрооборудования
 


7.2.2. Проверка работы стартера

ВНИМАНИЕ
Проверка должна производиться в интервале 3–5 с во избежание повреждения обмотки статора.

Проверка втягивающей обмотки тягового реле
Отсоедините провод от вывода стартера «С»

Подсоединение провода аккумуляторной батареи к выводам тягового реле
Рис. 7.6. Подсоединение провода аккумуляторной батареи к выводам тягового реле


Подсоедините провода от аккумуляторной батареи к выводам тягового реле, как это указано на рисунке 7.6.
Убедитесь, что шестерня обгонной муфты выдвинулась наружу.
Если ведущая шестерня обгонной муфты не выдвинется, то замените тяговое реле.

Проверка удерживающей обмотки

Проверка удерживающей обмотки
Рис. 7.7. Проверка удерживающей обмотки


При подсоединениях, выполненных в порядке, указанном в предыдущей проверке, и выдвинутой ведущей шестерне обгонной муфты, отсоедините отрицательный провод от вывода «С» (рис. 7.7)
Убедитесь, что ведущая шестерня остается выдвинутой.
Если ведущая шестерня возвращается внутрь, то замените тяговое реле.

Проверка возврата ведущей шестерни обгонной муфты

Проверка возврата ведущей шестерни обгонной муфты
Рис. 7.8. Проверка возврата ведущей шестерни обгонной муфты


Отсоедините отрицательный провод от корпуса тягового реле (рис. 7.8)
Убедитесь, что ведущая шестерня обгонной муфты втянулась внутрь.
Если ведущая шестерня обгонной муфты не втянулась, то замените тяговое реле в сборе.

Проверка работы стартера без нагрузки

Проверка работы стартера без нагрузки
Рис. 7.9. Проверка работы стартера без нагрузки


Подсоедините провода от аккумуляторной батареи и от амперметра к стартеру, как это указано на рисунке 7.9
Проверьте, что якорь стартера вращается равномерно и ведущая шестерня обгонной муфты выдвинута. Измерьте при помощи амперметра силу тока.
Номинальная сила тока при 11,5 В – 90 А.

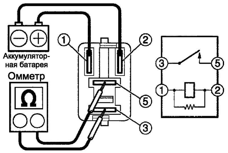
Проверка реле стартера

Проверка реле стартера
Рис. 7.10. Проверка реле стартера



Используя омметр, проверьте наличие проводимости между выводами «1» и «2».
Используя омметр, убедитесь в отсутствии проводимости между выводами «3» и «5».
Если сигнал не прерывается, замените реле.
Подведите к выводам «1» и «2» напряжение аккумуляторной батареи.
Используя омметр, проверьте наличие проводимости между выводами «3» и «5».
Если сигнал отсутствует, замените реле.

« предыдущая страница
7.2.1. Проверка электродвигателя стартера без снятия с автомобиля
^
к оглавлению
следующая страница »
7.2.3. Проверка генератора без снятия с автомобиля

Copyright © 2026 Все права защищены. Все торговые марки являются собственностью их владельцев.