поиск в избранное карта сайта
  Audi РЕМОНТ ОБСЛУЖИВАНИЕ ЭКСПЛУАТАЦИЯ АВТОМОБИЛЕЙ
Ауди А4. Audi A4 (с 2001 по 2005 год выпуска)

полные технические характеристики. диагностика. электросхемы
 
Главная
 
Audi
A4
1. Эксплуатация и техническое обслуживание автомобиля
2. Двигатель
3. Трансмиссия
4. Ходовая часть
5. Рулевой механизм
5.1. Предварительные проверки
5.2. Ремонт рулевого механизма
5.2.1. Транспортировочная защита
5.2.2. Проверка рулевой колонки на отсутствие повреждений
5.2.3. Снятие и установка рулевой колонки
5.2.4. Контроль работоспособности блокиратора
5.2.5. Усилитель рулевого управления
5.2.6. Центровка рулевого управления
5.2.7. Снятие и установка усилителя рулевого управления (левый руль)
5.2.8. Регулировка рулевого механизма с гидроусилителем
5.2.9. Снятие и установка насоса гидроусилителя
5.2.10. Снятие и установка насоса гидроусилителя, автомобили с 4-цилиндровым двигателем
5.2.11. Снятие и установка насоса гидроусилителя, автомобили с 6-цилиндровым бензиновым двигателем
5.2.12. Снятие и установка насоса гидроусилителя, автомобили с 6-цилиндровым двигателем TDI 2,5 л
5.3. Таблицы
6. Тормозная система
7. Бортовое электрооборудование
8. Кузов
9. Схемы электрооборудования
 


5.2.12. Снятие и установка насоса гидроусилителя, автомобили с 6-цилиндровым двигателем TDI 2,5 л

Снятие
Снимите шумоизоляционный щит.
Снимите амортизатор.
Приведите рамку радиатора в сервисное положение.

Крышка над масляным бачком гидроусилителя
Рис. 5.36. Крышка над масляным бачком гидроусилителя


При необходимости снимите крышку над масляным бачком гидроусилителя (рис. 5.36)

Снятие поликлинового ремня
Открутите вентилятор с вязкостной муфтой.
Необходимо 2 гаечных ключа на 32 мм.

Откручивание вентилятора с вязкостной муфтой
Рис. 5.37. Откручивание вентилятора с вязкостной муфтой


Для открытия одним ключом удерживайте, а другим вращайте в направлении стрелки (рис. 5.37)

Крепление крышки поликлинового ремня
Рис. 5.38. Крепление крышки поликлинового ремня


Открутите крышку поликлинового ремня (3х) (рис. 5.38)

ПРИМЕЧАНИЕ
Следите за дистанционными втулками крышки поликлинового ремня.

Перед снятием поликлинового ремня отметьте направление вращения. Смена направления вращения бывшего в употреблении ремня может привести к его разрушению. При установке поликлинового ремня следите за правильным положением на шкивах.
Снимите поликлиновой ремень компрессора климатической установки.

Ослабление винта натяжного ролика
Рис. 5.39. Ослабление винта натяжного ролика


Ослабьте винт А натяжного ролика компреесора климатической установ и снимите поликлиновой ремень (рис. 5.39).
Снимите поликлиновой ремень насоса гидроусилителя.

Ослабление поликлинового ремня
Рис. 5.40. Ослабление поликлинового ремня


Для ослабления поликлинового ремня открутите ключом под внутренний шестигранник (17) в направлении стрелки и установите оправку диаметром 4 мм поз. 1 (например, бородок с тонким жалом) (рис. 5.40).
Снимите ремень.

Откручивание компрессора климатической установки
После снятия закрепите компрессор на лонжероне, например, проволокой, не оставляйте висеть на трубопроводах хладагента.

ПРИМЕЧАНИЕ
Линии остаются подсоединенными, перегибать их нельзя.


Крепление компрессора
Рис. 5.41. Крепление компрессора


При установке компрессора следите за правильным положением центровочной втулки В (рис. 5.41).
Снимите винты А.

Ременной шкив насоса гидроусилителя
Рис. 5.30. Ременной шкив насоса гидроусилителя


Открутите ременной шкив насоса гидроусилителя рулевого управления, для этого в качестве контропоры используйте ключ для двух отверстий (рис. 5.30).

ПРИМЕЧАНИЕ
Для лучшего отображения показано на снятом двигателе.


Установка зажимов
Рис. 5.42. Установка зажимов


Зажмите подающую и сливную гидролинию зажимами для шлангов (рис. 5.42).
Подставьте резервуар для стекающего гидравлического масла.
Снимите зажим для шланга со всасывающего трубопровода 1.

Снятие всасывающей линии
Рис. 5.43. Снятие всасывающей линии


Снимите всасывающую линию и отложить в сторону (рис. 5.43).
Открутите РВД 2.
Присоединительные отверстия закройте заглушками.

Крепление насоса
Рис. 5.44. Крепление насоса


Открутите насос с крепления (поз. 1 и 2) и извлеките (рис. 5.44).

Установка
При установке особое внимание обращайте на следующее.
Перед установкой нового насоса на стороне всасывания залейте гидравлическое масло и проверните от руки, чтобы масло вышло на стороне напора.
Уберите следы масла в моторном отсеке.

Приаручивание насоса к креплению
Рис. 5.45. Приаручивание насоса к креплению


Прикрутите насос к креплению А в отверстия, отмеченные В (рис. 5.45).
Установите все винты и затяните сначала оба передних, а затем оба задних.
На пустотелый винт установите новые уплотнительные кольца.
Затяните пустотелый болт напорного шланга 2 (рис. 5.43).
Установите всасывающий шланг 1.
Отметка «P» на всасывающем шланге должна находиться на одной линии со швом на насосе.
Снимите хомуты.
Закрутите шкив крыльчатого насоса.

Монтаж компрессора климатической установки
При установке компрессора следите за правильным положением центровочной втулки В (рис. 5.41).
Установите поликлиновой ремень насоса гидроусилителя.
Сначала установите поликлиновой ремень на шкив коленвала, отводные ролики и, в последнюю очередь, на натяжной ролик.
Извлеките фиксатор 1, вращая ключом под внутренний шестигранник в направлении стрелки (рис. 5.40).
Установите поликлиновой ремень компрессора климатической установки.
Наложить поликлиновой ремень компрессора кондиционера.
Установите динамометрический ключ C с внутренним шестигранником 8 мм так, как изображено на рисунке 5.39 и натяните поликлиновой ремень, вращая ключ в направлении стрелки с моментом 7 Н·м
Затяните винт А динамометрическим ключом.
Установите крышку поликлинового ремня (3х) (рис. 5.38).
Прикрутите вентилятор с вязкостной муфтой.
Установите рамку радиатора.
Установите амортизатор.
Установите шумоизолирующий кожух.
Проверьте уровень рабочей жидкости в гидравлической системе.

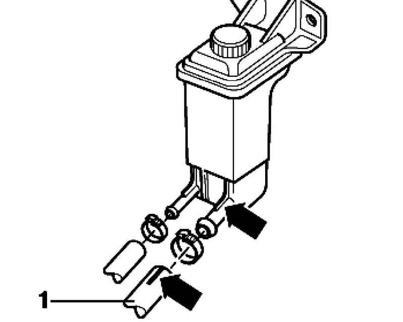
Монтажное положение всасывающего шланга к масляному бачку гидроусилителя (для всех двигателей)

Всасывющий шланг
Рис. 5.46. Всасывющий шланг


Отметка на всасывающем шланге 1 должна находиться на одной линии со швом на масляном бачке гидроусилителя (рис. 5.46).

« предыдущая страница
5.2.11. Снятие и установка насоса гидроусилителя, автомобили с 6-цилиндровым бензиновым двигателем
^
к оглавлению
следующая страница »
5.3. Таблицы

Copyright © 2026 Все права защищены. Все торговые марки являются собственностью их владельцев.