поиск в избранное карта сайта
  Renault РЕМОНТ ОБСЛУЖИВАНИЕ ЭКСПЛУАТАЦИЯ АВТОМОБИЛЕЙ
Рено Меган, Сценик. Renault Megane, Scenic (с 1996 года выпуска)

полные технические характеристики. диагностика. электросхемы
 
Главная
 
Renault
Megane, Scenic
1. Введение
2. Техническое обслуживание
3. Ремонт двигателя
4. Система охлаждения, отопления
5. Системы питания, выпуска
6. Электрооборудование двигателя
7. Сцепление
8. Трансмиссия
9. Приводные валы
10. Тормозная система
11. Подвеска и рулевое управление
12. Кузов
12.1. Обслуживание кузова и днища
12.2. Уход за обивкой и ковриками
12.3. Восстановление незначительных повреждений кузова
12.4. Значительные повреждения кузова - восстановление
12.5. Снятие и установка переднего бампера
12.6. Снятие и установка заднего бампера
12.7. Снятие, установка и регулировка капота
12.8. Снятие и установка тросика замка капота
12.9. Снятие и установка замка капота
12.10. Снятие и установка двери
12.11. Снятие и установка панели отделки дверей
12.12. Снятие и установка ручки двери и компонентов замка
12.13. Снятие и установка стекла дверного окна и стеклоподъемника
12.14. Снятие и установка крышки багажника
12.15. Снятие и установка компонентов замка крышки багажника
12.16. Снятие и установка двери багажного отсека
12.17. Снятие и установка компонентов замка задней двери
12.18. Снятие и установка компонентов системы единого замка
12.19. Снятие и установка компонентов электрического стеклоподъемника
12.20. Снятие и установка наружных зеркал и связанных компонентов
12.21. Ветровое и заднее стекла - общая информация
12.22. Верхний люк - общая информация
12.23. Снятие и установка наружных элементов кузовной отделки
12.24. Снятие и установка сидений
12.25. Система натяжения ремней безопасности передних сидений - общая информация
12.26. Снятие и установка компонентов ремней безопасности
12.27. Снятие и установка элементов внутренней отделки салона
12.28. Снятие и установка центральной консоли
12.29. Снятие и установка сборки панели приборов
12.30. Контрольные кузовные размеры
13. Бортовое электрооборудование
14. Схемы электрооборудования
 


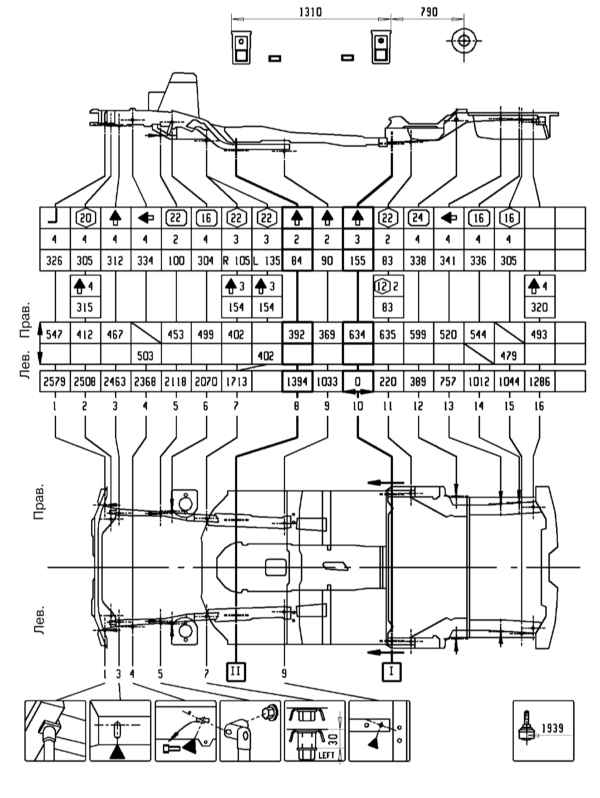
12.30. Контрольные кузовные размеры

 

Модели Седан с 97 г. выпуска. Верх

 

Модели Седан с 99г. выпуска. Низ

 

Модели Седан с 99г. выпуска. Верх

 

Модели Купе с 96 г. выпуска. Низ

 

Модели Купе с 96 г. выпуска. Верх

 

Модели Хэтчбек с 96 г. выпуска. Низ

 

Модели Хэтчбек с 96 г. выпуска. Верх

 

Модели Хэтчбек с 99 г. выпуска. Низ

 

Модели Хэтчбек с 99 г. выпуска. Верх

 

Модели Универсал с 99 г. выпуска. Низ

 

Модели Универсал с 99 г. выпуска. Верх

 

Модели Scenic с 97 г. выпуска. Низ

 

Модели Scenic с 97 г. выпуска. Верх

 


« предыдущая страница
12.29. Снятие и установка сборки панели приборов
^
к оглавлению
следующая страница »
13. Бортовое электрооборудование

Copyright © 2026 Все права защищены. Все торговые марки являются собственностью их владельцев.