поиск в избранное карта сайта
  Saab РЕМОНТ ОБСЛУЖИВАНИЕ ЭКСПЛУАТАЦИЯ АВТОМОБИЛЕЙ
Сааб 9-5. Saab 9-5 (с 1997 года выпуска)

полные технические характеристики. диагностика. электросхемы
 
Главная
 
Saab
9-5
1. Введение
2. Органы управления и приемы эксплуатации
3. Настройки и текущее обслуживание автомобиля
4. Двигатель
4.1. Общая информация и подготовительные операции
4.2. Проверка компрессионного давления
4.3. Проверка двигателя с помощью вакуумметра
4.4. Ремонт 4-цилиндровых бензиновых двигателей
4.5. Ремонт 6-цилиндровых бензиновых двигателей
4.6. Ремонт 6-цилиндровых дизельных двигателей
5. Системы охлаждения двигателя, отопления, вентиляции и кондиционирования воздуха
6. Системы питания и выпуска отработавших газов
7. Системы электрооборудования двигателя
8. Ручная коробка переключения передач
9. Автоматическая трансмиссия
10. Сцепление и приводные валы
11. Тормозная система
12. Подвеска и рулевое управление
13. Кузов
14. Бортовое электрооборудование
 


4. Двигатель

Типы // обозначения двигателей 4-цилиндровый рядный бензиновый двигатель 2.0 turbo // B205E
4-цилиндровый рядный бензиновый двигатель 2.3 turbo // B235E/R
6-цилиндровый V-образный бензиновый двигатель // B308E
6-цилиндровый V-образный дизельный двигатель // D308L

Последовательность зажигания // впрыска
  • 4-цилиндровые
1- 3 - 4 - 2
  • 6-цилиндровые
1 - 2 - 3 - 4 - 5 - 6 (см. иллюстрацию)
Направление вращения коленчатого вала
По часовой стрелке
Угол между рядами цилиндров двигателей V6, град.
  • Бензиновый
54
  • Дизельный
66
Диаметр цилиндра // ход поршня, мм
  • B205E
90 // 78
  • B235E/R
90 // 90
  • B308E
86 // 85
  • D308L
87.5 // 82
Объём цилиндров, см 3
  • B205E
1985
  • B235E/R
2290
  • B308E
2962
  • D308L
2958
Степень сжатия
  • B205E
8.8:1
  • B235E/R
9.3:1
  • B308E
9.5:1
  • D308L
18.5:1
Компрессионное давление, атм
  • B205E
12
  • B235E/R
14
D308L (при 100 об/мин)
21.5 ÷ 25.5
Максимальная допустимая разность компрессионных давлений в цилиндрах, атм
  • B308E, D308L
2
Максимальная мощность (л.с. // кВт) при об/мин
  • D308L
177 (130) @ 4400
Максимальный крутящий момент (Н•м) при об/мин
D308L350 @ 2000
Минимальное давление двигательного масла, атм
  • 4-цилиндровые двигатели (10W-30, на 2000 об/мин при температуре 105 ± 2 град.)
2.5
  • Дизельный двигатель (при температуре 100 град) на оборотах Х/Х.
1.5
  • При 4600 об/мин
2.9
Давление двигательного масла, при котором загорается К/Л низкого давления масла, атм.
0.3 ÷ 0.55
Давление начала открывания редукционного клапана масляного фильтра, атм 4-цилиндровые двигатели
3.8
Бензиновый двигатель V6
4.51
Дизельный двигатель.
6.37
Расстояние между корпусом и ротором масляного насоса, мм
0.03 ÷ 0.08
Температура начала открывания термостата маслоохладителя, град..
105 ± 2
Давление срабатывания датчика низкого давления двигательного масла, атм
0.3 ± 0.55

Сборка головки цилиндров

4-цилиндровые двигатели

Контрольные размеры клапана


Высота головки цилиндров, мм
  • Стандартная
139.4 ÷ 139.6
  • После шлифовки
не менее 139.0
Контрольные размеры клапана
  • Диаметр стержня впускного // выпускного клапана (А), мм.
(4.9775* // 4.9575) ± 0.075
  • Диаметр тарелки впускного // выпускного клапана (B), мм
(33 // 29) ± 0.1
  • Длина впускного // выпускного клапана (C), мм
107.3 // 107.84
  • Фаска тарелки впускного // выпускного клапана (D - E), мм - град
1.0 ÷ 1.5 x 45.25 ± 0.25 // 1.5 ÷ 2.0 x 44.5 ± 0.167
  • Длина направляющей втулки клапана, мм
42.5 ÷ 43.0
  • Наружный диаметр направляющей втулки клапана, мм
12.039 ÷ 12.050
  • Диаметр проточки под направляющую втулку клапана, мм.
12.000 ÷ 12.018
  • Максимальный радиальный зазор впускного // выпускного клапана в направляющей, мм
0.17 // 0.22
  • Длина установленной // свободной клапанной пружины, мм
37.5 // 57.1 ÷ 60.1
  • Диаметр // высота толкателя клапана, мм
32.959 ÷ 32.975 // 24 ± 0.5
  • Диаметр проточки под толкатель клапана, мм
33.000 ÷ 33.016

* Диаметр выпускного клапана, изготовленного из жаропрочного никелевого сплава (нимоник) составляет 4.9725

Бензиновый двигатель V6

Контрольные размеры выпускного клапана бензинового двигателя V6

Контрольные размеры впускного клапана бензинового двигателя V6


Высота головки цилиндров, мм
134
Максимальная допустимая деформация головки цилиндров, мм
0.5 на 100 мм длины
Ремонтные размеры диаметра стержня впускного // выпускного клапана, мм
  • 1-й ( 0.075)
6.030 ÷ 6.045 // 6.020 ÷ 6.035
  • 2-й ( 0.150)
6.105 ÷ 6.120 // 6.095 ÷ 6.110
Длина клапанной пружины, мм
  • Свободная
41.8
  • При сжатии с усилием 252 - 288 Н
34
  • При сжатии с усилием 630 - 680 Н
24

Дизельный двигатель

Высота головки цилиндров, мм
95
Клапанный зазор, мм
0.4 ± 0.05
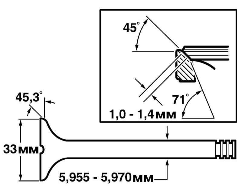
Диаметр стержня впускного // выпускного клапана (А), мм
5.959 ÷ 5.977 // 5.952 ÷ 5.970
Диаметр тарелки впускного // выпускного клапана (B), мм
27.4 ÷ 27.6 // 26.4 ÷ 26.6
Длина впускного // выпускного клапана (C), мм.
98.45 // 98.10
Угол фаски тарелки клапана, град
45
Угол фаски седла клапана, град
89.5
Наружный диаметр седла впускного // выпускного клапана, мм
28.42 ÷ 28.58 // 27.4 ÷ 27.6
Внутренний // наружный диаметр направляющей втулки клапана, мм
6.000 ÷ 6.015 // 11.045 ÷ 11.055
Радиальный люфт клапана (впускного // выпускного) во втулке, мм.
0.023 ÷ 0.056 // 0.030 ÷ 0.063
Длина направляющей втулки клапана, мм
15
Длина установленной // свободной клапанной пружины, мм
43.2 // 33.3
Диаметр винтового прутка клапанной пружины, мм
3.1
Внутренний диаметр клапанной пружины, мм
18.0 ÷ 18.4
Диаметр толкателя впускного // выпускного клапана, мм
37.55 // 37.46

Распределительные и балансировочные валы

4-цилиндровые двигатели

Диаметр шеек, мм
28.922 ÷ 28.935
Высота подъёма кулачка, мм
8.31
Осевой люфт, мм
0.08 ÷ 0.35
Момент открывания // закрывания впускных клапанов, град
12 до ВМТ конца такта выпуска // 39 после НМТ конца такта впуска
Момент открывания // закрывания выпускных клапанов, град
37 до НМТ начала такта выпуска //14 после ВМТ конца такта выпуска
Диаметр внутренней // наружной шейки балансировочного вала, мм
39.892 ÷ 39.908 // 19.947 ÷ 19.960
Диаметр внутреннего // наружного подшипника балансировочного вала, мм
39.988 ÷ 40.043 // 20.000 // 20.021
Люфт внутреннего // наружного подшипника балансировочного вала, мм
  • Стандартный
0.080 ÷ 0.151 // 0.040 ÷ 0.074
  • Максимальный допустимый
0.18 // 0.060 ÷ 0.460
Натяжение ремня привода вспомогательных агрегатов, Н
315 ± 25

Бензиновый двигатель V6

Диаметр шеек, мм
27.939 ÷ 27.960
Высота подъёма кулачка, мм
10
Осевой люфт, мм
0.040 ÷ 0.144
Момент открывания // закрывания впускных клапанов, град
7.5 до ВМТ конца такта выпуска // 79.5 после НМТ конца такта впуска
Момент открывания // закрывания выпускных клапанов, град
56.5 до НМТ начала такта выпуска // 30.5 после ВМТ конца такта выпуска
Момент полного открывания впускного // выпускного клапана, град
119 после ВМТ начала такта впуска // 109.5 до ВМТ конца такта выпуска

Дизельный двигатель

Диаметр шеек, мм
27.000 ÷ 27.021
Диаметр вала, мм.
26.959 ÷ 26.976
Осевой люфт, мм.
0.050 ÷ 0.130
Радиальный люфт, мм
0.024 ÷ 0.062
Максимальный диаметр кулачка впускного // выпускного вала, мм
(46.70212 // 46.10378) ± 0.05

Блок цилиндров и коленчатый вал

4-цилиндровые двигатели

Диаметр цилиндров в зависимости от маркировки, мм
  • Стандартный (A)
90.000 ÷ 90.020
  • (B)
90.020 ÷ 90.040
  • Первая проточка
90.500 ÷ 90.520
  • Вторая проточка
91.000 ÷ 90.020
Максимальное допустимое искривление коленчатого вала, мм
0.10
Осевое биение коленчатого вала, мм
0.08 ÷ 0.34
Максимальные овальность и конусность шеек коленчатого вала, мм.
0.005
Радиус утолщения коренной шейки коленчатого вала, мм
1.65 ÷ 1.85
Люфт коренного подшипника коленчатого вала, мм.
0.014 ÷ 0.062
Длина коленчатого вала, мм.
539.2
Разница между толщинами вкладышей подшипников коленчатого вала с красной и жёлтой маркировкой, а также жёлтой и синей маркировкой, мм
0.005
Диаметр шатунной шейки коленчатого вала, мм
  • Стандартный
51.981 ÷ 52.000
  • 1-й ремонтный размер
51.731 ÷ 51.750
  • 2-й ремонтный размер
51.481 ÷ 51.500
Диаметр коренной шейки коленчатого вала, мм
на 6.000 мм больше диаметра шатунной шейки
Радиальный люфт шатунного подшипника, мм.
0.020 ÷ 0.068
Радиальный люфт коренного подшипника, мм
0.014 ÷ 0.062

Бензиновый двигатель V6

Диаметр цилиндров в зависимости от маркировки, мм
  • Стандартные
    • «8»
85.975 ÷ 85.985
    • «99»
85.985 ÷ 85.995
    • «00»
85.995 ÷ 86.005
    • «01»
86.005 ÷ 86.015
    • «02»
86.015 ÷ 86.025
  • Ремонтные
    • 7 0.5
86.465 ÷ 86.475
    • 8 0.5
86.475 ÷ 86.485
    • 9 0.5
86.485 ÷ 86.495
    • 0 0.5
86.495 ÷ 87.505
Осевое биение коленчатого вала, мм
0.10 ÷ 0.76
Максимальная овальность шеек коленчатого вала, мм.
0.003
Максимальное допустимое искривление коленчатого вала, мм
0.05
Диаметр шатунной шейки коленчатого вала, мм
  • Стандартный
53.990 ÷ 53.971
  • 1-й ремонтный размер
53.740 ÷ 53.721
  • 2-й ремонтный размер
53.490 ÷ 53.471
Диаметр коренной шейки коленчатого вала, мм
  • Стандартный
67.980 ÷ 67.996
  • 1-й ремонтный размер
67.730 ÷ 67.746
  • 2-й ремонтный размер
67.480 ÷ 67.496
Радиальный люфт шатунного подшипника, мм
0.013 ÷ 0.061
Радиальный люфт коренного подшипника, мм
0.014 ÷ 0.043
Толщины вкладышей подшипников коленчатого вала в зависимости от цветовой маркировки, мм
  • Коричневый
1.989 ÷ 1.995
  • Зелёный
2.114 ÷ 2.120
  • Коричневый/синий
2.120 ÷ 2.126
  • Зелёный/синий
2.239 ÷ 2.245
  • Коричневый/белый
2.239 ÷ 2.245
  • Зелёный/белый
2.245 ÷ 2.251

Дизельный двигатель

Диаметр цилиндров в зависимости от маркировки, мм
  • «A»
87.500 ÷ 87.510
  • «B»
87.511 ÷ 87.520
  • «C»
87.521 ÷ 87.530
Максимальная допустимая овальность цилиндра, мм
0.015
Толщина (мм) прокладки головки цилиндров // высота (мм) подъёма поршня из блока цилиндров в зависимости от маркировки прокладки
  • «A» (1 вырез)
1.15//0.40 ÷ 0.46
  • «B» (2 выреза)
1.20//0.47 ÷ 0.53
  • «C» (3 выреза)
1.25//0.54 ÷ 0.60
Диаметр вкладыша шатунного подшипника коленчатого вала дизельного двигателя, мм
58
Осевое биение коленчатого вала, мм
0.060 ÷ 0.240
Диаметр шатунной шейки коленчатого вала, мм.
57.922 ÷ 57.937
Диаметр коренной шейки коленчатого вала, мм
  • Класс «1»
71.926 ÷ 71.933
  • Класс «2»
71.918 ÷ 71.925
Диаметр (мм) вкладыша коренного подшипника в зависимости от класса
  • «1»
76.994 ÷ 77.000
  • «2»
76.987 ÷ 76.993
  • «3»
76.980 ÷ 76.986
Толщина (мм) вкладыша коренного подшипника в зависимости от класса подшипника // класса вала
  • «1» // «2»
2.517 ÷ 2.521
  • «1» // «1» и «2» // «2»
2.513 ÷ 2.517
  • «2» // «1» и «3» // «2»
2.509 ÷ 2.513
  • «3» // «1»
2.505 ÷ 2.509
Радиальный люфт шатунного подшипника, мм
0.025 ÷ 0.058
Радиальный люфт коренного подшипника, мм
0.027 ÷ 0.050
Максимальный осевой люфт в шатунном подшипнике, мм
0.16 ÷ 0.35
Толщины вкладышей шатунных подшипников коленчатого вала в зависимости от цветовой маркировки, мм
  • «1» (жёлтый)
1.512 ÷ 1.516
  • «2» (зелёный)
1.508 ÷ 1.512
  • «3» (фиолетовый)
1.508 ÷ 1.512

Поршни и шатуны

Контрольные размеры поршня


Диаметр // глубина (А) // радиус кривизны (R) // центральной выборки в поршне, мм
  • B205E
28.65 // 1.4 // 76
  • B235E/R
70 // 3.8 // 50
  • B308E
78.5 // 3.45 // 43
Высота (H) поршня, мм
  • B205E
56.2
  • B235E/R
56.9
  • B308E
56.45
Диаметр поршня (в зависимости от маркировки), мм
  • 4-цилинлдровые двигатели
    • AB
89.964 ÷ 89.975
    • B
89.975 ÷ 89.982
    • 1-й ремонтный размер
90.457 ÷ 90.475
    • 2-й ремонтный размер
90.957 ÷ 90.975
  • Бензиновый двигатель
    • Стандартные
      • «8»
85.945 ÷ 85.955
      • «99»
85.955 ÷ 85.955
      • «00»
85.965 ÷ 85.975
      • «01»
85.975 ÷ 85.085
      • «02»
85.985 ÷ 85.095
    • Ремонтные
      • 7 0.5
86.435 ÷ 86.445
      • 8 0.5
86.445 ÷ 86.455
      • 9 0.5
86.455 ÷ 86.465
      • 0 0.5
86.465 ÷ 86.475
  • Дизельный двигатель
    • «A»
87.460 ÷ 87.469
    • «B»
87.470 ÷ 87.479
    • «C»
87.480 ÷ 87.489
Люфт посадки поршня в цилиндре, мм
  • 4-цилиндровые двигатели
0.025 ÷ 0.056
  • Бензиновый двигатель V6
0.025 ÷ 0.045
Толщины поршневых колец, мм
  • 4-цилинлдровые двигатели
    • Компрессионные
1.475 ÷ 1.490
    • Маслосъёмное
не более 2.500
  • Бензиновый двигатель V6
    • Компрессионные
1.478 ÷ 1.490
    • Маслосъёмное
не более 3.000
  • Дизельный двигатель
    • Верхнее компрессионное
2.47 ÷ 2.49
    • Нижнее компрессионное
1.47 ÷ 1.49
    • Маслосъёмное
2.97 ÷ 2.99
Зазор посадки колец в канавках поршня, мм
  • 4-цилинлдровые двигатели
    • 1-е компрессионное
0.035 ÷ 0.080
    • 2-е компрессионное
0.040 ÷ 0.075
  • Дизельный двигатель
    • Верхнее компрессионное
0.08 ÷ 0.112
    • Нижнее компрессионное
0.05 ÷ 0.09
    • Маслосъёмное
0.03 ÷ 0.07
Величина разреза замка поршневых колец, мм
  • 4-цилинлдровые двигатели
    • Компрессионные
0.300 ÷ 0.500
    • Маслосъёмное
0.75 ÷ 1.00
  • Бензиновый двигатель V6
    • Компрессионные
0.300 ÷ 0.500
    • Маслосъёмное
0.40 ÷ 1.40
  • Дизельный двигатель
    • Верхнее компрессионное
0.15 ÷ 0.25
    • Нижнее компрессионное
0.40 ÷ 0.50
    • Маслосъёмное
0.20 ÷ 0.40
Диаметр нижней головки шатуна, мм
  • 4-цилинлдровые двигатели

56.000 ÷ 56.019

  • Бензиновый двигатель V6

52.000 ÷ 52.012

  • Дизельный двигатель
    • «A»
60.994 ÷ 61.000
    • «B»
60.998 ÷ 60.994
    • «C»
60.982 ÷ 61.988
Внутренний диаметр направляющей шатунного пальца, мм
  • 4-цилинлдровые двигатели
24.012 ÷ 24.017
  • Дизельный двигатель
28.502 ÷ 28.507
Максимальная допустимая разница масс верхних частей шатунов бензиновых двигатель, г
6
Длина шатуна (между центрами), мм
  • Двигатели 2.3 л
153
  • Двигатели 2.0 л
159
  • Бензиновый двигатель V6
148
  • Дизельный двигатель
153.5
Диаметр масляного канала в шатуне бензинового двигателя V6, мм
4
Диаметр пальца, мм
  • Бензиновый двигатель V6
20.995 ÷ 21.000
  • Дизельный двигатель
28.495 ÷28.500
Люфт посадки поршневого пальца дизельного двигателя, мм
0.008 ÷ 0.020
Осевой люфт поршневого пальца дизельного двигателя, мм
4.6

Усилия затягивания резьбовых соединений, Н•м

Ступичная гайка
170, затем дотянуть на угол 45 град.
Прочие болты (кроме перечисленных ниже)
  • М5
5
  • М6
10
  • М8
20
  • М10
40

4-цилиндровые двигатели

Крепёж (М8) выпускного коллектора
25
Сливная пробка двигательного масла (М14-1.5)
25
Крепёж (М8) промежуточной звёздочки цепи балансировочных валов
25
Крепёж (М12) головки цилиндров
  • 1-й подход
40
  • 2-й подход
60
  • 3-й подход
дотянуть на угол 90 град.
Крепёж (М8) впускного трубопровода
22
Крепёж (М8) крышек подшипников распределительных валов
15
Крепёж (М8) звёздочек балансировочных валов
22
Крепёж (М10) звёздочек распределительных валов
63
Крепёж (М22) натяжителя цепи привода ГРМ
63
Датчик детонации
20
Крепёж (М10) маслораспылителя
18
Крепёж масляного фильтра
10
Крепёж (М10x1.25) приводного диска
95
Крепёж (М10x1.25) маховика
80
Крепёж (М6) шлангов маслоохладителя
8
Крепёж (М8) поддона картера двигателя
22
Пробка натяжителя цепи привода ГРМ
22
Пробка перепускного клапана масляного насоса
30
Пробка термостата маслоохладителя
60
Крепёж крышек коренных (М12) и шатунных (М9x1) подшипников коленчатого вала
  • 1-й подход
20
  • 2-й подход
70
Крепёж (М6) корпуса дросселя
8
Крепёж (М8) корпуса термостата
22
Болты (М8) крепления крышек приводного ремня
22
Болты (М8) крепления турбокомпрессора
25
Крепёж (М6) модуля зажигания
11
Свечи зажигания
28
Крепёж (М8) крышки головки цилиндров
15
Крепёж (М16-1.5) шкива коленчатого вала
175

Бензиновые двигатели V6

Крепёж выпускных коллекторов
20
Сливная пробка двигательного масла
25
Крепёж перепускной трубки
8
Крепёж головки цилиндров
25, затем трижды последовательно дотянуть на угол 90 град.
Крепёж секций выпускной системы
22
Крепёж передней секции выпускной трубы
  • К заднему выпускному коллектору
40
  • К турбокомпрессору (контргайки)
24
  • К турбокомпрессору (шпильки)
22
Крепёж кронштейна турбокомпрессора
24
Крепёж впускного трубопровода
20
Крепёж впускного трубопровода к U-образному хомуту головки цилиндров
20
Крепёж регулировочного ролика распределительного вала
40
Крепёж зубчатых колёс распределительных валов
  • 1-й подход
50
  • 2-й подход
дотянуть на угол 60 град.
Крепёж крышек подшипников распределительных валов
8
Крепёж зубчатого колеса коленчатого вала
  • 1-й подход
250
  • 2-й подход
дотянуть на угол 45 град.
Крепёж вентилятора радиатора
8
Крепёж насоса ОЖ
25
Датчик CKP
8
Крепёж приводного диска
65, затем дотянуть на угол 30 град.
Крепёж задней опоры двигателя
  • Верхний кронштейн
84
  • Стяжной болт
26
  • Верхняя стяжная гайка
47
Крепёж правой опоры двигателя
  • К кузову
63
  • Стяжная гайка
105
Крепёж левой опоры двигателя
  • К кузову
63
  • К опоре
84
Крепёж масляного насоса
6
Крепёж масляного фильтра
10
Крепёж масляной трубки к корпусу держателя насоса
25
Крепёж возвратной масляной трубки к турбокомпрессору
14
Полые болты крепления масляных трубок к турбокомпрессору
20
Крепёж масляной трубки к теплообменнику
30
Крепёж маслоотражательной пластины
8
Крепёж маслозаборной трубки
8
Крепёж поддона картера
15
Крепёж несущего элемента коренного подшипника коленчатого вала
20
Крепёж крышек коренных подшипников коленчатого вала
  • 1-й подход
50
  • 2-й подход
Дотянуть на угол 60 град.
  • 3-й подход
Дотянуть на угол 15 град.
Крепёж шкива насоса ОЖ
8
Крепёж шкива насоса ГУР
20
Крепёж натяжителя приводного ремня
40
Крепёж ролика натяжителя приводного ремня
20
Термостат
20
Крепёж крышки ГРМ
8
Свечи зажигания
25
Хомут впускного патрубка турбокомпрессора
3
Крепёж водяной трубки к турбокомпрессору
25
Стяжной болт крепления водяной трубки от головки цилиндров к турбокомпрессору
14
Крепёж крышки головки цилиндров
8
Крепёж трубки вентиляции картера к впускному трубопроводу
24
Крепёж крышек шатунных подшипников коленчатого вала
  • 1-й подход
35
  • 2-й подход
Дотянуть на угол 45 град.
  • 3-й подход
Дотянуть на угол 15 град.
Гайка крепления термозащитного экрана
24
Крепёж крышки теплообменника
20
Крепёж трансмиссии
70
Крепёж тросов рычага селектора
20

Дизельные двигатели

Соединения секций выпускной трубы
24
Крепёж выпускных коллекторов
52
Крепёж топливного насоса
21
Механизм топливного насоса
160
Держатель трубки топливного насоса
35
Крепёж топливной линии к топливному насосу
25
Винт крепления топливной линии
9
Полые болты топливных линий
  • Снаружи и внутри переднего блока цилиндров
20
  • Внутри заднего блока цилиндров
16
Кронштейн датчика температуры топлива
23
Крепёж топливной распределительной магистрали
21
Крепёж кронштейнов форсунок
  • Гайка М6
5
  • Гайка М10
29
  • Шпилька М10
43
  • Шпилька М8
22
Короткие // длинные болты крепления головки цилиндров
  • 1-й подход
39
  • 2-й//3-й подходы
дотянуть на угол 110 // 130 град
Болты крепления головки цилиндров к крышке привода ГРМ
20
Маховик
118
Крепёж передней секции выпускной трубы к турбокомпрессору
24
Крепёж выпускного коллектора к турбокомпрессору
21
Крепёж генератора
Свеча накаливания
18
Крепёж впускного трубопровода
  • Нижний
31
  • Верхний
21
Винт заземления
25
Крышки подшипников распределительных валов
22
Крепёж постели распределительных валов
22
Датчик CKP
6
Датчик CMP
6
Звёздочка распределительного вала
120
Боковая крышка распределительного вала
25
Натяжитель приводного ремня
43
Крепёж насоса ОЖ
11
Крепёж перепускной трубки системы охлаждения
25
Крепёж кронштейна задней опоры двигателя к коробке передач
60, затем дотянуть на угол 60 град.
Крепёж задней опоры двигателя
  • К кронштейну
60, затем дотянуть на угол 60 град.
  • К подрамнику
28
Верхние болты крепления кронштейна правой опоры двигателя к крышке привода ГРМ
40, затем дотянуть на угол 90 град.
Нижние болты крепления кронштейна правой опоры двигателя к крышке привода ГРМ
64
Крепёж правой опоры двигателя к кузову
40, затем дотянуть на угол 30 град.
Гайка крепления правой опоры двигателя
105
Крепёж кронштейна левой опоры двигателя к коробке передач и к кузову
40, затем дотянуть на угол 30 град.
Крепёж левой опоры двигателя к кронштейну
63
Передний болт крепления реактивной штанги
90, затем дотянуть на угол 90 град.
Крепёж корпуса масляного фильтра
25
Центральный болт маслоохладителя
39
Крепёж крышки масляного насоса
10
Крепёж возвратной масляной линии
К блоку цилиндров
21
К турбокомпрессору
9
Полый болт крепления масляной трубки к турбокомпрессору
24
Крепёж направляющей щупа уровня двигательного масла
25
Крепёж верхней // нижней секции поддона картера
25 // 9
Крепёж держателя маслораспылителя
21
Наружный болт крепления крышки коренного подшипника коленчатого вала
  • 1-й подход
39
  • 2-й подход
Затянуть болт M11
  • 3-й подход
проверить усилие затягивания (39)
Внутренний болт крепления крышки коренного подшипника коленчатого вала
  • 1-й подход
30
  • 2-й подход
Дотянуть на угол 60 град.
Болт крепления крышки шатунного подшипника коленчатого вала
  • 1-й подход
22
  • 2-й и 3-й подходы
Дотянуть на угол 60 град.
Крепёж левого сальника коленчатого вала
25
Боковые болты поддона картера
39
Нижний болт крепления натяжителя приводного ремня
25
Стойка выпускного коллектора
25
Крепёж стартёра к блоку цилиндров
45
Датчик ECT
18
Крепёж корпуса термостата
25
Крепёж возвратной линии отопителя
10
Соединение трубки маслоохладителя
25
Крепёж крышки привода ГРМ
  • Наружная
50
  • Нижняя
98
  • Верхняя часть
10
Крепёж нагнетательного трубопровода
8
Датчик давления двигательного масла
30
Крепёж нажимного диска сцепления
22
Крепёж турбокомпрессора
21
Соединение трубки ОЖ с турбокомпрессором
9
Крепёж термозащитного кожуха к турбокомпрессору
21
Рубашка охлаждения системы EGR
21
Клапан системы EGR
21
Вакуумный блок впускного трубопровода
8
Вакуумный насос
8
Вакуумные шланги и усилитель тормозов к вакуумному насосу
18
Крышка головки цилиндров
9
Шкив коленчатого вала
235
Термозащитные кожухи
8
Крепёж теплообменника
20
Редукционный клапан системы смазки
45

« предыдущая страница
3.24. Проверка состояния, регулировка и замена щёток стеклоочистителей
^
к оглавлению
следующая страница »
4.1. Общая информация и подготовительные операции

Copyright © 2026 Все права защищены. Все торговые марки являются собственностью их владельцев.