поиск в избранное карта сайта
  Subaru РЕМОНТ ОБСЛУЖИВАНИЕ ЭКСПЛУАТАЦИЯ АВТОМОБИЛЕЙ
Субару Легаси, Аутбэк. Subaru Legacy / Outback (с 1999 по 2003 год выпуска)

полные технические характеристики. диагностика. электросхемы
 
Главная
 
Subaru
Legacy / Outback (1999)
1. Введение
2. Руководство по эксплуатации
3. Текущее обслуживание
4. Двигатель
5. Системы охлаждения, отопления
6. Системы питания и выпуска
6.1. Спецификации
6.2. Система впрыска топлива
6.3. Системы управления двигателем и снижения токсичности отработавших газов
6.3.1. ЕСМ - проверка исправности состояния и замена
6.3.2. Диагностика неисправностей - общая информация и предварительные проверки
6.3.3. Система бортовой самодиагностики (OBD) - общая информация
6.3.4. Применение осциллографа для наблюдения рабочих параметров системы управления
6.3.5. Снятие и установка компонентов систем снижения токсичности отработавших газов
6.4. Система выпуска отработавших газов
7. Электрооборудование двигателя
8. Ручная коробка и дифференциал
9. Автоматическая трансмиссия
10. Сцепление
11. Тормозная система
12. Подвеска и рулевое управление
13. Кузов
14. Бортовое электрооборудование
 


6.3. Системы управления двигателем и снижения токсичности отработавших газов

Общая информация

Функциональная схема систем управления двигателем/снижения токсичности отработавших газов (модели 2.0 и 2.5 л, оборудованные системой диагностики OBD II)

1 — Модель управления двигателем (ECM)
2 — Модуль зажигания
3 — Датчик положения коленчатого вала (CKP)
4 — Датчик положения распределительного вала (CMP)
5 — Датчик положения дроссельной заслонки (TPS)
6 — Топливные инжекторы
7 — Регулятор давления
8 — Датчик температуры охлаждающей жидкости двигателя (ECM)
9 — Датчик температуры и давления всасываемого воздуха
10 — Электромагнитный клапан стабилизации оборотов холостого хода (IAC)
11 — Электромагнитный клапан управления продувкой угольного адсорбера
12 — Топливный насос
13 — Клапан системы вентиляции картера (PCV)
14 — Воздушный фильтр
15 — Угольный адсорбер системы улавливания топливных испарений (EVAP)
16 — Главное реле
17 — Реле топливного насоса
18 — Топливный фильтр
19 — Передний каталитический преобразователь
20 — Задний каталитический преобразователь

21 — Вентилятор системы охлаждения
22 — Реле вентилятора системы охлаждения
23 — Датчик атмосферного давления
24 — Датчик детонации (KS)
25 — Докаталитический лямбда-зонд
26 — Посткаталитический лямбда-зонд
27 —Электромагнитный клапан подмешивания воздуха в инжекторы
28 — Компрессор системы кондиционирования воздуха (К/В)
29 — Датчик-выключатель разрешения запуска (только модели с АТ)
30 —Датчик-выключатель нейтрального положения трансмиссии (только модели с РКПП)
31 — Контрольная лампа отказов (MIL/«Проверьте двигатель»)
32 — Тахометр
33 — Реле К/В
34 — Модуль управления К/В
35 — Выключатель зажигания
36 — Модуль управления трансмиссией (TCM) (только модели с АТ)
37 — Датчик скорости движения автомобиля (VSS)
38 — Диагностический разъем линии данных (DLC)
39 — Клапан отсечки топлива
40 — Двухходовой клапан


Функциональная схема систем управления двигателем/снижения токсичности отработавших газов (модели 2.0 и 2.5 л, оборудованные OBD Subaru)

  Расшифровку аббревиатур см. на предыдущей иллюстрации


1 — ECM
2 — Модуль зажигания
3 — Датчик CMP
4 —Датчик CKP
5 — TPS
6 —Топливные инжекторы
7 — Регулятор давления
8 — Датчик ECT
9 —Клапан отсечки топлива
10 —Датчик температуры и давления всасываемого воздуха
11 — Датчик-выключатель давления ГУР
12 — Электромагнитный клапан IAC
13 —Электромагнитный клапан управления продувкой угольного адсорбера
14 — Топливный насос
15 — Клапан PCV
16 —Воздушный фильтр
17 — Угольный адсорбер EVAP
18 — Главное реле
19 —Реле топливного насоса
20 — Топливный фильтр

21 — Вентилятор системы охлаждения
22 — Реле вентилятора системы охлаждения
23 — KS
24 — Компрессор К/В
25 — Датчик-выключатель разрешения запуска (только модели с АТ)
26 —Датчик-выключатель нейтрального положения трансмиссии (только модели с РКПП)
27 — Контрольная лампа MIL/«Проверьте двигатель»
28 — Тахометр
29 — Реле К/В
30 — Модуль управления К/В
31 — Выключатель зажигания
32 —VSS
33 — DLC
34 — Датчик-выключатель давления жидкости ГУР
35 — Двухходовой клапан
36 — Лямбда-зонд (модели с каталитическим преобразователем)
37 —Передний каталитический преобразователь (при соответствующей комплектации)
38 — Задний каталитический преобразователь (при соответствующей комплектации)
39 —Нейтрализатор СО (только модели основной комплектации)
40 —TCM (только модели с АТ)


Функциональная схема систем управления двигателем/снижения токсичности отработавших газов (модели 3.0 л)

1 — ECM
2 — Модуль зажигания
3 — Датчик CKP
4 — Датчик CMP
5 — TPS
6 — Топливные инжекторы
7 — Регулятор давления
8 — Датчик ECT
9 — Датчик температуры всасываемого воздуха (IAT)
10 — Датчик давления во впускном трубопроводе (MAP)
11 — Электромагнитный клапан IAC
12 — Электромагнитный клапан управления продувкой угольного адсорбера
13 — Топливный насос
14 — Клапан PCV
15 — Воздушный фильтр
16 — Угольный адсорбер EVAP
17 — Главное реле
18 — Реле топливного насоса
19 — Топливный фильтр
20 — Левый передний каталитический преобразователь
21 — Правый передний каталитический преобразователь
22 — Задний каталитический преобразователь
23 — Вентилятор системы охлаждения
24 — Реле вентилятора системы охлаждения
25 — Левый KS

26 — Правый KS
27 — Левый докаталитический лямбда-зонд
28 — Правый докаталитический лямбда-зонд
29 — Посткаталитический лямбда-зонд
30 — Компрессор К/В
31 — Датчик-выключатель разрешения запуска
32 — Контрольная лампа MIL/«Проверьте двигатель»
33 — Тахометр
34 — Реле К/В
35 — Модуль управления К/В
36 — Выключатель зажигания
37 — VSS
38 — DLC
39 — TCM
40 — Датчик запаса топлива
41 — Двухходовой клапан
42 — Клапан отсечки топлива
43 — Индукционный клапан системы подмешивания воздуха
44 — Контрольный клапан
45 — Управляющий электромагнитный клапан системы подмешивания воздуха
46 — Вакуумный резервуар
47 — Клапан системы рециркуляции отработавших газов (EGR)
48 — Топливный демпфер
49 — Датчик атмосферного давления


Мониторинг состава воздушно-топливной смеси

1 — Передний каталитический преобразователь
2 — Отработавшие газы
3 — Докаталитический лямбда-зонд
4 — Топливный инжектор
5 — Камера сгорания
6 — ECM
А — Сигнал увеличения продолжительности открывания инжектора

В — Сигнал сокращения продолжительности открывания инжектора
С — Высокий уровень содержания кислорода в отработавших газах
D — Низкий уровень содержания кислорода в отработавших газах
Е — Сигнал переобедненной смеси
F — Сигнал переобогащенной смеси


  Более подробная информация по системам управления двигателем и снижения токсичности отработавших газов Вашего автомобиля может быть получена в представительском отделении или на фирменной станции техобслуживания Subaru.


С целью снижения уровня эмиссии в атмосферу токсичных составляющих, попадающих в состав отработавших газов двигателя в результате испарения и неполноты сгорания топлива, а также для поддержания эффективности отдачи двигателя и снижения расхода топлива, рассматриваемые в настоящем Руководстве автомобили оборудованы целым рядом специальных систем, которые можно объединить под общим названием систем управления двигателем и снижения токсичности отработавших газов. Комплектация систем зависит от года выпуска моделей и региона, на чей рынок автомобиль поставляется. Полная информация по типу и составу систем приведена на закрепленном под капотом информационном ярлыке VECI.

  Схема прокладки шлангов может быть приведена на отдельной шильде. Принцип функционирования систем управления двигателем/снижения токсичности отработавших газов представлен на иллюстрациях.


К числу систем, имеющих отношение к управлению работой двигателя и контролю за токсичностью отработавших газов, следует отнести следующие (в зависимости от комплектации):

a) Система зажигания (см. Главу Электрооборудование двигателя);
b) Система улавливания топливных испарений (EVAP);
c) Система рециркуляции отработавших газов (EGR) (модели 3.0 л);
d) Система управляемой вентиляции картера (PCV);
e) Каталитический преобразователь(и);
f) Кондуктор заливной горловины топливного бака (под заправочный пистолет колонок розлива неэтилированного бензина);
g) Система бортовой диагностики (OBD).

Функционирование всех перечисленных систем, так или иначе, непосредственно или косвенно, связано с управлением снижением токсичности отработавших газов. В приведенных ниже Разделах даются общие описания принципов функционирования каждой из систем, а также изложены процедуры диагностических проверок и восстановительного ремонта (если таковой представляется возможным) отдельных компонентов, выполнение которых лежит в пределах квалификации среднестатистического механика-любителя

Прежде чем прийти к заключению об отказе какой-либо из систем снижения токсичности, внимательно проверьте исправность функционирования систем питания и зажигания. Диагностика некоторых из узлов систем снижения токсичности требует использования специального сложного в применении оборудования и определенной квалификации исполнителя, а потому, ее выполнение разумно будет поручить профессиональным механикам специализированной станции техобслуживания. Сказанное выше не означает, что обслуживание и ремонт компонентов систем снижения токсичности на практике представляются трудновыполнимыми. Следует помнить, что одной из наиболее распространенных причин отказов является элементарное нарушение качества соединений вакуумных или электрических линий, а потому, в первую очередь всегда следует проверять состояние соответствующих электрических и штуцерных разъемов. Владелец автомобиля может самостоятельно и достаточно легко произвести целый ряд проверок, а также, выполнить в домашних условиях множество процедур текущего обслуживания большинства компонентов систем, пользуясь при этом обычным набором настроечного и слесарного инструмента.

  Не забывайте о дополнительных федеральных гарантийных обязательствах, под которые попадают компоненты систем снижения токсичности и управления работой двигателя. Прежде чем приступать к выполнению каких-либо процедур по ремонту узлов и деталей данных систем, проконсультируйтесь об условиях соблюдения этих обязательств в представительском отделении компании Subaru.


Старайтесь соблюдать все оговоренные в нижеследующих Разделах меры предосторожности при выполнении обслуживания электронных компонентов рассматриваемых систем. Следует заметить, что иллюстративный материал может не всегда в точности соответствовать реальному размещению компонентов на автомобиле. Такого рода несоответствия связаны с непрерывно происходящим процессом модификации в рамках типовой конструкции каждой модели.

Система управления двигателем

Модуль управления (ECM)

Общая информация

ECM представляет собой электронный модуль на базе микропроцессора, который на основе анализа поступающих от различных информационных датчиков сигналов осуществляет управление функционированием систем впрыска, зажигания и снижения токсичности отработавших газов.

В число выполняемых ECM задач входят:

a) Управление параметрами впрыска топлива;
b) Управление параметрами зажигания;
c) Управление функционированием системы стабилизации оборотов холостого хода (IAC);
d) Управление функционированием системы EVAP;
e) Управление функционированием вентилятора системы охлаждения;
f) Управление функционированием топливного насоса;
g) Управление функционированием системы EGR (модели 3.0 л);
h) Самодиагностика;
i) Активация аварийных параметров вышедших из строя подсистем.

Когда ECM вырабатывает выходные сигналы фиксированного уровня без учета сигналов, поступающих от лямбда-зонда(ов), говорят, что система управления функционирует в режиме «открытого контура», т.е., без обратной связи. Если же модуль начинает обрабатывать выдаваемую кислородным датчиком(ами) информацию, то режим становится «замкнутым», что позволяет ECM корректировать параметры впрыска и зажигания с учетом текущих эксплуатационных характеристик двигателя (обороты, нагрузка, температура, и пр.).

В память модуля заложены аварийные значения (значения по умолчанию) основных рабочих параметров всех подсистем управления. Данные параметры активируются в случае выявления отказа соответствующей подсистемы, обеспечивая адекватность функционирования двигателя (с неизбежной потерей эффективности отдачи).

Отказ любого подлежащего мониторингу со стороны блока самодиагностики компонента фиксируется в памяти модуля в виде соответствующего пятизначного кода (DTC), считывание которого может быть произведено при помощи специального сканера (см. Раздел Система бортовой самодиагностики (OBD) - общая информация).

Подача топлива и компоновка воздушно-топливной смеси

Отслеживая и анализируя поступающие от соответствующих информационных датчиков данные, ECM определяет необходимые параметры подачи топлива (количество и моменты впрыска). Модуль осуществляет непрерывный последовательный контроль впрыска при любых условиях эксплуатации двигателя, кроме моментов прогрева при запуске.

Количество впрыскиваемого в двигатель топлива определяется продолжительностью открывания игольчатых клапанов инжекторов.

Момент впрыска вычисляется с учетом максимальной эффективности подачи воздуха в каждый из цилиндров двигателя (топливо впрыскивается непосредственно перед моментом начала открывания впускного клапана).

Продолжительность впрыска

Во время прогрева двигателя при запуске продолжительность открывания инжекторов определяется датчиком ECM в соответствии с изменением температуры охлаждающей жидкости. После того, как двигатель прогреется до нормальной рабочей температуры, включается следующая схема определения продолжительности впрыска: «Базовое значение х Корректировочные параметры + Переменная компенсации изменения уровня напряжения». При этом базовое значение продолжительности открывания инжектора определяется двумя основными факторами: количеством подаваемого в двигатель воздуха (по сигналам датчика давления в трубопроводе) и текущей частотой вращения двигателя (по сигналам датчика CKP). Корректировочные параметры рассмотрены ниже. Компенсационная переменная призвана компенсировать временные задержки срабатывания инжекторов, связанные с вариациями напряжения аккумуляторной батареи.

Организация перечисленных ниже корректировок позволяет своевременно корректировать базовое значение продолжительности открывания инжекторов с целью поддержания оптимального качества воздушно-топливной смеси при любых параметрах функционирования двигателя.

· Корректировка состава воздушно-топливной смеси по сигналам докаталитического лямбда-зонда. На оборудованных каталитическим преобразователем моделях выдаваемая докаталитическим лямбда-зондом информация об уровне содержания в отработавших газах кислорода позволяет ECM своевременно корректировать дозировку подачи топлива с целью предотвращения заметных отклонений качества горючей смеси от стехиометрического значения;
· Стартовая корректировка состава смеси. В момент проворачивания коленчатого вала при запуске продолжительность открывания инжекторов принудительно увеличивается с целью поддержания стабильности оборотов двигателя;
· Корректировка состава смеси в ходе прогрева двигателя. Данная корректировка (чем ниже температура охлаждающей жидкости, тем больше продолжительность впрыска) осуществляется на основании данных, выдаваемых датчиком ECT, и используется ECM для стабилизации оборотов двигателя в ходе его прогрева;
· Постстартовая корректировка. Данная корректировка позволяет стабилизировать обороты двигателя в момент непосредственно после осуществления его запуска (учитывается также информация о температуре охлаждающей жидкости, поставляемая датчиком ECT);
· Корректировка состава смеси при полном открывании дроссельной заслонки. При полном открывании дроссельной заслонки продолжительность времени открывания инжекторов увеличивается в соответствии с информацией, поступающей от TPS и датчика давления во впускном трубопроводе;
· Корректировка состава смеси во время акселерации. Данная корректировка призвана компенсировать временную задержку определения количества всасываемого воздуха с целью повышения чувствительности двигателя на манипуляции педалью газа во время акселерации.

На рассматриваемых моделях корректировка состава воздушно-топливной смеси по сигналам докаталитического лямбда-зонда организована интеллектуально. Суть сказанного заключена в следующем: в ходе управления составом смеси ECM на основании анализа поступающей от кислородного датчика информации вычисляет корректирующую переменную, которая затем добавляется к заложенному в память процессора (соответствующему текущим оборотам двигателя) базовому значению продолжительности времени открывания инжекторов, при этом чувствительность и реактивность системы тем ниже, чем заметнее величина требуемой временной добавки. Интеллектуальная организация процесса позволяет обойти данную ситуацию за счет непрерывной корректировки базового значения путем прибавления к нему последней корректирующей добавки и сохранения суммарного значения в оперативной памяти процессора, таким образом, величина очередной корректировки существенно сокращается, а эффективность функционирования системы увеличивается.

Воспламенение горючей смеси

Схема управления параметрами зажигания на моделях 2.0 и 2.5 л

1 — Номер цилиндра
2 —Импульс угла поворота коленчатого вала (перед ВМТ)
3 — Импульс угла поворота распределительного вала (после ВМТ)
4 — Установка угла опережения зажигания при запуске двигателя

5 — Угол опережения зажигания при нормальной работе двигателя
6 — Сгорание смеси
7 — Установка скважности
8 — Поджиг

Схема управления параметрами зажигания на моделях 3.0 л

1 — Номер цилиндра (ВМТ)
2 — Импульс угла поворота коленчатого вала (перед ВМТ)

3 — Импульс угла поворота распределительного вала (после ВМТ)
4 — Установка угла опережения зажигания при запуске двигателя


ECM непрерывно отслеживает текущее рабочее состояние двигателя по сигналам, поступающим от датчиков давления, температуры охлаждающей жидкости, температуры всасываемого воздуха положения коленчатого вала и пр. На основании анализа получаемой информации ECM подбирает оптимальный (из заложенных в память процессора) момент зажигания, в который и выдает на модуль зажигания сигнал прерывания первичного контура.

 

При управлении зажиганием также используется интеллектуальная функция (функция быстрого распознавания), в которой записанные в память ECM данные сравниваются с информацией, поступающей от информационных датчиков и датчиков-выключателей. Так, при выборе момента зажигания для любых условий функционирования двигателя ECM обрабатывает информацию о выходной мощности силового агрегата, расходе топлива, составе отработавших газов и пр. Во время запуска двигателя всегда имеют место флуктуации его оборотов, ввиду чего модуль управления не способен адекватно контролировать угол опережения зажигания, поэтому на данный период угол принудительно выставляется на 10° перед ВМТ по специальному сигналу «10°» датчика CKP.

После осуществления запуска двигателя ECM в диапазоне сигналов CKP между 97° и 65°отслеживает текущие обороты двигателя и на основании анализа получаемой информации выставляет угол опережения и скважность импульса зажигания соответствующими текущим потребностям двигателя.

Управление оборотами холостого хода

ECM обеспечивает стабильность оборотов холостого хода двигателя путем активации пластинчатого электромагнитного клапана IAC управляющего перепусканием дополнительного воздуха в обход корпуса дросселя. В качестве исходной информации ECM использует данные поставляемые датчиками положения коленчатого вала (CKP), температуры охлаждающей жидкости (ECT), давления, а также датчика-выключателя активации кондиционера воздуха, что позволяет осуществлять полный контроль за оборотами двигателя при любой текущей нагрузке.В качестве управляющего элемента клапана IAC используется электромагнит, реагирующий на уровень скважности управляющего периодического сигнала. Чем выше коэффициент заполнения сигнала, выдаваемого модулем управления на электромагнит, тем большую степень открывания поворотной заслонки обеспечивает последний. Расход же дополнительного воздуха прямо пропорционален степени открывания заслонки и оказывает непосредственное влияние на частоту вращения двигателя.

 

Основными задачами устройства является компенсация повышения нагрузки на двигатель при активации К/В или другого энергоемкого потребителя электроэнергии, повышение оборотов холостого хода двигателя в начальный период его прогрева, обеспечение буферного эффекта при быстром закрывании дроссельной заслонки, а также повышение стабильности оборотов двигателя на холостом ходу.

Управление функционированием топливного насоса

Опираясь на информацию, поставляемую датчиком положения распределительного вала (CMP), ECM обеспечивает управление функционирование топливного насоса путем включения/выключения его реле. С целью повышения уровня безопасности топливный насос автоматически блокируется при самопроизвольных остановах двигателя при включенном зажигании. Принцип организации управления сформулирован в приведенной выше таблице.

Системы снижения токсичности отработавших газов

Система вентиляции картера (PCV)

Принцип функционирования системы вентиляции картера (PCV) на примере 6-цилиндрового двигателя

1 — Воздушная камера
2 — Корпус дросселя
3 — Соединительный шланг
4 — Клапан PCV
5 — Крышка правой головки цилиндров
6 — Картер двигателя
7 — Крышка левой головки цилиндров

8 — Пружина
9 — Клапан
А — К впускному трубопроводу
В — Картерные газы

Система PCV служит для снижения эмиссии в атмосферу углеводородных соединений за счет вывода из двигателя картерных газов.

К числу основных компонентов системы относятся клапан PCV, герметично закрываемая крышка заливной горловины двигательного масла, воздухозаборник и комплект соединительных вакуумных шлангов.

При неполном открывании дроссельной заслонки, содержащиеся в двигателе картерные газы, по специальному шлангу через клапан PCV отводятся во впускной трубопровод за счет значительности глубины создаваемого в нем разрежения. Одновременно в картер двигателя по подсоединенному к крышке головки цилиндров шлангу запускается свежий воздух.

При полностью открытой заслонке, когда глубина во впускном трубопроводе не очень велика, часть картерных газов по отдельному шлангу переправляется во впускной воздушный тракт и далее - в корпус дросселя.

  Со временем стенки корпуса дросселя начинают покрываться смолянистыми отложениями, в особенности в районе расположения дроссельной заслонки. Ввиду сказанного, следует время от времени производить чистку корпуса дросселя.

Трехфункциональный каталитический преобразователь (TWC)

  Каталитический преобразователь может не входить в стандартную комплектацию моделей 2.0 и 2.5 л, оборудованных OBD Subaru.

Каталитический преобразователь(и) является компонентом систем снижения токсичности отработавших газов, включен в состав системы выпуска и служит для снижения эмиссии в атмосферу токсичных составляющих. Существует два типа каталитических преобразователей. Обычный окислительный преобразователь позволяет снизить содержание в отработавших газах углеводородов (НС) и монооксида углерода (СО). Трехфункциональный каталитический преобразователь (TWC) дополнительно позволяет сократить эмиссию оксидов азота (NОХ). На всех рассматриваемых в настоящем Руководстве моделях используются трехфункциональные каталитические преобразователи.

Базовыми составляющими катализатора являются платина (Pt), родий (Rh) и палладиум (Pd), смесь которых тонким слоем нанесена на имеющую форму овала сотовую конструкцию, либо пористую керамическую основу.

  Во избежание необратимого выхода катализатора из строя для заправки оборудованных каталитическим преобразователем моделей следует использовать исключительно неэтилированное топливо!

Максимальная эффективность функционирования катализатора достигается при определенной концентрации в отработавших газах токсичных составляющих. Требуемый баланс достигается за счет контроля состава воздушно-топливной смеси, который система управления старается постоянно поддерживать вблизи значения, равного стехиометрическому числу, - см. следующий подраздел.

Система управления качеством воздушно-топливной смеси

  На моделях 2.0 и 2.5 л, оборудованных OBD Subaru, данная система устанавливается только в комплекте с каталитическим преобразователем.

Система на основании сигналов, непрерывно поступающих докаталитического лямбда-зонда(ов), производит соответствующие корректировки базового значения продолжительности открывания инжекторов с целью поддержания качества воздушно-топливной смеси вблизи стехиометрического значения (14.7 частей воздуха на 1 часть топлива), обеспечивающего оптимальные условия для функционирования трехфункционального каталитического преобразователя (TWC).

  Различные базовые значения времени открывания инжекторов предусмотрены для различных оборотов двигателя, текущих нагрузок и количества всасываемого воздуха.

В системе также предусмотрена интеллектуальная корректировка текущих базовых значений, позволяющая в значительной мере повысить реактивность откликов на происходящие изменения.

Система управления зажиганием

Управление функционированием системы зажигания осуществляет также ECM, опираясь на данные, поступающие от различных информационных датчиков и датчиков-выключателей. Схема функционирования системы управления зажиганием различных двигателей представлена на иллюстрациях.

Схема функционирования системы управления зажиганием 4-цилиндрового двигателя

1 — Аккумуляторная батарея
2 — Выключатель зажигания
3 — ECM
4 — Датчик положения распределительного вала (CMP)
5 — Датчик детонации (KS)

6 — Датчик температуры и давления всасываемого воздуха
7 — Датчик температуры охлаждающей жидкости (ECT)
8 — Свеча зажигания
9 — Модуль зажигания
10 — Датчик положения коленчатого вала (CKP)


Схема функционирования системы управления зажиганием 6-цилиндрового двигателя

1 — ECM
2 — Катушка зажигания 1-го цилиндра
3 — Катушка зажигания 3-го цилиндра
4 — Катушка зажигания 5-го цилиндра
5 — Датчик CMP
6 — Датчик давления
7 —Датчик температуры всасываемого воздуха (IAT)
8 —Датчик CKP

9 — Датчик положения дроссельной заслонки (TPS)
10 — Катушка зажигания 6-го цилиндра
11 — Катушка зажигания 4-го цилиндра
12 —Катушка зажигания 2-го цилиндра
13 — Датчик ECT
14 —Левый KS
15 —Правый KS

Принцип функционирования системы EGR

1 — Клапан EGR
2 — ECM
3 — Впускной трубопровод

4 — Выпускной порт
5 — Левая головка цилиндров


Схема функционирования системы улавливания топливных испарений (EVAP) на моделях 2.0 и 2.5 л (на моделях 3.0 л схема организована аналогично)

1 — Впускной трубопровод
2 — Корпус дросселя
3 — Электромагнитный клапан управления продувкой адсорбера
4 — ECM

5 — Угольный адсорбер
6 — Топливный бак
7 — Клапан отсечки топлива (запорный клапан)
8 — Двухходовой клапан

На основании анализа поступающей информации ECM вычисляет оптимальные значения угла опережения и скважности управляющих импульсов зажигания для любых текущих рабочих параметров двигателя. В своей работе ECM использует программную карту управления по замкнутому контуру, обеспечивающую великолепную реактивность откликов на любые изменения входящих данных.

Система рециркуляции отработавших газов (EGR) - только модели 3.0 л

Система рециркуляции отработавших газов (EGR) служит для минимизации выброса в атмосферу оксидов азота (NOX). Решение поставленной задачи достигается путем снижения температуры сгорания горючей смеси за счет подмешивания к ней определенного количества отработавших газов двигателя. На соответствующим образом оборудованных моделях организован управляемый ECM контур рециркуляции отработавших газов во впускной трубопровод.

Система улавливания топливных испарений (EVAP)


Общая информация

Система EVAP аккумулирует скапливающиеся в топливном тракте за время стоянки автомобиля испарения и обеспечивает вывод их во впускной тракт для сжигания в процессе нормального функционирования двигателя , предотвращая тем самым загрязнение атмосферы бензиновыми парами. Усовершенствование системы производится непрерывно по мере ужесточения требований предъявляемых к защите окружающей среды.

В состав системы входят заполненный активированным углем адсорбер, электромагнитный клапан управления продувкой адсорбера, клапан отсечки топлива (запорный клапан), двухходовой клапан и соединительные линии.

Скапливающиеся в баке топливные испарения выводятся в угольный адсорбер по испарительным линиям. Запорный клапан встроен в топливные линии.

Управление функционированием клапана продувки адсорбера осуществляет ECM, выбирая наиболее оптимальный для продувки момент, исходя из рабочих параметров двигателя, а также информации, поставляемой датчиками температуры и расхода топлива.

Электромагнитный клапан управления давлением включен в испарительную линию топливного бака и служит для контроля давления/разрежения в баке на основании сигналов, выдаваемых на ECM установленным в баке датчиком давления.

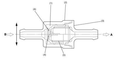
Клапан отсечки топлива (запорный клапан)

Конструкция запорного топливного клапана

1 — К угольному адсорберу
В — Клапан открыт

С — Клапан закрыт


Конструкция предохранительного клапана (А) крышки заливной горловины топливного бака

1 — Уплотнитель
2 — Пружина

3 — Клапан


Конструкция угольного адсорбера, используемого на моделях с OBD II

1 — Фильтр
2 — Активированный уголь
3 — Пружина
А — К электромагнитному клапану управления продувкой

В — От топливного бака
С — Воздух


Конструкция угольного адсорбера, используемого на моделях 2.0 и 2.5 л с OBD Subaru

1 — Фильтр
2 — Активированный уголь
А — К электромагнитному клапану управления продувкой

В — От топливного бака
С — Воздух


Конструкция электромагнитного клапана продувки адсорбера на моделях 2.0 и 2.5 л

1 — К адсорберу

В — К впускному трубопроводу/корпусу дросселя


Конструкция электромагнитного клапана продувки адсорбера на моделях 3.0 л

1 — К адсорберу

В — К корпусу дросселя


Конструкция двухходового клапана, устанавливаемого на моделях с OBD II

1 — Клапан
А — Атмосферное давление

В — К угольному адсорберу
С — От топливного бака


Конструкция двухходового клапана, устанавливаемого на моделях с OBD Subaru (модели 2.0 и 2.5 л)

1 — Клапан
2 — Корпус
3 — Крышка
4 — Клапан давления

5 — Пружина
А — К угольному адсорберу
В — От топливного бака

Запорный клапан встроен непосредственно в испарительную трубку крышки топливного бака. Подъем уровня топлива в баке приводит к запиранию отверстия в крышке, оставляя ему единственный выход через испарительную трубку в угольный адсорбер.

Крышка заливной горловины топливного бака

Встроенный в крышку заливной горловины предохранительный клапан служит для предотвращения образования в баке чрезмерно глубокого разрежения вследствие нарушения проходимости испарительных линий.

В нормальных условиях крышка закрывает горловину абсолютно герметично за счет резинового уплотнения, прижимаемого по всему периметру горловины, а также благодаря тому, что клапан (А) остается плотно прижатым пружиной к своему седлу.

При возрастании глубины разрежения в баке атмосферное давление отжимает пружину вниз, что приводит к открыванию клапана. В результате давление выравнивается за счет того, что внутрь бака проникает наружный воздух.

Угольный адсорбер

Угольный адсорбер заполнен активированным углем и служит для временной аккумуляции топливных испарений и продувается по сигналу ECM при открывании специального электромагнитного клапана (см. ниже). Из адсорбера топливные испарения поступают во впускной трубопровод, после чего сжигаются в процессе нормального функционирования двигателя. Конструкция угольного адсорбера представлена на иллюстрациях.

Электромагнитный клапан управления продувкой угольного адсорбера

Клапан включен в испарительную линию, соединяющую адсорбер с впускным трубопроводом (модели 2.0 и 2.5 л с OBD II)/корпусом дросселя (модели 2.0 л и 2.5 с OBD Subaru и модели 3.0 л) и расположен с нижней стороны трубопровода. Управление продувкой осуществляет ECM, опираясь на данные о текущих эксплуатационных параметрах (температура охлаждающей жидкости, обороты двигателя, скорость движения, и т.п.). Продувка производится при запущенном двигателе, за исключением определенных условий, таких, например, как работа на холостых оборотах. Конструкция клапана показана на иллюстрациях.

Двухходовой клапан

Двухходовой клапан включен в испарительную линию, соединяющую угольный адсорбер с топливным баком. Конструкция клапана показана на иллюстрациях. Когда давление в баке превышает некоторое установленное значение, развиваемое пружиной усилие, преодолевается и клапан открывается, при этом находящиеся в баке под давлением испарения отводятся в адсорбер, где аккумулируются в порах наполнителя.

При опускании давления клапан закрывается, однако воздух, проникающий в систему через входной порт адсорбера, продолжает проникать в бак через маленькое отверстие в торце клапана, предотвращая образование чрезмерного разрежения.

Вакуумный тракт

Схема прокладки вакуумных линий представлена на иллюстрациях.

  Подробная схема прокладки вакуумных линий представлена на ярлыке VECI каждого автомобиля, - в случае разночтений предпочтение следует отдавать информации VECI.


Схема прокладки вакуумных линий на моделях 2.0 и 2.5 л, оборудованных системой бортовой диагностики OBD II

1 — Регулятор давления
2 — Корпус дросселя
3 — Электромагнитный клапан управления продувкой адсорбера
4 — Электромагнитный клапан подмешивания воздуха к инжекторам
А — Шланги

В — Трубки
С — К угольному адсорберу
D — Направление вперед по автомобилю


Схема прокладки вакуумных линий на моделях 2.0 и 2.5 л, оборудованных OBD Subaru

1 — Регулятор давления
2 — Корпус дросселя
3 —Электромагнитный клапан управления продувкой адсорбера
А — Шланги

В — Трубки
С —К угольному адсорберу
D — Направление вперед по автомобилю


Схема прокладки вакуумных линий на моделях 3.0 л (OBD II)

1 — Корпус дросселя
2 — Регулятор давления
3 — Индукционный клапан системы подмешивания воздуха
4 — Электромагнитный клапан управления продувкой адсорбера
5 — Контрольный клапан

6 — Управляющий электромагнитный клапан системы подмешивания воздуха
А — Шланги
B — Трубки
С — К топливному баку


« предыдущая страница
6.2.18. Снятие и установка компонентов системы впрыска топлива
^
к оглавлению
следующая страница »
6.3.1. ЕСМ - проверка исправности состояния и замена

Copyright © 2026 Все права защищены. Все торговые марки являются собственностью их владельцев.