поиск в избранное карта сайта
  Subaru РЕМОНТ ОБСЛУЖИВАНИЕ ЭКСПЛУАТАЦИЯ АВТОМОБИЛЕЙ
Субару Легаси, Аутбэк. Subaru Legacy / Outback (с 1999 по 2003 год выпуска)

полные технические характеристики. диагностика. электросхемы
 
Главная
 
Subaru
Legacy / Outback (1999)
1. Введение
2. Руководство по эксплуатации
3. Текущее обслуживание
4. Двигатель
5. Системы охлаждения, отопления
6. Системы питания и выпуска
6.1. Спецификации
6.2. Система впрыска топлива
6.2.1. Сбрасывание давления в системе питания
6.2.2. Опорожнение топливного бака
6.2.3. Проверка состояния и замена топливных линий и их штуцерных соединений
6.2.4. Обслуживание компонентов впускного воздушного тракта
6.2.5. Снятие и установка корпуса дросселя
6.2.6. Обслуживание компонентов привода дроссельной заслонки
6.2.7. Снятие, обслуживание и установка впускного трубопровода
6.2.8. Обслуживание топливного насоса
6.2.9. Снятие и установка главного реле MFI
6.2.10. Снятие и установка реле топливного насоса
6.2.11. Снятие и установка датчика запаса топлива
6.2.12. Снятие и установка датчика уровня топлива в дополнительной камере топливного бака
6.2.13. Снятие, проверка и установка топливного фильтра
6.2.14. Снятие и установка запорного клапана отсечки топлива
6.2.15. Снятие и установка демпфирующих топливных клапанов
6.2.16. Снятие и установка топливного бака
6.2.17. Снятие и установка заливной горловины топливного бака
6.2.18. Снятие и установка компонентов системы впрыска топлива
6.3. Системы управления двигателем и снижения токсичности отработавших газов
6.4. Система выпуска отработавших газов
7. Электрооборудование двигателя
8. Ручная коробка и дифференциал
9. Автоматическая трансмиссия
10. Сцепление
11. Тормозная система
12. Подвеска и рулевое управление
13. Кузов
14. Бортовое электрооборудование
 


6.2. Система впрыска топлива

Общая информация и меры предосторожности

Конструкция впускного воздушного тракта 4-цилиндровых моделей (2.0 и 2.5 л)

1 — Рукав воздухозаборника
2 — Резонаторная камера
3 — Воздухоочиститель

4 — Фильтрующий элемент
а: Свежий воздух
b: К корпусу дросселя


Конструкция впускного воздушного тракта 6-цилиндровых моделей (3.0 л)

1 — Рукав воздухозаборника
2 — Резонаторная камера
3 — Воздухоочиститель
4 — Фильтрующий элемент

5 — Воздуховод
а: Свежий воздух
b: К корпусу дросселя


Конструкция сборки датчиков MAP и IAT (4-цилиндровые двигатели)

1 — Датчик MAP

2 — Датчик IAT


Конструкция датчика атмосферного давления (только модели 2.0 и 2.5 л с OBD II)

1 — Датчик
2 — Уплотнительное кольцо
3 — Кожух
4 — Трубка
5 — Проходной объем
6 — Клемма

7 — Внутренний провод
8 — Компаунд
9 — Металлическая крышка


Исполнительный рычаг TPS механически соединен с осью дроссельной заслонки

1 — Рычаг

2 — Клемма


Конструкция клапана IAC, используемого на 4-цилиндровых двигателях

1 — Разъем
2 — Постоянный магнит
3 — Шток

4 — Обмотка
5 — Пружина


Конструкция электромагнитного клапана подкачки воздуха к инжекторам воздуха (только модели 2.0 и 2.5 л с OBD II)

1 — Седло клапана
2 — Электромагнитная сборка
3 — Плунжерная сборка
4 — Пружина

5 — Разъем
А: От клапана IAC
В: К инжектору


Принцип управления пульсациями давления во впускном трубопроводе

1 — Индукционная заслонка (закрыта)
2 — Индукционная заслонка (открыта)

А: От воздухоочистителя


Функциональная схема системы подачи топлива 4-цилиндрового двигателя

1 — Электромагнитный клапан продувки угольного адсорбера
2 — Регулятор давления топлива
3 — Топливный инжектор
4 — Корпус дросселя
5 — Впускной трубопровод
6 — Двухходовой клапан
7 — Угольный адсорбер
8 — Крышка заливной горловины топливного бака
9 — Заливная горловина

10 — Вентиляционная трубка
11 — Топливный фильтр
12 — Насос подкачки
13 — Топливный насос
14 — Клапан отсечки топлива (запорный клапан)
15 — Топливный бак
16 — Возвратная линия
17 — Линия подачи топлива
18 — Линия отвода топливных испарений


Функциональная схема системы подачи топлива 6-цилиндрового двигателя

1 — Электромагнитный клапан продувки угольного адсорбера
2 — Регулятор давления топлива
3 — Топливный инжектор
4 — Демпферный клапан
5 — Корпус дросселя
6 — Впускной трубопровод
7 — Двухходовой клапан
8 — Угольный адсорбер
9 — Крышка заливной горловины топливного бака
10 — Заливная горловина

11 — Вентиляционная трубка
12 — Топливный фильтр
13 — Насос подкачки
14 — Топливный насос
15 — Клапан отсечки топлива (запорный клапан)
16 — Топливный бак
17 — ЕСМ
а: Топливные линии
b: Линии отвода топливных испарений


Конструкция регулятора давления топлива

1 — Редукционный клапан
2 — Диафрагма
А: К впускному трубопроводу

В: Вход топлива
С: Выход топлива


Конструкция топливного инжектора, используемого на моделях 2.0 и 2.5 л, оборудованных системой бортовой самодиагностики OBD II

1 — Фильтр
2 — Уплотнительное кольцо
3 — Плунжер

4 — Уплотнитель
5 — Уплотнительное кольцо
6 — Разъем


Конструкция топливного инжектора, используемого на моделях 2.0 и 2.5 л, оборудованных фирменной системой бортовой самодиагностики Subaru

1 — Фильтр
2 — Уплотнительное кольцо

3 — Разъем


Конструкция топливного инжектора, используемого на моделях 3.0 л

1 — Уплотнительное кольцо
2 — Фильтр
3 — Плунжер

4 — Уплотнитель
5 — Уплотнительное кольцо
6 — Разъем


Конструкция топливного бака

1 — Сборка топливного насоса и датчика запаса топлива
2 — Нейлоновая трубка
3 — Клапан отсечки топлива (дополнительная камера)

4 — Датчик уровня топлива (дополнительная камера)
5 — Разъем быстрого сочленения
6 — Клапан отсечки топлива (основная камера)


Крепление топливного бака осуществлено посредством двух подбитых подушками металлических монтажных лент

1 — Монтажная лента
2 — Подушка

3 — Стальная лента


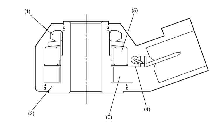
Конструкция сборки топливного насоса

1 — Датчик запаса топлива
2 — Насосная сборка
3 — Крышка насоса
4 — Насос подкачки
5 — Фильтр патронного типа
6 — Сетчатый фильтр
7 — Кожух насосной сборки
8 — Топливный канал
9 — Ротор
10 — Якорь электромотора

11 — Контрольный клапан
А: В линию подачи топлива двигателя
В: Из возвратной топливной линии
С: Из дополнительной камеры топливного бака
D: Вход
Е: Сброс


Конструкция и принцип функционирования насоса подкачки

1 — Насос подкачки
2 — Предохранительный клапан
3 — Глушитель
4 — Сопло

А: Возвратная линия
В: Из дополнительной камеры топливного бака


Конструкция датчика уровня топлива в дополнительной камере бензобака

1 — Датчик
2 — Поплавок

3 — К насосу подкачки


Конструкция докаталитического лямбда-зонда, применяемого на 4-цилиндровых моделях (с OBD II)

1 — Чувствительный элемент
2 — Корпус датчика

3 — Защитная трубка
4 — Уплотнительная прокладка


Конструкция докаталитического лямбда-зонда, применяемого на 6-цилиндровых моделях

1 — Уплотнительная прокладка
2 — Керамический нагревательный элемент

3 — Корпус датчика
4 — Защитная трубка


Конструкция посткаталитического лямбда-зонда 4-цилиндровых моделей

1 — Циркониевая трубка
2 — Керамический нагревательный элемент
3 — Защитная трубка

4 — Жгут электропроводки
5 — Корпус
6 — Уплотнительная прокладка


Конструкция посткаталитического лямбда-зонда 6-цилиндровых моделей

1 — Циркониевая трубка
2 — Уплотнительная прокладка
3 — Керамический нагревательный элемент

4 — Жгут электропроводки
5 — Защитная трубка
6 — Корпус


Конструкция и принцип функционирования датчика ECT

1 — Контактный разъем

2 — Чувствительный элемент


Конструкция датчика CKP 4-цилиндрового двигателя

1 — Клемма
2 — Обойма
3 — Магнит

4 — Обмотка
5 — Сердечник
6 — Крышка


Принцип функционирования датчика CKP 4-цилиндровых двигателей

1 — Датчик CKP
2 — Роторная пластина

А Половина оборота коленчатого вала


Принцип функционирования датчика CKP 6-цилиндровых двигателей

1 — Роторная пластина

2 — Половина оборота коленчатого вала


Принцип функционирования датчика CMP 4-цилиндровых двигателей

1 — Сигнальные выступы
2 — Зубчатое колесо распределительного вала
3 — Воздушный зазор
4 — Датчик CMP

А Один оборот распределительного вала (два оборота коленчатого вала)
В Сигнал идентификации фаз газораспределения в цилиндрах


Принцип функционирования датчика CMP 6-цилиндровых двигателей

1 — Паз
2 — Пластина распределительного вала

3 — Опорная точка
4 — Один оборот распределительного вала (два оборота коленчатого вала)


Конструкция датчика KS 4-цилиндровых двигателей

1 — Гайка
2 — Грузик
3 — Резистор
4 — Корпус

5 — Пьезоэлемент
А — К жгуту электропроводки


Конструкция датчика KS 4-цилиндровых двигателей

1 — Гайка
2 — Корпус

3 — Пьезоэлемент
4 — Резистор


Принцип функционирования датчика VSS на моделях с РКПП

1 — Комбинация приборов
2 — ECM

3 — VSS
4 — Трансмиссия


Принцип функционирования датчика VSS на моделях с АТ

1 — Комбинация приборов
2 — ECM
3 — TCM

4 — VSS
5 — Трансмиссия


Общая информация

Все рассматриваемые в настоящем Руководстве модели оборудованы электронной системой распределенного (MFI) впрыска топлива. За счет использования в системе управления новейших технологических решений MFI обеспечивает оптимизацию компоновки воздушно-топливной смеси в любых условиях эксплуатации двигателя.

Топливо в системе питания находится под постоянным давлением и через инжекторы впрыскивается во впускные порты каждого из цилиндров двигателя. Дозировка подачи топлива осуществляется путем управления временем открывания электромагнитных клапанов инжекторов в соответствии с количеством нагнетаемого в двигатель воздуха, определяемым конкретными условиями функционирования. Продолжительность открывания инжекторов определяется параметрами формируемых модулем управления (ECM) электрических импульсов, что позволяет осуществлять весьма точную дозировку воздушно-топливной смеси.

ECM определяет необходимую длину управляющих импульсов на основании анализа непрерывно поступающих от информационных датчиков данных о скорости движения автомобиля, положении дроссельной заслонки, температуре охлаждающей жидкости и пр.

Помимо перечисленных функций система MFI осуществляет также контроль токсичности отработавших газов, оптимизацию соотношения расхода топлива и отдачи двигателя, контроль функционирования педалей газа и тормоза, а также обеспечивает адекватные стартовые параметры и прогрев двигателя в холодную погоду, исходя из данных о температурах охлаждающей жидкости и всасываемого воздуха.

Система подачи воздуха


Общие сведения

Прогоняемый через воздухоочиститель воздух поступает в корпус дросселя, откуда, в определяемом положением дроссельной заслонки количестве по впускному трубопроводу подается к впускным портам цилиндров двигателя, где смешивается с впрыскиваемым через инжекторы топливом, формируя горючую смесь. Стабильность оборотов холостого хода обеспечивается за счет пропускания части воздушной массы в обход корпуса дросселя непосредственно во впускной трубопровод. Контроль количества дополнительного воздуха осуществляется ECM посредством управления функционированием специального перепускного клапана.

Впускной воздушный тракт

Впускной воздушный тракт 4-цилиндрового двигателя состоит из воздухозаборного рукава, резонаторной камеры и сборки воздухоочистителя. Резонатор помещается выше воздухоочистителя по потоку и эффективно способствует снижению уровня шумового фона, возникающего при всасывании воздуха в двигатель.

На 6-цилиндровых моделях в состав впускного воздушного тракта включено два резонатора, установленных один выше воздухоочистителя по потоку, другой ниже.

Датчики давления во впускном трубопроводе (MAP) и температуры всасываемого воздуха (IAT)

На моделях 2.0 и 2.5 л, оборудованных 4-цилиндровыми двигателями, датчики MAP и IAT объединены в единую сборку, устанавливаемую на сборке впускного трубопровода. Датчик MAP служит для измерения абсолютного значения давления в трубопроводе, датчик IAT – для измерения температуры всасываемого в двигатель воздуха. Отслеживаемые датчиками параметры преобразуются в электрические сигналы и передаются на ECM, осуществляющий управление компоновкой воздушно-топливной смеси, а также моментами впрыска и воспламенения.

На моделях 3.0 л с 6-цилиндровым двигателем датчик MAP устанавливается сверху на корпусе дросселя. И непрерывно выдает на ECM сигнальное напряжение, величина которого пропорциональна величине абсолютного значения давления во впускном трубопроводе. На основании анализа поступающей от датчика MAP информации (в купе с данными, поставляемыми прочими датчиками) ECM определяет моменты впрыска топлива и воспламенения воздушно-топливной смеси. Датчик IAT закреплен на корпусе воздухоочистителя и отслеживает температуру проходящего по воздуховоду воздушного потока. В основу конструкции датчика положен термистор, сопротивление которого обратно пропорционально температуре чувствительного элемента. ECM использует поступающую от датчика информацию при корректировке состава воздушно-топливной смеси.

 

 


Датчик атмосферного давления, - только модели 2.0 и 2.5 л с OBD II

Датчик используется только на 4-цилиндровых моделях 2.0 и 2.5 л, оборудованных системой бортовой самодиагностики OBD II, и снабжает ECM информацией о давлении атмосферного воздуха. Конструкция датчика представлена на иллюстрации.

Корпус дросселя


Помещенная в корпус дросселя заслонка управляется от педали газа, в соответствии с положением которой в большей или меньшей степени перекрывает проходное дроссельное отверстие, что позволяет регулировать расход поступающего в камеры сгорания двигателя воздуха. На холостых оборотах, когда педаль газа полностью отпущена, заслонка практически полностью перекрывает дроссель и основная масса воздуха (более половины) поступает во впускной трубопровод через специальный электромагнитный клапан стабилизации оборотов холостого хода (IAC) в обход корпуса дросселя. Использование клапана IAC позволяет осуществлять контроль стабильности оборотов холостого хода вне зависимости от изменений текущей нагрузки на двигатель (например, при включении кондиционера воздуха или других энергоемких потребителей).

Датчик положения дроссельной заслонки (TPS)


TPS устанавливается на корпусе дросселя и механически соединен с осью дроссельной заслонки.

 


Датчик вырабатывает и посылает ECM сигнальное напряжение, величина которого прямо пропорциональна степени открывания заслонки. Закрытому и открытому положениям заслонки соответствуют четко определенные значения напряжения.

  ECM наделен интеллектуальными способностями, позволяющими ему компенсировать неизбежные временные изменения рабочих характеристик датчика при привязке их к положению дроссельной заслонки.


Электромагнитный клапан стабилизации оборотов холостого хода (IAC)

Клапан IAC встроен в корпус дросселя и осуществляет управление величиной расхода воздуха, перепускаемого в обход последнего при работе двигателя на холостых оборотах. Клапан срабатывает по сигналам ECM, позволяя последнему поддерживать обороты холостого хода двигателя на заданном уровне.

На 4-цилиндровых двигателях (2.0 и 2.5 л) клапан IAC представляет собой шаговый мотор, состоящий из помещенных в общий кожух двух спаренных обмоток, штока, постоянного магнита и пружины. Кожух клапана встроен в сборку корпуса дросселя. Шток помещен между парными обмотками и с обращенной в сторону магнита стороны оборудован резьбой. Изменение полярности пропускаемых через обмотки импульсов управляющего тока влечет за собой изменение полярности постоянного магнита, что заставляет вращаться навернутую на шток и соединенную с магнитом гайку. Вращение гайки приводит к перемещению подпружиненного штока, производящего механическое открывание или закрывание клапана.

На 6-цилиндровых двигателях (3.0 л) используется клапан IAC поворотного типа, состоящий из помещенных в кожух катушки, поворотного элемента, и пружины. Кожух клапана также интегрирован в сборку корпуса дросселя.

Электромагнитный клапан подкачки воздуха к инжекторам, - только модели 2.0 и 2.5 л с OBD II


Клапан включен в линию, соединяющую корпус дросселя с инжектором и закреплен на впускном трубопроводе. Открывание и закрывание клапана происходит по команде ECM, осуществляющего управление подкачкой. Конструкция клапана представлена на иллюстрации.

Устройство управления пульсациями давления во впускном трубопроводе, - только модели 3.0 л

Устройство позволяет поддерживать величину развиваемого двигателем крутящего момента на максимальном уровне вне зависимости от оборотов двигателя. В переборку между правой и левой секциями впускного трубопровода вмонтирована поворотная индукционная заслонка, приводимая в движение установленным на сборке трубопровода исполнительным устройством. В процессе функционирования двигателя внутри впускного трубопровода генерируются пульсации давления, повышающие эффективность функционирования впускного воздушного тракта. Максимальная отдача такого механизма достигается при распространении скачков уплотнений в правильном направлении, - что становится возможным за счет выбора положения установленной в переборке заслонки в соответствии с оборотами двигателя/

Система подачи топлива


Общие сведения

Помещенный в бензобак погружной топливный насос обеспечивает подачу топлива под давлением к каждому из инжекторов. Бензин подается от насоса к инжекторам по топливному тракту с включенным в него фильтром тонкой очистки. Специальный регулятор поддерживает давление топлива в магистрали на заданном оптимальном уровне. Через инжекторы топливо в необходимом количестве впрыскивается непосредственно в камеры сгорания каждого из цилиндров двигателя, где смешивается с воздухом и образует горючую смесь. Количество топлива и момент впрыска вычисляются модулем управления. Избыток горючего по возвратной линии поступает обратно в топливный бак. Функциональная схема системы подачи топлива представлена на иллюстрациях.

Регулятор давления топлива

Регулятор давления установлен с подведенного к инжекторам конца линии подачи топлива и состоит из двух разделенных диафрагмой камер: топливной и пружинной. Топливная камера соединена с линией подачи топлива, пружинная – с впускным трубопроводом. Кроме того, топливная камера оборудована редукционным клапаном, подключенным к линии возврата топлива. При увеличении глубины разрежения во впускном трубопроводе оттягивание диафрагмы приводит к открыванию редукционного клапана, - в результате давление в топливной магистрали снижается. Снижение глубины разрежения в трубопроводе приводит к отжиманию диафрагмы пружиной и увеличению подающего давления. Описанный механизм позволяет поддерживать разницу между давлением впрыска и разрежением во впускном трубопроводе на постоянном уровне, составляющем 294.0 кПа (3.00 кГс/см 2 ) для моделей, оборудованных РКПП и 299.1 кПа (3.05 кГс/см 2 ) для моделей с АТ.

Топливные инжекторы

В системе MFI используются инжекторы с верхней подачей топлива и воздушной подкачкой. Схема подключения инжекторов обеспечивает охлаждение их потоком топлива. Инжекторы такой конструкции отличаются компактными размерами, высокой термостойкостью, пониженным шумовым фоном и простотой в обслуживании.

Продолжительность открывания электромагнитного игольчатого клапана инжектора определяется длиной вырабатываемого ECM управляющего импульса. Ввиду того, что сечение сопла инжектора, величина открывания клапана и давление подачи топлива поддерживаются постоянными, количество впрыскиваемого в камеру сгорания топлива определяется исключительно продолжительностью времени открывания, соответствующего длине управляющего импульса ECM.

На моделях 3.0 л, а также 2.0 и 2.5 л, оборудованных системой бортовой диагностики OBD II эффективность распыления впрыскиваемого топлива повышается за счет подкачки воздуха, подаваемого к инжекторам от клапана IAC по специально организованному в теле впускного трубопровода каналу. Мелкодисперсность распыления не только повышает эффективность сгорания горючей смеси, но также позволяет снизить уровень содержания токсичных составляющих в продуктах сгорания.

Топливный бак

На всех моделях используется топливный двухкамерной конструкции, обеспечивающий свободное пространство под установку заднего дифференциала. Для перекачивания топлива из дополнительной камеры в основную используется специальный насос подкачки, каждая камера оборудована индивидуальным датчиком уровня топлива.

Бак крепится под днищем в задней части автомобиля посредством двух монтажных лент.

Топливный насос

Топливный насос состоит из приводного электромотора, ротора, кожуха, крышки, контрольного клапана и фильтра и объединен в единую сборку с датчиком запаса топлива и насосом подкачки. Использование насоса роторного типа позволяет в существенной мере снизить уровень производимого им при работе шумового фона.

При включении зажигания происходит активация реле топливного насоса, после чего электромотор начинает вращаться, приводя в движение ротор насоса.

При вращении ротора топливо, топливо под действием центробежной силы начинает по специальным каналам перетекать из одной образуемой лопатками полости в другую, возникающее при этом трение приводит к созданию перепада давления, определяющего развиваемый насосом напор.

Подталкиваемое вращающимся ротором топливо попадает в зазор между якорем и магнитом электромотора, затем выталкивается через контрольный клапан.

Когда давление разрядки (сброса) достигает некоторого заданного значения, открывается специальный предохранительный клапан, предотвращающий чрезмерный рост давления.

При остановке двигателя и топливного насоса развиваемое пружиной усилие приводит к перекрыванию контрольным клапаном разрядного порта, что позволяет сохранять давление в тракте системы питания.

В насосную сборку встроено два фильтрующих элемента. Во впускной порт насоса установлен сетчатый фильтр, предохраняющий насос от попадания в него относительно крупных посторонних включений. Выходной порт насоса оборудован устойчивым к воздействию высокого давления фильтром патронного типа, предотвращающим попадание в систему питания мельчайших частиц.

Насос подкачки

Объединенный в единую сборку с топливным насосом/датчиком запаса топлива насос подкачки использует энергию вращения возвращаемого от двигателя избыточного потока топлива для создания разрежения, обеспечивающего перекачивание горючего из дополнительной камеры бензобака в основную.

При нарушении проходимости сопла возвратной линии топливо возвращается в бак через предохранительный клапан.

Датчик уровня топлива в дополнительном отсеке топливного бака


В дополнительной камере бензобака установлен отдельный датчик контроля уровня топлива. Датчик включен в линию подкачки топлива в основную камеру и служит для выравнивания уровней топлива в обеих камерах бака при функционировании насоса подкачки.

Информационные датчики


Докаталитический лямбда-зонд (только модели с OBD II)

Чувствительный элемент докаталитического лямбда-зонда сформирован из твердого электролита на основе оксида циркония (ZrO2), обладающего способностью вырабатывать ЭДС при двухстороннем контакте с зонами, насыщенными ионами кислорода различной концентрации, причем величина данной ЭДС зависит от разницы в концентрации ионов. Данное свойство оксида циркония используется в докаталитическом лямбда-зонде для определения концентрации кислорода в отработавших газах двигателя.

Из небольшого количества ZrO 2 сформирована закрытая с одного конца трубка, погруженная своей наружной поверхностью в выпускной тракт двигателя впереди каталитического преобразователя, в то время как внутренняя поверхность контактирует с атмосферным воздухом. На наружную поверхность трубки нанесено имеющее пористую структуру платиновое покрытие. Корпус зонда заземлен на массу выпускной трубы, внутренний же электрод при помощи электропроводки выведен на ECM, непрерывно отслеживающий вырабатываемый датчиком ток и на основании анализа поступающей информации осуществляющий корректировку состава воздушно-топливной смеси.

Дополнительно в датчик встроен керамический нагревательный элемент, обеспечивающий исправность функционирования зонда до прогрева двигателя.

При сгорании в цилиндрах двигателя обогащенной воздушно-топливной смеси практически весь содержащийся в продуктах сгорания кислород поглощается в ходе каталитической реакции, происходящей в слое платины, покрывающей наружную поверхность циркониевой трубки. В результате разница концентраций ионов кислорода с наружной и внутренней поверхностей трубки оказывается очень большой, что соответствующим образом сказывается на величине вырабатываемой чувствительным элементом ЭДС.

В продуктах сгорания обедненной смеси содержится значительно большее количество кислорода, и платиновый катализатор оказывается не способным полностью его поглотить. Повышение концентрации ионов кислорода с внутренней стороны циркониевой трубки приводит к снижению вырабатываемой датчиком ЭДС.

Незначительные отклонения состава воздушно-топливной смеси от стехиометрического числа оказывает очень сильное влияние на содержание кислорода в продуктах сгорания, вызывая заметные отклонения в величине ЭДС. На основании анализа поступающей от лямбда-зонда информации ECM легко определяет текущий состав горючей смеси и в случае необходимости вырабатывает команду на соответствующую ее корректировку.

  Докаталитический лямбда-зонд не способен вырабатывать достаточную ЭДС не будучи прогретым до значительно высокой рабочей температуры. Стабильные показания достигаются лишь после прогрева датчика приблизительно до 700°С.


 


Посткаталитический лямбда-зонд

Посткаталитический лямбда-зонд служит для определения концентрации кислорода в отработавших газах двигателя и устанавливается ниже каталитического преобразователя по потоку. Отклонение состава воздушно-топливной смеси от стехиометрического числа в сторону обеднения приводит к повышению концентрации кислорода в отработавших газах, и наоборот. Лямбда-зонд позволяет ECM вовремя отследить такого рода отклонения и своевременно произвести необходимую корректировку.

Конструкция посткаталитического лямбда-зонда весьма незначительно отличается от описанной выше конструкции докаталитического датчика.

 


Принцип функционирования посткаталитического лямбда-зонда поясняется на иллюстрации. Следует отметить, что рабочая температура посткаталитического лямбда-зонда значительно ниже рабочей температуры докаталитического датчика и лежит в пределах диапазона от 300 до 400 °С.На моделях, оборудованных двумя лямбда-зондами (докаталитическим и посткаталитическим), различия в показаниях датчиков позволяют оценить эффективность функционирования каталитического преобразователя.

Датчик температуры охлаждающей жидкости двигателя (ECT)

Датчик температуры охлаждающей жидкости установлен на патрубке охладительного тракта и представляет из себя термистор, сопротивление которого изменяется обратно пропорционально температуре. Выдаваемая датчиком информация используется ECM при управлении параметрами зажигания и впрыска топлива, а также при определении моментов продувки угольного адсорбера.

Датчик положения коленчатого вала (CKP)

На 4-цилиндровых двигателях датчик положения коленчатого вала (CKP) устанавливается на сборке масляного насоса в центральной части передней половины блока цилиндров. На 6-цилиндровых двигателях CKP помещается в задней части блока. Датчик имеет неразборную конструкцию и состоит из магнита, сердечника и контактной клеммы.

При прохождении перед чувствительным элементом CKP зубцов вращающейся вместе с валом роторной пластины в результате сокращения воздушного зазора происходит изменение магнитного потока в обмотке датчика, сопровождающееся генерацией импульса сигнального напряжения.

На основании анализа поступающей от датчика информации ECM определяет угловое положение коленчатого вала.

Датчик положения распределительного вала (CMP)

На 4-цилиндровых двигателях датчик CMP помещается на опоре распределительного вала левой головки цилиндров, на 6-цилиндровых двигателях – на правой головке.

Принцип функционирования CMP аналогичен описанному выше для датчика положения коленчатого вала. Вместо зубчатого ротора здесь используются особым образом размещенные выступы с задней стороны зубчатого колеса левого распределительного вала (4-цилиндровые двигатели), либо пазы в образующей поверхности специальной пластины, устанавливаемой на цапфе правого впускного распределительного вала (6-цилиндровые двигатели).

На основании анализа поступающей от датчика информации ECM по текущему угловому положению распределительного вала отслеживает моменты фаз газораспределения в цилиндрах.

Датчик детонации (KS)

Датчик KS устанавливается на блоке цилиндров и служит для отслеживания моментов возникновения детонации в двигателе.

Конструкция датчика представлена на иллюстрациях. Когда уровень вибраций двигателя в результате детонации увеличивается, помещенный в корпус датчика грузик воздействует на пьезоэлемент, который немедленно начинает генерировать сигнальное напряжение, оповещая ECM о необходимости соответствующей корректировки угла опережения зажигания.

  Электропроводка датчика подключена к расположенному на задней переборке двигательного отсека жгуту.


Датчик скорости движения (VSS)

Датчик VSS устанавливается на картере трансмиссии.

На моделях с РКПП датчик генерирует и выдает на ECM и комбинацию приборов 4 сигнальных импульса на каждый оборот переднего дифференциала.

На моделях с АТ за один оборот переднего дифференциала датчиком вырабатывается 16-импульсный сигнал, передаваемый на модуль управления трансмиссией (TCM), где он преобразуется в стандартный 4-импульсный сигнал и выдается далее на ECM и комбинацию приборов.

Управление подачей топлива и компоновкой воздушно-топливной смеси

См. Раздел Системы управления двигателем и снижения токсичности отработавших.

Меры безопасности и правила соблюдения чистоты при работе с топливной системой

Общие правила

Не приближайтесь к месту проведения работ с открытым огнем или зажженной сигаретой. Всегда держите наготове огнетушитель!

Топливные пары ядовиты, - следите за обеспечением нормальной вентиляции рабочего места!

Топливная система находится под давлением. При вскрытии системы горючее может вырваться из нее с высоким напором, - перед отпусканием штуцерных разъемов оборачивайте их ветошью. Пользуйтесь защитными очками!

Для крепления шланговых соединений могут применяться хомуты ленточного и зажимного типа. После отсоединения шлангов зажимные хомуты следует заменять ленточными или червячными. Фиксация замков некоторых хомутов требует применения специальных приспособлений, - проконсультируйтесь со специалистами фирменной СТО Subaru.

Перед расстыковкой штуцерных разъемов тщательно протирайте их снаружи во избежание попадания грязи внутрь тракта.

Снимаемые компоненты укладывайте на чистую подкладку и заворачивайте в полиэтилен или бумагу, - избегайте применения для протирки и оборачивания компонентов ворсящейся ветоши.

Если ремонт требует времени, проследите, чтобы все открытые отверстия в узлах и компонентах системы питания были тщательным образом заглушены.

Устанавливайте на место только чистые детали. Запасные части вынимайте из упаковки только непосредственно перед установкой. Не применяйте деталей, которые хранились неупакованными (например, в инструментальном ящике).

Избегайте применения сжатого воздуха при открытом топливном тракте. По возможности старайтесь не перемещать автомобиль.

Не применяйте содержащих силикон герметиков. Попавшие в двигатель частицы силикона не сгорают и могут явиться причиной повреждения лямбда-зонда.

Меры безопасности при снятии топливного бака

Перед снятием опорожните топливный бак (см. Раздел Опорожнение топливного бака).

Бак снимается с нижней стороны автомобиля. Перед отпусканием монтажных лент, подоприте бак снизу тележечным домкратом, - между баком и головкой домкрата проложите деревянный брусок.

Пустой бак взрывоопасен и перед утилизацией должен быть разрезан на части, - постарайтесь не допустить при разрезании бака искрообразования! Правильнее всего будет сдать бак в специальный приемный пункт.

После установки бака запустите двигатель и проверьте герметичность всех соединений.

Рекомендации по экономии расхода топлива

Информация о расходе топлива выводится на панель приборов автомобиля.

Существенное влияние на расход топлива оказывает стиль вождения. Ниже приводятся несколько советов по разумному использованию педали акселератора на оборудованных системой впрыска топлива автомобилях:

a) В любую погоду (даже в мороз) начинайте движение сразу после осуществления запуска двигателя;
b) При остановке автомобиля на время более на 40 с, глушите двигатель;
c) Старайтесь всегда двигаться на максимально высокой передаче;
d) В дальних поездках старайтесь поддерживать постоянную скорость движения. Избегайте движения на чрезмерно высоких скоростях. Управляйте автомобилем осмотрительно, избегайте беспричинных торможений;
e) Не перевозите не автомобиле излишний груз, при отсутствии надобности снимайте с крыши верхний багажник;
f) Регулярно проверяйте давление накачки шин, - старайтесь не допускать чрезмерного его снижения.


« предыдущая страница
6.1. Спецификации
^
к оглавлению
следующая страница »
6.2.1. Сбрасывание давления в системе питания

Copyright © 2026 Все права защищены. Все торговые марки являются собственностью их владельцев.