|
|
 |
8.25. Снятие, обслуживание и установка рычага переключения режимов "Hi/Lo" дополнительного двухступенчатого редуктора
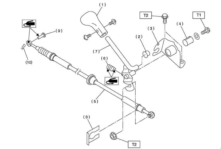
Конструкция рычага переключения режимов двухступенчатого редуктора
СНЯТИЕ
|
|
|
1. Установите рычаг переключения режимов в положение
«Hi».
|
2. Снимите рукоятку рычага.
|
3. Снимите центральную консоль (см. Главу
Кузов).
|
4. Выверните болт крепления
сборки рычага переключения режимов к кузову.
|
5. Отдайте фланцованную гайку, извлеките фиксатор (8) и отсоедините
от рычажной сборки тягу (5).
|
|
РАЗБОРКА
Снимите рычага переключения режимов 2-ступенчатого редуктора
|
|
|
1.Снимите пружину.
|
2. Снимите рычаг, колпачок и втулку.
|
|
СБОРКА
|
|
|
Сборка производится в порядке, обратном порядку
демонтажа компонентов. Усилие затягивания крепежного болта составляет
1.6 Нм. В заключение проверьте плавность хода рычага. В случае необходимости
произведите необходимый восстановительный ремонт, замените вышедшие
из строя компоненты.
|
|
УСТАНОВКА
|
|
|
1. Переведите рычаг переключения
режимов в положение «Hi».
|
|
2. Проследите, чтобы болт наконечника
тяги попал в прорезь рычага. Затяните фланцованную гайку с
требуемым усилием (18 Нм).
|
3. Дальнейшая установка производится в порядке, обратном порядку
демонтажа компонентов. Удостоверьтесь в плавности хода рычага и
исправности функционирования механизма переключения режимов.
|
|
|
|