поиск в избранное карта сайта
  УАЗ РЕМОНТ ОБСЛУЖИВАНИЕ ЭКСПЛУАТАЦИЯ АВТОМОБИЛЕЙ
УАЗ 31519 (Hunter)

полные технические характеристики. диагностика. электросхемы
 
Главная
 
УАЗ
31519 (Hunter)
1. Устройство автомобиля
2. Рекомендации по эксплуатации
3. Неисправности в пути
4. Техническое обслуживание
5. Двигатель
5.1. Особенности конструкции
5.2. Возможные неисправности двигателя, их причины и способы устранения
5.3. Полезные советы
5.4. Проверка компрессии в цилиндрах
5.5. Снятие и установка брызговиков двигателя
5.6. Замена опор подвески силового агрегата
5.7. Замена ремня привода генератора и водяного насоса
5.8. Установка поршня первого цилиндра в положение ВМТ такта сжатия
5.9. Замена цепей и шестерен газораспределительного механизма
5.10. Снятие и разборка гидронатяжителей цепей
5.11. Сборка («зарядка») и установка гидронатяжителей цепей
5.12. Снятие, дефектовка и установка маховика
5.13. Замена деталей уплотнения двигателя
5.14. Головка блока цилиндров двигателя
5.14.1. Снятие, дефектовка и установка распределительных валов
5.14.2. Замена гидротолкателей зазоров в механизме привода клапанов
5.14.3. Возможные неисправности гидротолкателей, их причины и способы устранения
5.14.4. Разборка, ремонт и сборка головки блока цилиндров
5.14.5. Притирка клапанов
5.15. Снятие и установка двигателя
5.16. Ремонт двигателя
5.17. Cистема смазки двигателя
5.18. Система охлаждения двигателя
5.19. Система выпуска отработавших газов
5.20. Система питания
5.21. Система улавливания паров топлива
5.22. Особенности конструкции дизельного двигателя
6. Трансмиссия
7. Ходовая часть
8. Рулевое управление
9. Тормозная система
10. Электрооборудование
11. Кузов
12. Советы начинающему автомеханику
13. Покупка запасных частей
14. Поездка на СТО
15. Зимняя эксплуатация автомобиля
16. Подготовка к техосмотру
17. Приложения
18. Схемы электрооборудования
 


5.14.5. Притирка клапанов

Притирку клапанов выполняют на снятой головке блока цилиндров (см. «Замена прокладки головки блока цилиндров»). Для извлечения клапанов из направляющих втулок головки блока цилиндров необходимо снять пружины клапанов, сжав их специальным приспособлением и вынув сухари из тарелок пружин (см. «Замена маслосъемных колпачков клапанов»). Для притирки клапанов удобнее всего пользоваться специальным механическим приспособлением (реверсивной дрелью).
Кроме того, в продаже есть готовые ручные держатели клапана.

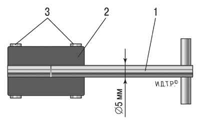
Приспособление для притирки клапанов
Рис. 5.10. Приспособление для притирки клапанов: 1 – металлический стержень; 2 – резиновый шланг; 3 – винтовой хомут

При отсутствии готовых приспособлений можно воспользоваться приспособлением, изготовленным по чертежу рис. 5.10.
Кроме того, вам потребуются: притирочная паста, керосин, слабая пружина, по наружному диаметру проходящая в отверстие седла клапана.
1. Очистите клапан от нагара.
2. Нанесите на фаску клапана сплошной тонкий слой притирочной пасты.
3. Наденьте на стержень клапана предварительно подобранную пружину и вставьте клапан в направляющую втулку со стороны камеры сгорания, смазав стержень клапана слоем графитной смазки.

Примечание
Графитная смазка предохраняет направляющую втулку от попадания в ее отверстия абразива из притирочной пасты и облегчает вращение клапана во время притирки.

4. Наденьте на стержень клапана приспособление для притирки клапанов (или с некоторым натягом резиновую трубку для соединения клапана с реверсивной дрелью).
5. Включив дрель на минимальную частоту вращения (в реверсивном режиме) или вращая приспособление (в случае ручной притирки) попеременно в обе стороны на пол-оборота, притрите клапан, периодически то прижимая его к седлу, то ослабляя усилие прижатия.
6. Притирайте клапан до появления на его фаске матово-серого непрерывного однотонного пояска шириной не менее 1,5 мм, при этом…
7. …на седле клапана после притирки также должен появиться блестящий поясок шириной не менее 1,5 мм.
8. После притирки протрите седло и клапан чистой тряпкой и тщательно промойте для удаления остатков притирочной пасты.

Предупреждение
Не притирайте клапаны с помощью высокооборотной нереверсивной электродрели, так как в этом случае не удастся добиться качественной поверхности (без круговых рисок) притираемых фасок и, кроме того, возможно чрезмерное истирание контактных поверхностей клапана и седла, что приведет к ухудшению герметичности и быстрому прогару клапанов.

9. Проверьте герметичность клапана, для этого установите его в головку блока вместе с пружинами и сухарями. После этого положите головку блока набок и залейте керосин в канал, закрываемый клапаном. Если в течение 10 мин керосин не просочится в камеру сгорания, клапан считается герметичным. Если керосин просочился в камеру сгорания, то притрите клапан еще раз.
10. Аналогично притрите остальные клапаны и проверьте их герметичность.

« предыдущая страница
5.14.4. Разборка, ремонт и сборка головки блока цилиндров
^
к оглавлению
следующая страница »
5.15. Снятие и установка двигателя

Copyright © 2026 Все права защищены. Все торговые марки являются собственностью их владельцев.