поиск в избранное карта сайта
  Volkswagen РЕМОНТ ОБСЛУЖИВАНИЕ ЭКСПЛУАТАЦИЯ АВТОМОБИЛЕЙ
Фольксваген Шаран. Volkswagen Sharan (с 1995 по 2000 год выпуска)

полные технические характеристики. диагностика. электросхемы
 
Главная
 
Volkswagen
Sharan
1. Введение
2. Двигатель VR6
3. Двухлитровый двигатель (ADY)
4. Система смазки двигателя
5. Система охлаждения
6. Система впрыска топлива двигателя VR6
7. Система Simos впрыска топлива 2,0-литрового двигателя
8. Система зажигания
9. Сцепление
10. Механическая 5-ступенчатая коробка передач
11. Валы привода колес
12. Гидроусилитель рулевого управления
13. Передняя подвеска
14. Задняя подвеска
15. Тормозная система
16. Электрооборудование
17. Дизельный двигатель
18. Система смазки дизельного двигателя
19. Система охлаждения дизельного двигателя
20. Система питания дизельного двигателя и турбокомпрессор
21. Карта технического обслуживания.
22. Приложения
22.1. Приложение 1. Технические данные и характеристики
22.2. Приложение 2. Основные данные для регулировок и контроля
22.2.1. Двигатель 2,0 л
22.2.2. Двигатель VR6
22.2.3. Дизельный двигатель
22.2.4. Рулевое управление
22.2.5. Тормозной механизм передних колес
22.2.6. Тормозные механизмы задних колес
22.3. Приложение 3. Моменты затяжки резьбовых соединений
23. Электросхемы
 


22.2.1. Двигатель 2,0 л

Номинальный диаметр цилиндра        82,51 мм
Размеры поршня:       

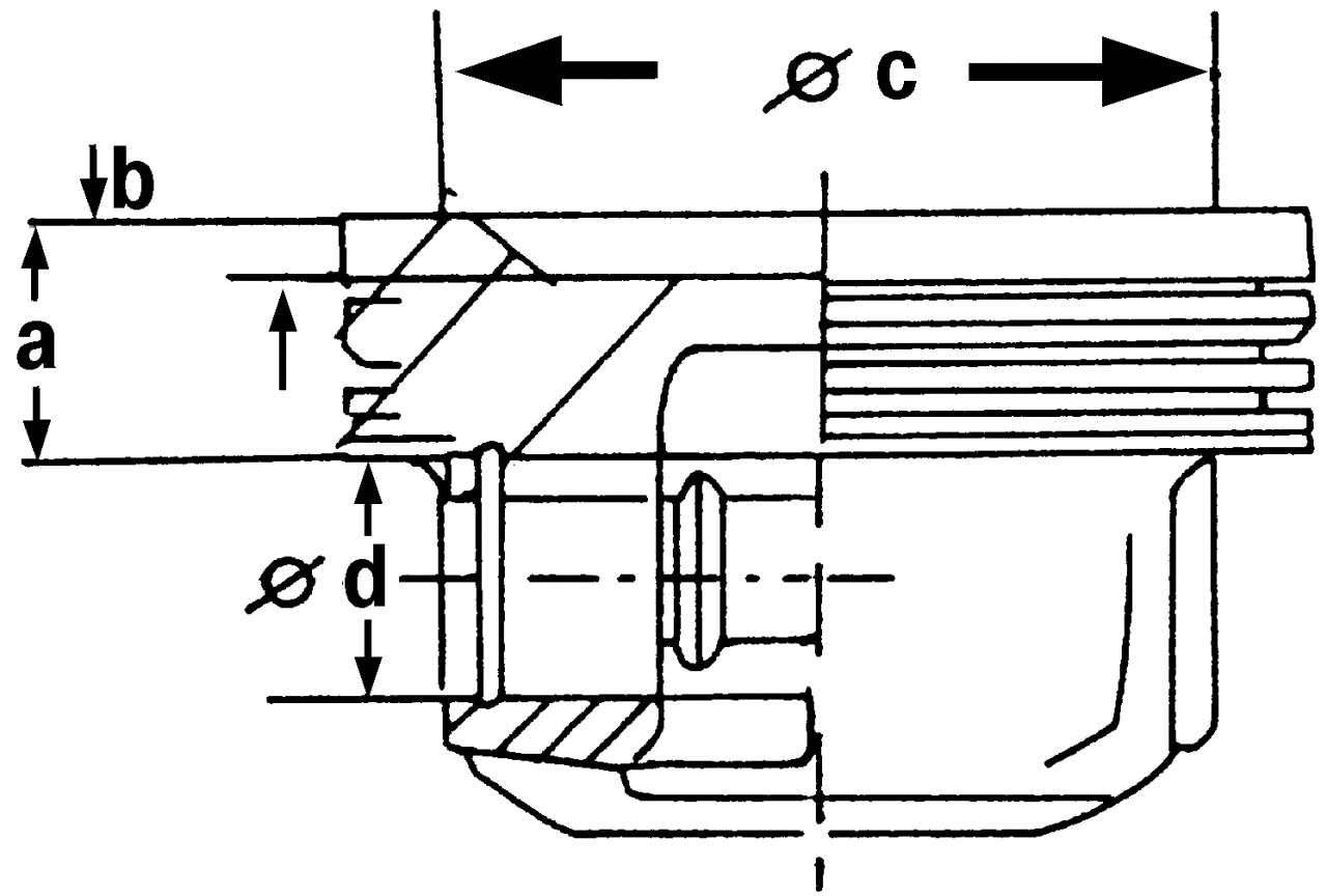
Вид поршня в разрезе
Рис. 131. Вид поршня в разрезе: a = 21,3 мм; b = 5,0 мм; c = 62,9 мм; d = 21,0 мм





  «a» (см. рис. 131)        21,3 мм
  «b» (см. рис. 131)        5,0 мм
  «c» — диаметр мульды в поршне
  (cм. рис. 131)        62,9 мм
  «d» — диаметр поршневого пальца
  (см. рис. 131)        21,0 мм
Компрессия       
  Нормальное значение        10—13 бар
        [1000—1300 кПа]
  Предельно допустимое значение        7,5 бар [750 кПа]
Направляющие втулки клапана       
Внутренний диаметр втулок        7,013—7,035 мм
Зазор штоков клапанов:       

Контроль биения стержня клапана внутри направляющей втулки с помощью измерительного прибора VW387
Рис. 113. Контроль биения стержня клапана внутри направляющей втулки с помощью измерительного прибора VW387





  впускные клапаны (см. рис. 113)        1,0 мм
  выпускные клапаны (см. рис. 113)        1,3 мм
Седла клапанов       
Диаметр седла клапана:       
  впускные клапаны        39,20 мм
  выпускные клапаны        32,40 мм
Угол наклона седла клапана        45°
Ширина седла клапана:       
  впускные клапаны        2,0 мм
  выпускные клапаны        2,4 мм
Внешний корректировочный угол:       
  впускные клапаны        30°
  выпускные клапаны         30°
Клапаны       
Диаметр тарелки клапана:       
  впускные клапаны        39,5 мм
  выпускные клапаны        32,9 мм
Длина клапана:       
  впускные клапаны        91,85 мм
  выпускные клапаны        91,15 мм
Диаметр штока клапана:       
  впускные клапаны        6,92 мм
  выпускные клапаны        6,92 мм
Толщина края клапана        Не менее 0,5 мм

Размеры при шлифовании фасок клапанов
Рис. 45. Размеры при шлифовании фасок клапанов: a = 45°; a = максимум 3,5 мм; b = минимум 0,5 мм





Размер «b» (см. рис. 45):       
  впускные клапаны        33,90 мм
  впускные клапаны        34,10 мм
Поршни       
Место измерения диаметра поршня        10,0 мм от дна юбки
                                                                       поршня под углом
                                                                       в 90° к оси         поршневого пальца
Номинальный диаметр        84,475 мм
Макс. допустимый износ поршня        0,04 мм от указанного диаметра
Зазор поршней:       
  нормальный        0,03 мм
  предельно допустимый        0,07 мм
Зазор между поршневыми кольцами
и канавками:       
  нормальный        0,02—0,05 мм
  предельно допустимый        0,15 мм
  тепловой зазор:       
  нормальный — компрессионные
  поршневые кольца        0,20—0,40 мм
  нормальный — маслосъемное
  кольцо        0,25—0,50 мм
  предельно допустимый        1,0 мм
Шатуны       
Осевой зазор подшипника        0,05—0,31 мм
Предельно допустимый        0,37 мм
Зазор поршневого пальца        0,01—0,02 мм
Коленчатый вал       
Количество коренных подшипников        5
Обозначение коренных подшипников        От 1 до 5, начиная с передней части двигателя
Регулировка осевого зазора        Регулировочные шайбы
Коренные и шатунные подшипники        Тонкостенные вкладыши подшипников
Осевой зазор коленчатого вала:       
  нормальный        0,07—0,17 мм
  предельно допустимый        0,25 мм
Зазор коренного подшипника:       
  нормальный        0,03—0,08 мм
  предельно допустимый        0,17 мм
Зазор шатунного подшипника:       
  нормальный        0,02—0,076 мм
  предельно допустимый        0,12 мм
Диаметр шейки коренного подшипника:
  номинальный диаметр         54,00 мм
  1-й ремонтный        53,75 мм
  2-й ремонтный        53,50 мм
  3-й ремонтный        53,25 мм
Система смазки двигателя       
Давление в системе смазки        1,0 бар [100 кПа]
Максимальное в системе смазки        7,0 бар [700 кПа]
Количество масла в двигателе, которое
необходимо залить при замене масла:       
  со сменой фильтра        4,7 л
  без смены фильтра        4,2 л
Система охлаждения двигателя       
Количество охлаждающей жидкости
в системе охлаждения        9,0 л
Термовыключатель       
Температура включения 1-й ступени        92—97° C
Температура выключения 1-й ступени        84—91° C
Температура включения 1-й ступени        99—105° C
Температура выключения 2-й ступени        91—98° C
Термостат       
Температура открытия        87° C
Температура закрытия        102° C

« предыдущая страница
22.2. Приложение 2. Основные данные для регулировок и контроля
^
к оглавлению
следующая страница »
22.2.2. Двигатель VR6

Copyright © 2026 Все права защищены. Все торговые марки являются собственностью их владельцев.