поиск в избранное карта сайта
  Volkswagen РЕМОНТ ОБСЛУЖИВАНИЕ ЭКСПЛУАТАЦИЯ АВТОМОБИЛЕЙ
Фольксваген Шаран. Volkswagen Sharan (с 1995 по 2000 год выпуска)

полные технические характеристики. диагностика. электросхемы
 
Главная
 
Volkswagen
Sharan
1. Введение
2. Двигатель VR6
3. Двухлитровый двигатель (ADY)
4. Система смазки двигателя
5. Система охлаждения
5.1. Охлаждающая жидкость
5.2. Радиатор и вентилятор
5.3. Насос водяного охлаждения 2,0-литрового двигателя
5.4. Насос водяного охлаждения двигателя VR6
5.5. Термостат 2,0-литрового двигателя
5.6. Термостат двигателя VR6
5.7. Поликлиновой ремень
5.8. Циркуляционный насос охлаждающей жидкости
6. Система впрыска топлива двигателя VR6
7. Система Simos впрыска топлива 2,0-литрового двигателя
8. Система зажигания
9. Сцепление
10. Механическая 5-ступенчатая коробка передач
11. Валы привода колес
12. Гидроусилитель рулевого управления
13. Передняя подвеска
14. Задняя подвеска
15. Тормозная система
16. Электрооборудование
17. Дизельный двигатель
18. Система смазки дизельного двигателя
19. Система охлаждения дизельного двигателя
20. Система питания дизельного двигателя и турбокомпрессор
21. Карта технического обслуживания.
22. Приложения
23. Электросхемы
 


5.8. Циркуляционный насос охлаждающей жидкости

В системе охлаждения двигателя имеется дополнительный электрический циркуляционный насос охлаждающей жидкости. На электросхеме он обозначен как V51. Циркуляционный насос работает постоянно, и кроме этого охлаждает двигатель после его остановки, так что горячий двигатель охлаждается еще некоторое время после выключения зажигания. При этом как обычно проводите соответствующую проверку состояния шлангов, зажимов шлангов и т.д.
Проверку работоспособности дополнительного насоса, а также включение вентилятора после остановки двигателя проводите в следующем порядке:

Предупреждение
При проведении проверки работоспособности дополнительного насоса зажигание должно быть выключено.


Штекерная колодка (показана стрелкой), которую следует отсоединять при проверке работы насоса для охлаждения двигателя после его остановки
Рис. 196. Штекерная колодка (показана стрелкой), которую следует отсоединять при проверке работы насоса для охлаждения двигателя после его остановки





- отсоедините штекерную четырехштырьковую колодку (рис. 196) температурного датчика включения вентилятора от корпуса термостата;

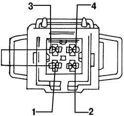
Проверка температурного датчика для включения вентилятора системы охлаждения после остановки двигателя и водяного насоса
Рис. 197. Проверка температурного датчика для включения вентилятора системы охлаждения после остановки двигателя и водяного насоса: «1», «2», «3» и «4» — контакты





- соедините при помощи куска проволоки контакты «1» и «3» (коричнево-красный кабель и коричнево-желтый кабель) (рис. 197);
- при этом должны заработать вентилятор системы охлаждения и циркуляционный насос охлаждающей жидкости;
- если вентилятор и циркуляционный насос не заработали, то значит имеются другие неполадки, которые должны быть выявлены на СТО Volkswagen с помощью соответствующей измерительной аппаратуры.

« предыдущая страница
5.7. Поликлиновой ремень
^
к оглавлению
следующая страница »
6. Система впрыска топлива двигателя VR6

Copyright © 2026 Все права защищены. Все торговые марки являются собственностью их владельцев.