| 6.4.1. Общая информацияОбщая информация 
 Бензиновые модели
 Общие сведения
 С целью снижения уровня эмиссии в атмосферу токсичных составляющих, попадающих в состав отработавших газов двигателя в результате испарения и неполноты сгорания топлива, а также для поддержания эффективности отдачи двигателя и снижения расхода топлива, современные автомобили оснащаются оборудованы целым рядом специальных систем, которые можно объединить под общим названием системы управления двигателем и снижения токсичности отработавших газов. 
 
Схема функционирования системы управления двигателем на бензиновых моделях (на примере моделей, оборудованных передним каталитическим преобразователем)
 Комплектация систем зависит от марки, модели, года выпуска и региона, на чей рынок автомобиль поставляется. Информация по типу и составу систем приведена на закрепленном под капотом информационном ярлыке VECI. 
 
В состав информационного ярлыка VECI входит также схема прокладки вакуумных шлангов (бензиновые модели)
 
  
Схема расположения компонентов систем управления двигателем/снижения токсичности отработавших газов на бензиновых моделях с двумя каталитическими преобразователями
 
|   |  
|  |  |  Примененная на рассматриваемых моделях система последовательного впрыска топлива (SFI) попадает под классификацию многоточечных, с дозировкой по длительности управляющего импульса, определяемой на основе информации, поставляемой термоанемометрическим датчиком массы воздуха (MAF). Системы подачи воздуха и топлива функционируют совместно с системой управления двигателем/снижения токсичности отработавших газов, включающей в свой состав множество информационных датчиков, и исполнительных устройств, непрерывно обменивающихся данными с электронным модулем управления (ECM), координирующим работу двигателя. Анализируя поставляемую датчиками информацию, ECM вычисляет оптимальные для текущего момента значения угла опережения зажигания и длительности управляющего импульса открывания инжекторов. На рассматриваемых в настоящем Руководстве моделях, оборудованных двигателем DOHC эффективность распыления впрыскиваемого топлива повышается за счет подкачки воздуха, подаваемого к инжекторам по специально организованному отводу от впускного трубопровода. Мелкодисперсность распыления не только повышает эффективность сгорания горючей смеси, но также позволяет снизить уровень содержания токсичных составляющих в продуктах сгорания.
 Базовый состав воздушно-топливной смеси формируется модулем управления на основании данных, поступающих от датчика MAF, по которым ECM определяет количество всасываемого в двигатель воздуха. Более точная дозировка осуществляется с учетом информации, о температуре охлаждающей жидкости (датчик ECT), скорости движения автомобиля (VSS), содержании кислорода в отработавших газах (лямбда-зонд) и моментах выхода поршня первого цилиндра в положение ВМТ конца такта сжатия (датчик положения распределительного вала - CMP).
 Непрерывно анализируя поступающую от датчиков информацию, ECM способен адекватно реагировать на мельчайшие изменения условий функционирования двигателя, своевременно производя соответствующие корректировки моментов и длительности впрыска топлива в камеры сгорания, обеспечивая тем самым поддержание оптимального соотношения таких рабочих параметров двигателя, как эффективность его отдачи и токсичность выхлопа.
 Главной составляющей выбрасываемых двигателем в атмосферу отработавших газов является азот (N2), однако в выхлопе любого двигателя внутреннего сгорания неизбежно присутствуют также монооксид углерода (СО), углекислый газ (СО2), водяные пары (Н2О), кислород (О2), окислы азота (NOх), водород (Н2), а также несгоревшие углеводороды (НС). Три из перечисленных выше составляющих, а именно СО, NOх и НС, относятся к числу веществ, активно загрязняющих окружающую среду, и именно их эмиссию в атмосферу призваны контролировать подсистемы снижения токсичности отработавших газов, к числу которых относятся:
 
Система улавливания топливных испарений (EVAP);
Система управляемой вентиляции картера (PCV);
 Каталитический преобразователь(и);
 Кондуктор заливной горловины топливного бака (под заправочный пистолет колонок раздачи неэтилированного бензина);
Система бортовой самодиагностики (OBD).
 В приведенных ниже разделах даются общие описания принципов функционирования каждой из систем, а также изложены процедуры диагностических проверок и восстановительного ремонта (если таковой представляется возможным) отдельных компонентов, выполнение которых лежит в пределах квалификации среднестатистического механика-любителя
 Прежде чем прийти к заключению об отказе какой-либо из подсистем снижения токсичности, внимательно проверьте исправность функционирования систем питания и зажигания (см. Часть 
Система питания бензиновых двигателей
 настоящей главы и Главу  
Системы электрооборудования двигателя). Диагностика некоторых из узлов систем снижения токсичности требует использования специального, сложного в применении оборудования и определенной квалификации исполнителя, а потому, ее выполнение разумно будет поручить специалистам автосервиса. Сказанное выше не означает, что обслуживание и ремонт компонентов систем снижения токсичности на практике представляются трудновыполнимыми. Следует помнить, что одной из наиболее распространенных причин большинства отказов является элементарное нарушение качества соединений вакуумных или электрических линий, а потому, в первую очередь всегда следует проверять состояние соответствующих электрических и штуцерных разъемов. Владелец автомобиля может самостоятельно и достаточно легко произвести целый ряд проверок, а также, выполнить в домашних условиях множество процедур текущего обслуживания большинства компонентов рассматриваемых подсистем, пользуясь при этом обычным набором настроечного и слесарного инструмента.
 
|   | Не забывайте о дополнительных федеральных гарантийных обязательствах, под которые попадают компоненты систем снижения токсичности и управления двигателем, - прежде чем приступать к выполнению каких-либо процедур по ремонту узлов и деталей данных систем, проконсультируйтесь об условиях соблюдения этих обязательств в представительском отделении компании KIA. 
 |  Старайтесь соблюдать все оговоренные в нижеследующих разделах меры предосторожности при выполнении обслуживания электронных компонентов рассматриваемых систем. Следует заметить, что иллюстративный материал может не всегда в точности соответствовать реальному размещению компонентов на автомобиле. Такого рода несоответствия связаны с непрерывно происходящим процессом модификации в рамках типовой конструкции каждой модели.
 Модуль управления (ECM)
 ECM представляет собой электронный модуль на базе микропроцессора, который на основе анализа поступающих от различных информационных датчиков сигналов осуществляет управление функционированием систем впрыска, зажигания и снижения токсичности отработавших газов. 
 В число выполняемых ECM задач входят: 
 
Управление параметрами впрыска топлива;
Управление параметрами зажигания;
Управление функционированием системы стабилизации оборотов холостого хода (IAC);
Управление функционированием системы EVAP;
Управление функционированием топливного насоса;
Самодиагностика;
Активация аварийных параметров вышедших из строя подсистем.
 Когда ECM вырабатывает выходные сигналы фиксированного уровня, без учета сигналов, поступающих от лямбда-зонда(ов), говорят, что система управления функционирует в режиме «открытого контура», т.е., без обратной связи. Если же модуль начинает обрабатывать выдаваемую кислородным датчиком(ами) информацию, то режим становится «замкнутым», что позволяет ECM корректировать параметры впрыска и зажигания с учетом текущих эксплуатационных характеристик двигателя (обороты, нагрузка, температура, и пр.).  
 В память модуля заложены аварийные значения (значения по умолчанию) основных рабочих параметров всех подсистем управления. Данные параметры активируются в случае выявления отказа соответствующей подсистемы, обеспечивая адекватность функционирования двигателя (с неизбежной потерей эффективности отдачи). 
  Отказ любого подлежащего мониторингу со стороны блока самодиагностики компонента фиксируется в памяти модуля в виде соответствующего кода (DTC), считывание которого может быть произведено при помощи специального сканера (см. Раздел 
Система бортовой самодиагностики (OBD) - общая информация). 
 Подача топлива и компоновка воздушно-топливной смеси
 Общая информация См. Раздел 
Система питания бензиновых двигателей.
 Продолжительность впрыска
 Во время прогрева двигателя при запуске продолжительность открывания инжекторов определяется ECM в соответствии с изменением температуры охлаждающей жидкости. После того, как двигатель прогреется до нормальной рабочей температуры, включается следующая схема определения продолжительности впрыска: 
«Базовое значение х Корректировочные параметры   Компенсационная переменная». При этом базовое значение продолжительности открывания инжектора определяется двумя основными факторами: количеством подаваемого в двигатель воздуха (по сигналам датчика MAF) и текущей частотой вращения двигателя (по сигналам датчика CKP). Корректировочные параметры рассмотрены. Компенсационная переменная призвана компенсировать временные задержки срабатывания инжекторов, связанные с вариациями напряжения аккумуляторной батареи.
 Организация перечисленных ниже функций позволяет своевременно корректировать базовое значение продолжительности открывания инжекторов с целью поддержания оптимального состава воздушно-топливной смеси при любых параметрах функционирования двигателя. 
 
Корректировка состава воздушно-топливной смеси по сигналам докаталитического лямбда-зонда. На соответствующим образом оборудованных моделях выдаваемая докаталитическим лямбда-зондом информация об уровне содержания кислорода в отработавших газах позволяет ECM своевременно корректировать дозировку подачи топлива с целью предотвращения заметных отклонений состава горючей смеси от стехиометрического значения;
Стартовая корректировка состава смеси. В момент проворачивания коленчатого вала  при запуске двигателя продолжительность открывания инжекторов принудительно увеличивается с целью поддержания стабильности оборотов;
Постстартовая корректировка. Данная корректировка позволяет стабилизировать обороты двигателя в момент непосредственно после осуществления его запуска (учитывается также информация о температуре охлаждающей жидкости, поставляемая датчиком ECT);
Корректировка состава смеси в ходе прогрева двигателя. Данная корректировка производится в соответствии с изменением температуры охлаждающей жидкости (чем ниже температура, тем больше продолжительность впрыска) и осуществляется на основании данных, выдаваемых датчиком ECT, и используется ECM для стабилизации оборотов двигателя в ходе его прогрева;
Корректировка состава смеси при полном открывании дроссельной заслонки. При полном открывании дроссельной заслонки продолжительность времени открывания инжекторов увеличивается в соответствии с информацией, поступающей от TPS;
Корректировка состава смеси во время акселерации. Данная корректировка призвана компенсировать временную задержку определения количества всасываемого воздуха с целью повышения чувствительности двигателя к манипуляциям педалью газа во время ускорения.
 
Схема организации мониторинга состава воздушно-топливной смеси на бензиновых моделях
 
|   |  
|  |  |  На рассматриваемых моделях корректировка состава воздушно-топливной смеси по сигналам докаталитического лямбда-зонда организована интеллектуально. Суть сказанного заключена в следующем: в ходе управления составом смеси, ECM на основании анализа поступающей от кислородного датчика информации  вычисляет корректирующую переменную, которая затем добавляется к заложенному в память процессора базовому значению продолжительности времени открывания инжекторов (соответствующему текущим оборотам двигателя), при этом чувствительность и реактивность системы тем ниже, чем заметнее величина требуемой временной добавки. Интеллектуальная организация процесса позволяет обойти данную ситуацию за счет непрерывной корректировки базового значения путем прибавления к нему последней корректирующей добавки и сохранения суммарного значения в оперативной памяти процессора, таким образом, величина очередной корректировки существенно сокращается, а эффективность функционирования системы увеличивается.
 Воспламенение горючей смеси
 ECM непрерывно отслеживает текущее рабочее состояние двигателя по сигналам, поступающим от датчиков температур охлаждающей жидкости и всасываемого воздуха,  положения коленчатого вала и пр. На основании анализа получаемой информации ECM подбирает оптимальный (из заложенных в память процессора) момент зажигания, в который и выдает на соответствующий катушечный модуль сигнал прерывания первичного контура.
 При управлении зажиганием также используется интеллектуальная функция (функция быстрого распознавания), в которой записанные в память ECM данные сравниваются с информацией, поступающей от информационных датчиков/датчиков-выключателей. Так, при выборе момента зажигания для любых условий функционирования двигателя, ECM обрабатывает информацию о выходной мощности силового агрегата, расходе топлива, составе отработавших газов и пр. Во время запуска двигателя всегда имеют место флуктуации его оборотов, ввиду чего модуль управления не способен адекватно контролировать угол опережения зажигания, поэтому на данный период угол принудительно выставляется на некоторое базовое значение по специальному сигналу датчика CKP.
 После осуществления запуска двигателя ECM по сигналам того же датчика CKP отслеживает текущие обороты двигателя и на основании анализа получаемой информации выставляет угол опережения и скважность импульса  зажигания соответствующими текущим потребностям двигателя.
 Управление оборотами холостого хода
 ECM обеспечивает стабильность оборотов холостого хода двигателя путем активации пластинчатого электромагнитного клапана IAC, управляющего перепусканием дополнительного воздуха в обход корпуса дросселя. В качестве исходной информации ECM использует данные, поставляемые датчиками положения коленчатого вала (CKP), температуры охлаждающей жидкости (ECT), расходомера (датчик MAF), а также датчика-выключателя активации кондиционера воздуха, что позволяет осуществлять полный контроль за оборотами двигателя при любой текущей нагрузке.
 В качестве управляющего элемента клапана IAC используется электромагнит, реагирующий на уровень скважности управляющего периодического сигнала. Чем выше коэффициент заполнения сигнала, выдаваемого модулем управления на электромагнит, тем большую степень открывания поворотной заслонки обеспечивает последний. Расход же дополнительного воздуха прямо пропорционален степени открывания заслонки и оказывает непосредственное влияние на частоту вращения двигателя.
 Основными задачами устройства является компенсация повышения нагрузки на двигатель при активации К/В, рулевого насоса и прочих энергоемких потребителей электроэнергии, а также повышение оборотов холостого хода двигателя в начальный период его прогрева, обеспечение буферного эффекта при быстром закрывании дроссельной заслонки, плюс контроль стабильности оборотов двигателя на холостом ходу.
 Управление функционированием топливного насоса
  Опираясь на информацию, поставляемую датчиком положения распределительного вала (CMP), ECM обеспечивает управление функционированием топливного насоса путем активации/деактивации его реле. С целью повышения уровня безопасности топливный насос автоматически блокируется при самопроизвольных остановах двигателя при включенном зажигании. Принцип организации управления сформулирован в таблице
 
Принцип организации управления функционированием бензонасоса
 
| 	Зажигание включено	
 | 	Реле топливного насоса	
 | 	Топливный насос	
 |  
| Определенный период времени непосредственно после включения зажигания | Вкл | Функционирует |  
| При проворачивании двигателя стартером | Вкл | Функционирует |  
| При работе двигателя | Вкл | Функционирует |  
| При останове двигателя | Выкл | Не функционирует |  Система управления зажиганием
 Конструкция и принцип функционирования системы зажигания бензинового двигателя подробно описаны в Главе 
Системы электрооборудования двигателя.
 Система вентиляции картера (PCV)
 Концентрация углеводородов (НС) в картере двигателя может во много раз превышать величину, регистрируемую при анализе состава отработавших газов.
 Система управляемой вентиляции картера (PCV)обеспечивает снижение эмиссии в атмосферу углеводородных соединений за счет вывода картерных газов из блока цилиндров и сжигания их в процессе нормального функционирования двигателя. 
 
Принцип функционирования системы вентиляции картера (PCV) бензинового двигателя
 
  К числу основных компонентов системы относятся клапан PCV, герметично закрываемая крышка заливной горловины двигательного масла, впускной воздушный тракт и комплект соединительных вакуумных шлангов.
 При неполном открывании дроссельной заслонки, содержащиеся в двигателе картерные газы, по специальному шлангу через клапан PCV отводятся во впускной трубопровод за счет значительности глубины создаваемого в нем разрежения. Одновременно в картер двигателя по подсоединенному к крышке головки цилиндров шлангу запускается свежий воздух.
 При полностью открытой заслонке, когда глубина во впускном трубопроводе не очень велика, часть картерных газов по отдельному шлангу переправляется во впускной воздушный тракт и далее - в корпус дросселя.
 
|   | Со временем стенки корпуса дросселя начинают покрываться смолянистыми отложениями, в особенности в районе расположения заслонок. Ввиду сказанного, следует время от времени производить чистку дросселя. 
 |  Трехфункциональный каталитический преобразователь (TWC)
 
|   | В зависимости от комплектации в состав системы выпуска отработавших газов может входить один (европейские модели), либо два (американские модели) трехфункциональных каталитического преобразователя.
 |  Каталитический преобразователь(и) является компонентом системы снижения токсичности отработавших газов, включен в состав системы выпуска и служит для снижения эмиссии в атмосферу токсичных составляющих. Существует два типа каталитических преобразователей. Обычный окислительный преобразователь позволяет снизить содержание в отработавших газах углеводородов (НС) и монооксида углерода (СО). Трехфункциональный каталитический преобразователь (TWC) дополнительно позволяет сократить эмиссию окислов азота (NОх). На рассматриваемых в настоящем Руководстве бензиновых моделях используются трехфункциональные каталитические преобразователи. 
 Базовыми составляющими любого TWC являются платина (Pt), родий (Rh) и палладиум (Pd), смесь которых тонким слоем нанесена на имеющую форму овала сотовую конструкцию, либо пористую керамическую основу.
 
|   | Во избежание необратимого выхода катализатора из строя для заправки соответствующим образом оборудованных автомобилей следует использовать исключительно неэтилированное топливо!
 |  Максимальная эффективность функционирования каталитического преобразователя достигается при определенной концентрации в отработавших газах токсичных составляющих. Требуемый баланс достигается за счет контроля состава воздушно-топливной смеси, который система управления старается постоянно поддерживать вблизи значения, равного стехиометрическому числу.
 Система управления составом воздушно-топливной смеси
 ECM, на основании сигналов, непрерывно поступающих докаталитического лямбда-зонда(ов), производит соответствующие корректировки базового значения продолжительности открывания инжекторов с целью поддержания состава воздушно-топливной смеси вблизи стехиометрического значения (14.7 частей воздуха на 1 часть топлива), обеспечивающего оптимальные условия для функционирования трехфункционального каталитического преобразователя (TWC).
 
|   | Различные базовые значения времени открывания инжекторов предусмотрены для различных оборотов двигателя, текущих нагрузок и количества всасываемого воздуха.
 |  В системе также предусмотрена интеллектуальная корректировка текущих базовых значений, позволяющая в значительной мере повысить реактивность откликов на происходящие изменения.
 Система улавливания топливных испарений (EVAP)
 Общая информация
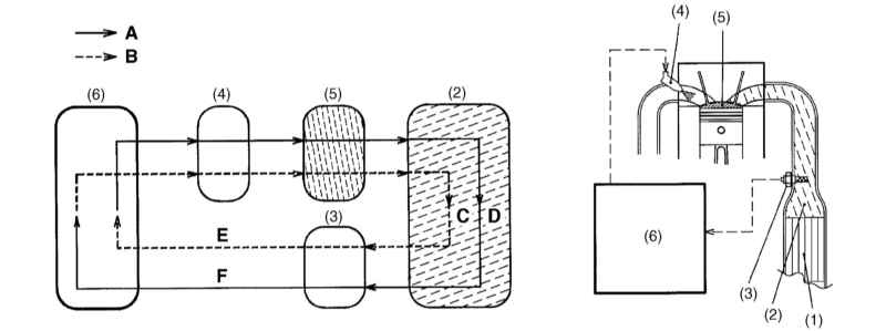
 Система EVAP аккумулирует скапливающиеся в топливном тракте за время стоянки автомобиля испарения в специальном, заполненным активированным углем адсорбере и обеспечивает вывод их во впускной тракт для сжигания в процессе нормального функционирования двигателя, предотвращая тем самым загрязнение атмосферы бензиновыми парами. Усовершенствование системы производится непрерывно по мере ужесточения требований предъявляемых к защите окружающей среды. 
 
Схема функционирования системы улавливания топливных испарений (EVAP) бензинового двигателя
 В состав системы входят отделитель топливных испарений, двухходовой контрольный клапан, угольный адсорбер, электромагнитный клапан управления продувкой адсорбера, соединительные линии и ECM. 
  Управление функционированием клапана продувки адсорбера осуществляет ECM, выбирая наиболее оптимальный для продувки момент, исходя из рабочих параметров двигателя, а также информации, поставляемой датчиками температуры и расхода топлива. 
 Электромагнитный клапан управления давлением включен в испарительную линию топливного бака и служит для контроля давления/разрежения в баке на основании сигналов, выдаваемых на ECM установленным в баке датчиком давления.
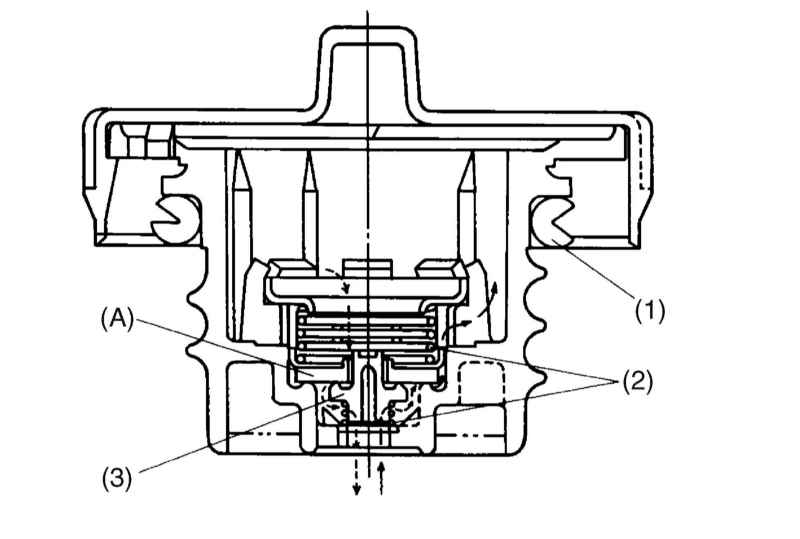
 Крышка заливной горловины топливного бака
 В нормальных условиях крышка закрывает горловину абсолютно герметично за счет резинового уплотнения, прижимаемого по всему периметру горловины, а также благодаря тому, что клапан (А) остается плотно прижатым пружиной к своему седлу. 
 
 
|   | Встроенный в крышку заливной горловины предохранительный клапан служит для предотвращения образования в баке чрезмерно глубокого разрежения вследствие нарушения проходимости испарительных линий.
 |  При возрастании глубины разрежения в баке атмосферное давление отжимает пружину вниз, что приводит к открыванию клапана. В результате давление выравнивается за счет того, что внутрь бака проникает наружный воздух.
 Угольный адсорбер
 Угольный адсорбер заполнен активированным углем, служит для временной аккумуляции топливных испарений и продувается по сигналу ECM при открывании специального электромагнитного клапана. Из адсорбера топливные испарения поступают во впускной трубопровод, после чего сжигаются в процессе нормального функционирования двигателя.
 Электромагнитный клапан управления продувкой угольного адсорбера 
 Клапан включен в испарительную линию, соединяющую адсорбер с впускным трубопроводом и расположен с нижней стороны трубопровода. Управление продувкой осуществляет ECM, опираясь на данные о текущих эксплуатационных параметрах (температура охлаждающей жидкости, обороты двигателя, скорость движения, и т.п.). Продувка производится при запущенном двигателе, за исключением определенных условий, таких, например, как работа на холостых оборотах.
 Двухходовой клапан 
 Двухходовой клапан включен в испарительную линию, соединяющую угольный адсорбер с топливным баком. Когда давление в баке превышает некоторое установленное значение, развиваемое клапанной пружиной усилие преодолевается и клапан открывается, при этом находящиеся в баке под давлением испарения отводятся в адсорбер, где аккумулируются в порах наполнителя. 
 При снижении давления клапан закрывается, однако воздух, проникающий в систему через входной порт адсорбера, продолжает проникать в бак через небольшое отверстие в торце клапана, предотвращая создание чрезмерного разрежения. 
 Вакуумный тракт
 Схема прокладки вакуумных линий приведена в правой секции информационного ярлыка VECI.
 Дизельные модели
 Общие сведения
 
Схема организации системы питания дизельного двигателя с электронным управлением впрыском
 
Схема размещения компонентов систем снижения токсичности отработавших газов дизельного двигателя в двигательном отсеке
 Управление двигателем, также как и на бензиновых моделях осуществляет электронный модуль (ECM), осуществляющий контроль дозировки и воспламенения подаваемой в камеры сгорания горючей смеси на основании сигналов, поступающих от различных информационных датчиков/датчиков-выключателей (ВМТ, ECT, давления наддува, оборотов ТНВД [Np], PNP [модели с АТ], активации К/В, положения педали газа и пр.). Установка фаз газораспределения осуществляется модулем управления через электронный ТНВД распределительного типа.
  В случае выявления отказов каких-либо компонентов системы ECM фиксирует в памяти процессора соответствующие цифровые коды (DTC), считывание которых может быть произведено с помощью специального сканера, подключаемого к расположенному в левом заднем углу двигательного отсека диагностическому разъему (DLC).
 Описание принципов формирования воздушно-топливной смеси приведено в Разделе 
Система питания дизельных двигателей.
 Система снижения токсичности отработавших газов состоит из двух подсистем: вентиляции картера (PCV), подмешивания отработавших газов (EGR), плюс к тому в систему выпуска включен окислительный каталитический преобразователь, призванный сократить эмиссию выброса в атмосферу окислов азота (NОх), монооксида углерода (СО) и углеводородов (НС).
 Система питания
 Дозирование топлива
 Основные требования
 Для достижения оптимального состава рабочей смеси топливный насос высокого давления (ТНВД) должен обеспечивать подачу топлива в двигатель под давлением 350 ÷ 2000 атм, - в соответствии с особенностями процесса сгорания дизтоплива - с максимальной точностью дозирования циклов впрыска. 
 Начало впрыска должно быть точно установлено по времени в пределах ± 1° поворота коленчатого вала с целью обеспечения оптимального соотношения между такими эксплуатационными параметрами двигателя, как расход топлива, уровень шумового фона и выброс токсичных компонентов.
 Регулирование момента начала впрыска осуществляется для того, чтобы можно было управлять началом процесса сгорания и компенсировать продолжительность распространения волн сжатия в топливопроводах.
 Системы электронного управления функционированием дизельных двигателей обладают интегральными функциями регулирования впрыска, обеспечивая изменение подачи топлива насосом в зависимости от частоты вращения коленчатого вала, нагрузки и рабочей температуры двигателя.
 Для управления нагрузкой и частотой вращения коленчатого вала используется только изменение цикловой подачи топлива; количество воздуха на впуске не дросселируется. Так как дизель на малых нагрузках при увеличении цикловой подачи топлива способен увеличивать частоту вращения до значений, значительно превышающих допустимые величины, важно иметь устройство, ограничивающее это увеличение. Кроме того, должен иметься также регулятор оборотов в режиме холостого хода.
 Процесс впрыскивания 
 При рассмотрении процесса впрыскивания в дизельных двигателях топливо нельзя считать несжимаемым, - все сопутствующие процессы следует рассматривать как динамические, отражающие главным образом акустические принципы.
 Кулачковый вал ТНВД, приводимый от коленчатого вала двигателя перемещает плунжеры насосной сборки, обеспечивая подачу топлива с созданием высокого давления в топливопроводах.
 Когда при повышении давления нагнетательный клапан открывается, волна уплотнения распространяется в направлении соответствующей форсунки со скоростью звука (порядка 1400 м/с). По достижении требуемого давления запорная игла рабочего сопла форсунки преодолевает усилие пружины, открывая проходное сечение, и топливо подается через распылительные отверстия в камеру сгорания двигателя. Процесс впрыскивания заканчивается с открытием сливного отверстия в гильзе плунжера. Давление в надплунжерной полости уменьшается, что приводит к закрытию нагнетательного клапана и, как следствие, снижению давления в топливопроводе до переделов, выбираемых из следующих условий: 
 
Запорная игла форсунки должна закрываться мгновенно, исключая утечку топлива;
Колебательные явления в топливопроводах не должны вызывать повторного открывания форсунки и становиться причиной кавитационных разрушений.
 Система впрыска топлива
 Система впрыска предназначена для точного дозирования топлива в любых режимах функционирования двигателя. 
 
Принцип управления количеством впрыска топлива (Q)
 
  Ступень низкого давления включает в себя топливный бак, топливный фильтр, насос подкачки, перепускной клапан и топливопроводы.
 К ступени высокого давления относится ТНВД с нагнетательным клапаном, создающим необходимое для впрыска давление), топливопроводы высокого давления и форсунки. Система электронного управления двигателя также содержит контрольный клапан (чаще электромагнитный, в перспективе – пьезоэлектрический).
 В рассматриваемых моделях используется ТНВД распределительного типа (VE) с электронным управлением, обеспечивающий раздачу топлива под высоким давлением к форсункам цилиндров двигателя в определяемые ECM моменты времени.
 Управление количеством впрыскиваемого топлива при запуске и входе прогрева двигателя 
 Во время запуска двигателя ECM обеспечивает управление количеством впрыскиваемого в камеры сгорания топлива, ориентируясь на показания датчика температуры охлаждающей жидкости (ECT).
 Контроль максимального количества впрыскиваемого топлива
  Максимальное количество впрыскиваемого в двигатель топлива определяется модулем управления на основании анализа информации, поступающей от датчиков CKP (обороты коленчатого вала) и давления наддува (количество подаваемого воздуха).
 Управление количеством впрыскиваемого топлива во время движения 
 Модуль управления определяет данный параметр основываясь на данных, поступающих от датчиков CKP и положения педали газа.
 Контроль оборотов холостого хода
 ECM стремится поддерживать стабильность оборотов холостого хода путем контроля вибрационных нагрузок (датчик детонации), оборотов двигателя (датчик CKP) и текущей нагрузки (датчик положения педали газа).
 Корректировка количества впрыска в зависимости от температуры топлива
  Основываясь на показаниях датчика температуры топлива, ECM осуществляет корректировку количества его впрыска.
 Автоматическое подавление девиаций (ADC) оборотов
 Модуль управления отслеживает частоту впрыска топлива в каждую из камер сгорания, подавляя вибрации, связанные с нарушением стабильности оборотов двигателя, определяемым девиацией данного параметра.
 Демпфирование резких бросков количества впрыска, связанных с изменением оборотов двигателя
  Данная функция позволяет снизить механические вибрации и минимизировать выброс черного дыма из системы выпуска при быстрых изменениях оборотов двигателя.
 Компенсация изменения высоты положения над уровнем моря
 ECM обеспечивает управление количеством и моментом впрыска в зависимости от изменений атмосферного давления.
 Управление количеством впрыска в зависимости от температуры всасываемого воздуха
 Основываясь на анализе информации о температуре всасываемого в двигатель воздуха, ECM осуществляет корректировку количества и момента впрыскиваемого в камеры сгорания топлива.
 Управление моментами впрыска
 ECM обеспечивает управление моментами впрыска топлива в камеры сгорания как во время запуска двигателя, так и во время движения), исходя из данных от температуре охлаждающей жидкости (датчик ECT), частоте вращения коленчатого вала (датчик CKP) и текущей нагрузке (датчик положения педали газа). Обратная связь осуществляется через датчик положения распределительного поршня ТНВД (TPS). 
 
Принцип организации автоматического подавления девиаций (ADC)
 
  
Принцип управления моментами впрыска (Т)
 
  Система снижения токсичности отработавших газов
 Система снижения токсичности отработавших газов дизельного двигателя состоит из трех подсистем: система управляемой вентиляции картера (PCV), система подмешивания отработавших газов (EGR) и окислительного каталитического преобразователя. 
 Система вентиляции картера (PCV)
 
Схема организации управляемой вентиляции картера (PCV) дизельного двигателя
 
  Система рециркуляции отработавших газов
 На рассматриваемых моделях организована схема внешней рециркуляции, когда некоторое контролируемое количество отработавших газов отводится из системы выпуска и подмешивается в камеры сгорания двигателя.
 
Схема организации системы рециркуляции отработавших газов (EGR) дизельного двигателя
 
  В результате такого подмешивания отработавших газов в рабочую смесь температура сгорания последней несколько снижается, что приводит к сокращению концентрации в выхлопе окислов азота (NОх).
 Управление рециркуляцией осуществляет ECM посредством двух клапанов (управляющего электромагнитного и исполнительного) и одного информационного датчика.
 Окислительный каталитический преобразователь
 В систему выпуска отработавших газов дизельных моделей включается каталитический преобразователь окислительного типа, обеспечивающий снижение концентрации выброса в атмосферу токсичных продуктов сгорания топлива за счет их дожигания (окисления) при контакте с металлизированным покрытием развитой поверхности рабочего элемента. 
 
 
 |