поиск в избранное карта сайта
  Mercedes-Benz РЕМОНТ ОБСЛУЖИВАНИЕ ЭКСПЛУАТАЦИЯ АВТОМОБИЛЕЙ
Мерседес-Бенц 163. Mercedes-Benz M-класса (W163, с 1997 года выпуска)

полные технические характеристики. диагностика. электросхемы
 
Главная
 
Mercedes-Benz
M-класса (W163)
1. Введение
2. Органы управления и приемы безопасной эксплуатации
3. Текущий уход и обслуживание
4. Двигатель
5. Системы охлаждения, отопления и воздушного кондиционера
6. Системы питания и выпуска отработавших газов
6.1. Система питания бензиновых двигателей
6.2. Система питания дизельных двигателей
6.3. Системы выпуска и снижения токсичности отработавших газов
6.3.1. Снятие и установка системы выпуска отработавших газов
6.3.2. Замена передних секций системы выпуска отработавших газов на бензиновых моделях
6.3.3. Снятие и установка каталитических преобразователей на дизельных моделях
6.3.4. Снятие и установка лямбда-зондов
6.3.5. Снятие и установка клапана EGR, - М112/113
6.3.6. Снятие и установка охладителя EGR, - дизельные модели
6.3.7. Снятие и установка воздушного насоса, - М112/113
6.3.8. Снятие и установка угольного адсорбера, - бензиновые модели
6.3.9. Снятие и установка расширительного резервуара аккумуляции топливных испарений, - соответствующим образом укомплектованные модели 163.113 / 154 / 128
7. Системы электрооборудования двигателя
8. Ручная коробка переключения передач
9. Автоматичеcкая трансмиссия
10. Трансмиссионная линия
11. Тормозная и вспомогательные системы
12. Подвеска и рулевое управление
13. Кузов
14. Бортовое электрооборудование
 


6.3.1. Снятие и установка системы выпуска отработавших газов

В случае необходимости каждая из секций системы выпуска отработавших газов может быть снята в индивидуальном порядке.

Бензиновые модели

М111

Детали установки компонентов системы выпуска отработавших газов на моделях 163.136 (двигатель серии 111)

7/2 — Хомут крепления задней секции
8/1 — Термозащитный экран
8/2 — Болты
9/1 — Резиновый подвес

10 — Кронштейн подвески системы выпуска отработавших газов на картере трансмиссии
11/1 — Болты
11/2 — Гайки
158 — Каталитический преобразователь


 ПОРЯДОК ВЫПОЛНЕНИЯ

  1. Детали установки компонентов системы выпуска отработавших газов на моделях 163.136 (двигатель серии 111) показаны на иллюстрации, к которой относятся все встречающиеся в тексте ссылки.
  2. Снимите термозащитный экран (8/1).
  3. Отпустите хомут (7/2) крепления задней секции системы выпуска, - хомут приварен к соединительному патрубку секции.
  4. Снимите заднюю секцию системы с резиновых подвесов (9/1), оцените состояние последних, в случае необходимости произведите замену.
  5. Отделите переднюю секцию системы выпуска от задней.
  6. Снимите заднюю секцию и визуально оцените состояние термозащитных экранов днища автомобиля.
  7. Подоприте трансмиссию и снимите заднюю опору подвески силового агрегата (см. Главу Двигатель).
  8. Отдайте гайки (11/2) на опорном кронштейне (10), - гайки подлежат замене в обязательном порядке.
  9. Снимите переднюю секцию системы выпуска с резиновых подвесов (9/1), вышедшие из строя подвесы замените.
  10. Выверните болты (11/1) фланца соединения приемной трубы с выпускным коллектором, - в случае необходимости замените коллекторные гайки.
  11. Снимите переднюю секцию в сборе с каталитическим преобразователем (158) и визуально оцените состояние термозащитных экранов днища автомобиля.
  12. Установка производится в обратном порядке.

Утилизация вышедших из строя каталитических преобразователей должна производиться с соблюдением законодательных норм!

М112/113 (кроме ML 55 AMG)

Детали установки компонентов системы выпуска отработавших газов на моделях с двигателями серий 112 и 113, кроме ML 55 AMG

7/2 — Хомуты крепления задней секции
8/1 — Термозащитный экран
8/2 — Болты
9/1 — Резиновый подвес
11/1 — Болты
11/2 — Гайки
158 — Каталитический преобразователь
G3/3 — Левый докаталитический лямбда-зонд

G3/3х1 — Контактный разъем электропроводки левого докаталитического лямбда-зонда
G3/4 — Правый докаталитический лямбда-зонд
G3/4х1 — Контактный разъем электропроводки правого докаталитического лямбда-зонда
G3/5 — Левый посткаталитический лямбда-зонд
G3/5х1 — Контактный разъем электропроводки левого посткаталитического лямбда-зонда
G3/6 — Правый посткаталитический лямбда-зонд
G3/6х1 — Контактный разъем электропроводки правого посткаталитического лямбда-зонда


 ПОРЯДОК ВЫПОЛНЕНИЯ

  1. Детали установки компонентов системы выпуска отработавших газов на моделях, оборудованных двигателями серий 112 и 113 (кроме ML 55 AMG), показаны на иллюстрации, к которой относятся все встречающиеся в тексте ссылки.
  2. Поддомкратьте передок автомобиля и установите его на подпорки.
  3. Снимите торсионные пружины передней подвески (см. Главу Подвеска и рулевое управление).
  4. Отсоедините электропроводку от датчиков.
  5. Снимите термозащитный экран (8/1).
  6. Отпустите хомуты (7/2) крепления задней секции системы выпуска.
  7. Снимите заднюю секцию с подвесов (9/1), - вышедшие из строя подвесы замените.
  8. Отделите заднюю секцию от передних и извлеките ее из-под автомобиля.
  9. Визуально оцените состояние термозащитных экранов днища, дефектные компоненты замените.
  10. Отдайте гайки (11/2) крепления передних секций системы выпуска, - гайки подлежат замене в обязательном порядке.
  11. Выверните болты (11/1) фланцев соединения приемных труб с выпускными коллекторами, - в случае необходимости замените коллекторные гайки.
  12. Снимите передние секции в сборе с каталитическими преобразователями.
  13. Установка производится в обратном порядке.

Утилизация вышедших из строя каталитических преобразователей должна производиться с соблюдением законодательных норм!

Модели ML 55 AMG

Детали установки компонентов системы выпуска отработавших газов на моделях ML 55 AMG

6 — Гайка
12 — Болт

13 — Гайка
14 — Передние секции системы выпуска


 ПОРЯДОК ВЫПОЛНЕНИЯ

  1. Детали установки компонентов системы выпуска отработавших газов на моделях ML 55 AMG показаны на иллюстрации, к которой относятся все встречающиеся в тексте ссылки.
  2. Отпустите хомут (1) крепления задней секции системы выпуска, - хомутная гайка подлежит замене в обязательном порядке.
  3. Снимите заднюю секцию в сборе с глушителем (2), оцените состояние резиновых подвесов (3 и 4), замените вышедшие из строя компоненты.
  4. Отсоедините от главного глушителя (8) шину заземления (7).
  5. Отпустите приваренные хомуты (9) крепления глушителя (8), - хомутные гайки (13) подлежат замене в обязательном порядке.
  6. Отделите глушитель от передних секций системы выпуска отработавших газов и извлеките его из-под автомобиля, - поврежденные подвесы (10 и 11) замените.
  7. Отделите от выпускных коллекторов и снимите передние секции системы выпуска отработавших газов.
  8. Установка производится в обратном порядке.

Утилизация вышедших из строя каталитических преобразователей должна производиться с соблюдением законодательных норм!

Дизельные модели

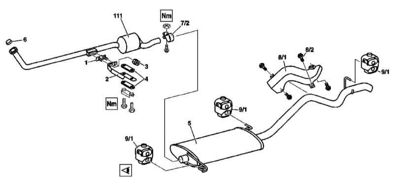
М612

Детали установки компонентов системы выпуска отработавших газов на моделях 163.113 (двигатель серии 612)

1 — Резьбовая пластина
2 — Кронштейн подвески системы выпуска отработавших газов на картере трансмиссии
3 — Самоконтрящаяся гайка
4 — Резиновый подвес
5 — Задняя секция с глушителем
6 — Уплотнительный конус

7/2 — Крепежный хомут
8/1 — Термозащитный экран
8/2 — Болты
9/1 — Резиновый подвес
111 — Трехфункциональный каталитический преобразователь (TWC)


 ПОРЯДОК ВЫПОЛНЕНИЯ

  1. Детали установки компонентов системы выпуска отработавших газов на моделях 163.113 (двигатель серии 612) показаны на иллюстрации, к которой относятся все встречающиеся в тексте ссылки.
  2. Снимите нижнюю секцию шумоизоляции.
  3. Снимите термозащитный экран (8/1).
  4. Отпустите приваренный к соединительному патрубку крепежный хомут (7/2), отделите заднюю секцию (5) системы выпуска от передней и извлеките ее из-под автомобиля.
  5. Визуально оцените состояние термозащитных экранов днища, вышедшие из строя элементы замените.
  6. Отпустите пружинное соединение крепления первичного каталитического преобразователя к трехфункциональному (TWC - 111), - уплотнительный конус (6) при сборке подлежит замене в обязательном порядке.
  7. Отдайте гайки (3) опорного кронштейна (2), - гайки подлежат замене в обязательном порядке.
  8. Подперев переднюю секцию системы выпуска отработавших газов домкратом, отболтите опорный кронштейн (2) от картера трансмиссии.
  9. Извлеките переднюю секцию системы выпуска в сборе с TWC (111) из-под автомобиля и визуально оцените состояние термозащитных экранов днища, - дефектные компоненты замените.
  10. Установка производится в обратном порядке.

Утилизация вышедших из строя каталитических преобразователей должна производиться с соблюдением законодательных норм!

М628

Информация не приведена.

Устанавливаемая в качестве опции выпускная труба пакета AMG, - все модели, кроме ML 55 AMG

Детали установки опционной выпускной трубы пакета AMG, - все модели, кроме ML 55 AMG

А = 140 мм

В = Не менее 15 мм


 ПОРЯДОК ВЫПОЛНЕНИЯ

  1. Детали установки опционной выпускной трубы пакета AMG для всех моделей, кроме ML 55 AMG показаны на иллюстрации, к которой относятся все встречающиеся в тексте ссылки, - действуйте в порядке, указанном на иллюстрации.
  2. Снимите систему выпуска отработавших газов (см. выше), вышедшие из строя компонента замените.
  3. Отпилите выпускную трубу стандартной комплектации на расстоянии А = 140 мм от центра сварного шва, в районе изменения диаметра патрубка (стрелка).
  4. Обрежьте шпильки подвесных колец (стрелки).
  5. Наклеив на накладку заднего бампера в районе расположения декоративной крышки буксировочной проушины самоклеящуюся фольгу (стрелка), сделайте по ее контуру вырез в нижней юбке, - выпускная труба должна свободно поместиться в вырезе.
  6. Обработайте края выреза наждачной бумагой и покройте их лаком.
  7. Закрепите на задней секции системы выпуска отработавших газов приобретенную насадку из пакета AMG, - нахлест крепежного хомута должен составлять не менее 50 мм.
  8. Установите систему выпуска отработавших газов и удостоверьтесь, что выпускная насадка располагается параллельно днищу на расстоянии не менее 15 мм ниже среза юбки.


« предыдущая страница
6.3. Системы выпуска и снижения токсичности отработавших газов
^
к оглавлению
следующая страница »
6.3.2. Замена передних секций системы выпуска отработавших газов на бензиновых моделях

Copyright © 2026 Все права защищены. Все торговые марки являются собственностью их владельцев.