поиск в избранное карта сайта
  Nissan РЕМОНТ ОБСЛУЖИВАНИЕ ЭКСПЛУАТАЦИЯ АВТОМОБИЛЕЙ
Ниссан Террано 2. Nissan Terrano II (с 1985 по 1999 года выпуска)

полные технические характеристики. диагностика. электросхемы
 
Главная
 
Nissan
Terrano II
1. Инструкция по эксплуатации и техническому обслуживанию
2. Техническое обслуживание автомобиля
3. Четырехцилиндровыв двигатели
4. Двигатели VS
5. Все двигатели
5.1. Общие сведения
5.2. Проверка компрессии в цилиндрах двигателя
5.3. Демонтаж силового агрегата - меры безопасности
5.4. Двигатель - снятие и установка
5.5. Капитальный ремонт двигателя -общие сведения
5.6. Восстановление двигателя -альтернативы
5.7. Капитальный ремонт двигателя - порядок разборки
5.8. Головка блока цилиндров - разборка.
5.9. Головка блока цилиндров-очистка и проверка состояния
5.10. Головка цилиндров - сборка
5.11. Шатунно-поршневая группа-демонтаж
5.12. Коленвал - демонтаж
5.13. Блок цилиндров - очистка
5.14. Блок цилиндров - проверка состояния
5.15. Шатуны и поршни - проверка состояния
5.16. Коленвал- проверка состояния
5.17. Коренные и шатунные подшипники - проверка и подбор
5.18. Капитальный ремонт двигателя-порядок сборки
5.19. Поршневые кольца- установка
5.20. Коленвал- монтаж и проверка зазоров коренных подшипников
5.21. Задний сальник - установка
5.22. Шатуны и поршни - установка и проверка зазоров в шатунных подшипниках
5.23. Пуск двигателя после ремонта и обкатка
6. Системы охлаждения, отопления, вентиляции и кондиционирования
7. Топливная и выхлопная системы
8. Система электрооборудования двигателя
9. Система снижения токсичности выхлопных газов
10. Механическая коробка передач
11. Автоматическая коробки передач
12. Сцепление карданный вал и задний мост
13. Ходовая часть автомобилей с колесной формулой 4x4
14. Тормозная система
15. Подвески и рулевое управление
16. Кузов и элементы отделки
17. Система электрооборудования
 


5.20. Коленвал- монтаж и проверка зазоров коренных подшипников

1. Расположите блок так, чтобы нижняя часть была обращена вверх. На 4-цилиндровых двигателях установите маслоотделитель с сеткой (фото).

19.8б  Установка  маслосъемного диска
19.8б  Установка  маслосъемного диска


19.10б Установка поршневых колец с помощью экспандера
19.10б Установка поршневых колец с помощью экспандера


2. Выверните болты крышек, достаньте крышки и разложите их в порядке их установки.
Достаньте из крышек и блока цилиндров вкладыши старых коренных подшипников и протрите крышки и постели начисто.
3. Очистите наружную поверхность новых коренных вкладышей, имеющих масляные канавки, и вложите их в постели  блока  цилиндров. Соответствующие  ответные вкладыши вложите в крышки. Убедитесь, что выступ на вкладыше совпадает с выборкой на блоке или на крышке, Кроме того, отверстие масляного канала в постели блока цилиндров должно совместиться с отверстием во вкладыше (фото).

Внимание!
Не допускаются установка вкладыша по мест, ударами молотка, а также нанесение царапин при установке.
На данном этапе вкладыш не смазывать.


4. На двигателях V6 вкладыш с буртиком устанавливается в задние крышку и постель блока цилиндров, на 4-цилиндровых двигателях такой вкладыш устанавливается в среднюю крышку.

20.1 На 4-цилиндровых двигателях перед сборкой установите маслоотделитель с сеткой
20.1 На 4-цилиндровых двигателях перед сборкой установите маслоотделитель с сеткой


5. Установите коленвал и измерьте зазоры в коренных вкладышах. Для этого положите по отрезку калибровочной проволоки на каждую коренную шейку коленвала параллельно его оси (фото). Очистите поверхности вкладышей в крышках, установите крышки и затяните болты в три приема с заданным моментом в указанной последовательности (фото). Отверните болты и осторожно поднимите крышки, сравните толщину каждой из раздавленных проволок со шкалой на упаковке и определите величину зазора (фото).
6. Если зазор не соответствует норме, то причиной может   быть   неправильный   подбор   размерной   группы вкладышей. Убедитесь, что при измерениях между подшипниками и поверхностями крышек отсутствовали-загрязнения или масло. Если ширина раздавленной проволоки по концам сильно отличается, то коренная шейка коленвала имеет конусность.
7. Удалите с шеек остатки проволоки и снимите коленвал.
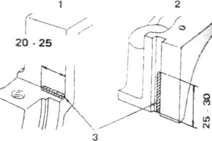
8. Смажьте коренные шейки коленвала и установите в блок цилиндров. Установите крышки на прежние места так, чтобы стрелки были обращены в сторону передней части двигателя. На 4-цилиндровых двигателях задняя крышка устанавливается на герметике (фото).
20.5б Последовательность затягивания болтов крышек коренных подшипников на 4-цилиндровых двигателях
20.5б Последовательность затягивания болтов крышек коренных подшипников на 4-цилиндровых двигателях


20.3 Вкладыши в блоке цилиндров
20.3 Вкладыши в блоке цилиндров


20.5а Отрезки калибровочной проволоки для измерения зазоров в коренных подшипниках
20.5а Отрезки калибровочной проволоки для измерения зазоров в коренных подшипниках


20.5в Последовательность затягивания болтов крышек на двигателях V6
20.5в Последовательность затягивания болтов крышек на двигателях V6


20.5г Определение зазора в коренных подшипниках
20.5г Определение зазора в коренных подшипниках


9. Затяните болты в три приема с заданным моментом.
10. Установите направляющий подшипник в коленвал (на а/м с механической КПП).
11. Проверьте свободу вращения коленвала.
12. Проверьте осевой люфт коленвала (см. выше).
13. На 4-цилиндровых двигателях установите боковые уплотнители (фото).

20.8 Установка задней крышки на 4-цилиндровых двигателях 1. Блок цилиндров 2. Задняя крышка 3. Места нанесения герметика
20.8 Установка задней крышки на 4-цилиндровых двигателях 1. Блок цилиндров 2. Задняя крышка 3. Места нанесения герметика


« предыдущая страница
5.19. Поршневые кольца- установка
^
к оглавлению
следующая страница »
5.21. Задний сальник - установка

Copyright © 2026 Все права защищены. Все торговые марки являются собственностью их владельцев.